Отопление дома - Страница 3
Такая система однотрубного типа с трудом поддается регулированию температуры, поскольку в ней используется всего одна труба или стояк. При установке регулировочного крана у нагревательных приборов, перекрывая кран у того или иного прибора, практически уменьшают подачу воды во все приборы, присоединенные к стояку. Если же полностью закрыть один из кранов, то можно прекратить циркуляцию воды через все приборы. Но установка нагревательных приборов без регулировочных кранов влечет за собой большие неудобства, поскольку невозможно регулировать температуру воздуха в отдельных помещениях. В некоторых случаях проблему неравномерного нагревания радиаторов можно решить путем увеличения количества секций для плохо прогреваемых радиаторов. Следует учитывать, что для создания однотрубной системы можно использовать отопительные приборы, обладающие малым гидравлическим сопротивлением. Для увеличения скорости циркуляции теплоносителя на входе холодной воды можно установить циркуляционный насос. Нужно отметить, что схемы систем отопления частного дома с естественной циркуляцией актуальны лишь тогда, когда существует возможность установки котла ниже уровня расположения в одноэтажном доме с подвалом или цокольным этажом. Установка насоса в однотрубной системе сделает ее более эффективной, ликвидирует ряд недостатков, а также позволит ставить котел в любом удобном месте.
При монтаже отопления своими руками простая однотрубная система должна включать следующие элементы:
• отопительный котел;
• расширительный бак;
• отопительные приборы (радиаторы);
• фильтр;
• циркуляционный насос.
При монтаже отопления в небольшом одноэтажном доме можно не использовать циркуляционный насос.
При проектировании водяного отопления в двухэтажном частном доме имеет смысл сразу ориентироваться на двухтрубную систему отопления. Эта система предполагает наличие отдельных стояков, используемых для подачи горячей воды, и другие стояки для отвода охлажденной воды. В этой системе вода циркулирует вверх, перераспределяясь по радиаторам. Остывая в них, вода обратным самотеком идет в котел по отдельным трубам.
При двухтрубной системе отопления теплоноситель подводится к каждому отопительному прибору по одной трубе, а отводится по другой. Этот принцип устройства позволяет осуществлять параллельное, независимое подсоединение нагревательных приборов.
Двухтрубная система позволяет поддерживать малые рабочие давления, благодаря чему увеличивается срок службы коммуникаций. В ней можно использовать тонкостенные радиаторы, которые стоят дешевле. Такие схемы отопления широко распространены в странах Западной Европы.
Недостатки двухтрубной системы заключаются в сложности ее установки и в большом расходе труб, поскольку она оснащена трубопроводом, в 2,5 раза более длинным по сравнению с однотрубной системой.
Для монтажа отопления с применением двухтрубной системы требуются примерно те же элементы, что и для однотрубной системы, только самих труб надо заготовить значительно больше.
Кустовая схема отопительной системы
В настоящее время помещения обогревают, используя различные вариации отопительных систем, которые работают по принципу двухтрубной циркуляции теплоносителя.
Одной из таких систем является кустовая схема. Свое название она получила из-за своеобразного расположения отопительных приборов, чем-то напоминающего стенную печь, обогревающую своими поверхностями различные помещения. Другими словами, отопительные батареи располагают на стыке смежных углов как минимум трех комнат, что позволяет добиться малого расхода теплоносителя.
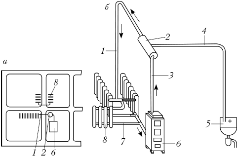
Двухтрубная циркуляция теплоносителя осуществляется за счет прокладки основных, «горячих» и обратных труб на уровне отопительных батарей (рис. 4).

Рисунок 4. Кустовая схема: а – вид на плане сверху; б – вид сбоку. Основные элементы системы: 1) распределительный стояк; 2) расширительный бак; 3) основной подающий стояк; 4) переливная труба; 5) раковина; 6) котел; 7) обратные трубы охлажденной воды; 8) отопительные приборы (радиаторы)
Чаще всего кустовую схему используют в южных регионах, здесь можно достичь нужной температуры обогрева помещений при сравнительно небольшом расходе энергоносителя. Эту систему также можно использовать для отопления частных домов одноэтажной застройки в некоторых регионах Средней полосы России. В частном доме обратную линию удобнее прокладывать на уровне, если на пути прокладки отсутствуют дверные проемы. Однако двери можно обойти за счет применения трубы в виде буквы «П» или проложить обратную трубу (полностью или частично) под полом. При прокладке трубы под полом не рекомендуется ставить на подпольном отрезке соединительные элементы, так как они недоступны для визуального осмотра. Кроме того, подпольный участок труб следует утеплить, чтобы предупредить возможное его промерзание зимой.
Участок верхней разводки, подающей горячую воду, можно закрепить вдоль стен, выдержав примерное расстояние 40 – 50 см от потолочного перекрытия. Такая разводка несколько портит интерьер помещения, хотя в какой-то степени проложенная труба увеличивает площадь отопительного прибора. Для сохранения хорошего вида помещения можно поместить трубы горячей разводки на чердаке, предварительно тщательно их утеплив. Однако некоторые недостатки присутствуют и в этом варианте расположения труб, поскольку он несколько увеличивает потери тепла через стены и перекрытия, а в потолке необходимо проделать небольшие отверстия для проводки труб.
Если же этажность частного дома – это два и более этажа, то кустовая схема отопления не обеспечит эффективного обогрева всех жилых помещений.
Трубы отопительной системы
Трубы являются одним из важнейших элементов системы водяного отепления, без них невозможно нормальное функционирование отопительных приборов. Во многом от качества труб зависят эксплуатационные сроки системы отопления и стоимость ее организации.
Прежде чем приступить к монтажу отопления собственного дома, необходимо тщательно утеплить дом, иначе произведенные калории будут просто отапливать улицу, что существенно снизит эффективность системы в целом и приведет к увеличению расходов.
Рынок строительных материалов в наше время предлагает множество образцов трубной продукции, обладающих различными техническими характеристиками, в которых имеются и положительные, и отрицательные качества.
Трубы для монтажа системы индивидуального отопления жилого дома могут быть: стальные, медные, металлопластиковые и полимерные. Выбирая трубы для отопления, каждый потребитель сначала интересуется ценой, а затем их техническими характеристиками. При выгодном соотношении цены и качества покупка окажется идеальным приобретением.
Стальные трубы
Стальные трубы для отопления более других привычны для современного пользователя. Считается, что стальные трубы обладают долгим сроком эксплуатации и большой надежностью. Действительно, технология изготовления обеспечивает им жесткость, высокую механическую устойчивость и прочность.
Стальные трубы бывают цельнотянутые и сварные. Соединение стальных труб методом сварки очень прочно и устойчиво. Согласно данным Госстроя РФ, во внутренних системах отопления срок службы оцинкованных стальных труб в среднем составляет 12 – 16 лет, а не оцинкованные, черные, трубы служат вдвое меньше.
Стальные трубы легко выдерживают гидравлические удары. Они обладают отличной теплопроводностью, низкий коэффициент расширения при изменении температур позволяет замуровывать стальные трубы для водяного отопления в стены. Высокая теплопроводность допускает использование стальных труб при создании лучистых форм систем водяного отопления.
Стальные трубы являются самым оптимальным вариантом для бюджета, они обходятся дешевле, чем прочие. В городских домах стальные трубы имеют широкое распространение именно по причине своей относительно низкой стоимости.