Отопление дома - Страница 2
• однотрубные и двухтрубные по способу присоединения нагревательных приборов к подающим стоякам;
• на системы с вертикальными и горизонтальными стояками в зависимости от их расположения;
• на системы с тупиковой схемой и попутным движением воды в магистралях по схеме прокладки магистрали.
В частном доме можно установить системы отопления двух типов: однотрубные и двухтрубные, а также отопительные системы с применением коллекторов, радиаторов (батареи) и регистров. Каждая система имеет свои недостатки и достоинства.
Для того чтобы облегчить домовладельцам выбор предельно рациональной системы отопления, принята определенная классификация индивидуальных домов и коттеджей в зависимости от формы крыши и этажности:
• одноэтажные дома с подвалом или без подвала, но с крутой крышей, отнесены к типу А;
• одноэтажные дома с подвалом или без подвала, но с плоской крышей, отнесены к типу Б;
• многоэтажные дома (2 этажа и более) с плоской или крутой крышей, с обязательным подвалом отнесены к типу В.
Для одноэтажных домов типа А с крутой крышей допустимо применять только вертикальное централизованное водяное отопление, поскольку система с горизонтальной разводкой не способна обогреть чердачное помещение с круто падающей крышей. В таких домах с подвалом или без него желательно применять двухтрубную систему водяного отопления с естественной циркуляцией с верхней или нижней разводкой. При наличии подвала и установке в нем котла, высота дымовой трубы должна достигать 10 м и больше. При отсутствии подвала котел полагается ставить на первом этаже, а систему выполнять только с верхней разводкой.
Для одноэтажных домов типа Б с плоской крышей с подвалом следует использовать систему с горизонтальной разводкой и установкой котла в подвале. Высота трубы таких домов обычно не превышает 4 – 6 м, поэтому топливо желательно применять жидкое. Газовый котел не принято ставить в подвале.
В домах типа Б, но без подвалов, также следует применять систему с горизонтальной разводкой. Поскольку котел устанавливают на первом этаже не заглубленный, то можно использовать газ или жидкое топливо.
В двухэтажных домах имеет смысл применять двухтрубную систему водяного отопления с вертикальными стояками с верхней или нижней разводкой. При использовании горизонтальной разводки невозможен обогрев всех помещений дома.
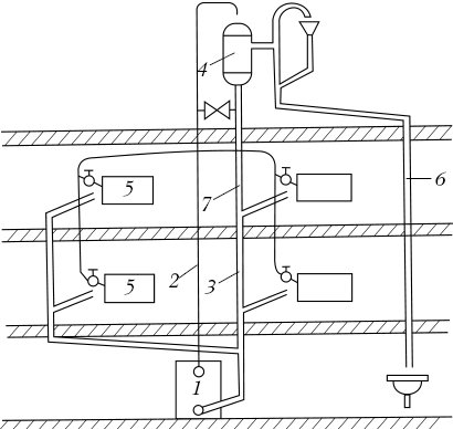
Системы отопления с верхней и нижней разводкой отличаются способом подачи теплоносителя, разницу между ними можно понять на примере двухэтажного дома с подвалом и чердачным помещением. При верхней разводке горячая вода поступает в расширительный бак, который установлен в чердачном помещении. Из бака она устремляется в различные стояки, поступая по ним к нагревательным приборам-радиаторам (рис. 1).

Рисунок 1. Верхнее распределение воды в двухтрубной системе водяного отопления с естественной циркуляцией: 1) котел; 2) главный (подающий) стояк; 3) трубопровод обратной воды; 4) расширительный бак; 5) радиатор отопления; 6) переливное устройство; 7) предохранительный трубопровод
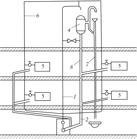
При нижней разводке горячая вода непосредственно из котла поступает в стояки снизу, из подвала (рис. 2).

Рисунок 2. Нижнее распределение воды в двухтрубной системе водяного отопления с естественной циркуляцией: 1) главный подающий стояк; 2) трубопровод обратной воды; 3) котел; 4) расширительный бак; 5) радиатор отопления; 6) воздушная труба; 7) переливное устройство; 8) предохранительный трубопровод
Расширительный бак положено всегда устанавливать в самой высокой точке отопительной системы, т. е. в чердачном помещении. Тип разводки (верхний или нижний) на местоположении расширительного бака не никак отражается.
Печное отопление обладает двумя недостатками – это трудоемкость и сильный перепад температур. Печь можно заменить электрическим или газовым котлом, лишенными этих недостатков. Однако они имеют свои недостатки – прекращение выработки тепла при возможных перебоях в подаче энергии или газа.
Поскольку наиболее интенсивная циркуляция жидкости происходит при большом (около 3 м) перепаде высот между котлом и нагревательными приборами, поэтому все домовладельцы стремятся поместить котел в цокольном этаже или подвале. Однако в этом случае нельзя использовать газ для отопления котла – подводка газа в подвальные помещения категорически запрещена.
Если в одноэтажном доме отсутствует подвал, то котел системы отопления, использующей естественную циркуляцию жидкости, приходится располагать на уровне первого этажа, что позволяет применять газ для нагрева теплоносителя (рис. 3).

Рисунок 3. Система водяного отопления, где котел расположен на уровне первого этажа: 1) котел; 2) нагреватель; 3) сливной кран; 4) общая магистраль; 5) радиаторы отопления; 6) стояки; 7) разводящая магистраль; 8) расширительный бак; 9) главный стояк; 10) труба для перелива
Расширительный бак этой системы отопления установлен в самой высшей точке дома, вертикально над котлом. Примерный объем такого бака составляет 20 – 30 л, для его изготовления можно использовать кусок трубы диаметром 20 – 30 см. Для надежной и безопасной работы расширительный бак лучше снабдить поплавковым сигнализатором уровня.
В ходе проектирования водяного отопления в частном доме его владельцу приходится самостоятельно выбирать тип водонагревателя, число и тип нагревательных приборов, диаметры труб и т. п. По этим вопросам желательно получить грамотную консультацию специалистов. Также специалистам нужно поручить выполнение точного расчета всей отопительной системы дома, поскольку те таблицы и графики, которые приводятся в различных справочных изданиях, пригодны лишь для весьма приблизительных оценок.
Результаты расчетов во многом зависят от величины потерь тепла при отоплении помещений, эти величины очень индивидуальны. Ведь в каждом конкретном доме различная теплоизоляция стен, пола, потолка и других объектов, влияющих на потери тепла. Качество теплоизоляции может существенно изменить объем потерь.
Выбор системы отопления во многом зависит от типа самого дома, а также от возможности подведения газа и воды. В тех домах, где имеется подводка природного газа, специалисты рекомендуют использовать газовые водонагреватели различной мощности.
При отсутствии возможности подведения газа, если существует надежная линия подводки электроэнергии, можно использовать электронагреватели. Нагреватели тепловой мощностью от 7 кВт позволяют обогревать площадь от 60 м2 и больше, их можно использовать одновременно для отопления и горячего водоснабжения. Специалисты рекомендуют выбирать такую систему отопления, которая способна исправно работать и от электрического котла, и от обычной печи на твердом топливе при аварийном прекращении подачи электроэнергии. Желательно предусмотреть возможность работы системы одновременно от электрического котла и печи во время очень сильных морозов. Ведь надежная система должна при любых холодах уверенно отапливать требуемый объем помещений.
Однотрубная или двухтрубная система отопления
Систему водяного отопления можно организовать при помощи однотрубной и двухтрубной системы обвязки.
Однотрубная система проще в установке, более красива внешне, она быстрее прогревается. На устройство однотрубной системы уходит намного меньше труб, чем на организацию двухтрубной системы. Поэтому многие домовладельцы, монтируя водяное отопление своими руками, выбирают именно эту систему.
Однотрубная система отличается тем, что в ней отопительные приборы (радиаторы) подключаются последовательно. Однако эта схема соединения не лишена своих недостатков. Однотрубную систему отопления нужно выполнять только с верхней разводкой, поэтому ее можно применять в домах, где имеются чердаки. Теплоноситель в однотрубной системе к каждому последующему радиатору приходит холоднее, чем к предыдущему. Иначе говоря, температура каждого радиатора определяется степенью его удаленности от источника тепла. Радиаторы, близко расположенные к котлу, будут всегда горячее, чем те, что находятся в последней от него обвязке.