От «Добрыни Никитича» до «Отто Шмидта» Ледоколы проекта 97 и их модификации - Страница 6
Судовые системы, устройства и оборудование
Креновая система обеспечивает автоматическую перекачку балласта с борта на борт примерно за 2 минуты, при этом угол крена составляет не менее 5°.
Дифферентная система даёт возможность изменить осадку носом или кормой не менее чем на 1 м за 12 минут. Управление обеими системами – централизовано.
Для оказания противопожарной помощи другим судам или береговым объектам предусмотрены три лафетных ствола, установленных на ходовом мостике.
Остальные системы выполнены в соответствии с Правилами Регистра.
Ледокол снабжён обтекаемым рулём, который представляет собой лито-свар- ную прочную раму, обшитую листовой сталью. Рулевая машина электрогидравлическая РЭГЗ-6 с ручным приводом. В корме имеется буксирный вырез, оборудованный привальными брусьями и кранцами.
Для буксировки судов предусмотрена двухбарабанная автоматическая электролебёдка с тяговым усилием 25 т на главном и 10 т на вспомогательном барабанах.




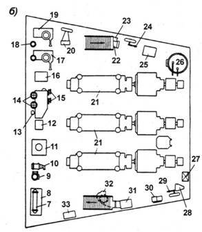
Схема расположения энергетической установки ледокола типа «Василий Прончищев» (а – отделение носового гребного электродвигателя; б – отделение вспомогательных механизмов; в – отделение главных дизель-генераторов; г – отделение кормовых гребных электродвигателей):
1 – ручной маслоперекачивающий насос; 2 – гребные электродвигатели; 3 – валоповоротные устройства; 4 – упорные подшипники; 5 – электронасос холодильной установки; 6 – сточная масляная цистерна; 7 – охладитель конденсата; 8 – сборная цистерна для конденсата; 9 – электронасос забортной воды; 10 – электронасос для перекачки конденсата; 11 – электронасос для лафетных стволов; 12 – конторка подвесная; 13 – бачок для замера расхода топлива; 14 – баллоны пускового воздуха; 15 – насосы забортной воды; 16 – топливоперекачивающий насос; 17 – подогреватель масла; 18 – подогреватель топлива; 19 – сепаратор топлива; 20 – воздухонагреватель; 21 – вспомогательные дизель-генераторы; 22 – перекачивающий электронасос; 23 – дежурный насос котельного топлива; 24 – ручной топливный насос; 25 – осушительный насос; 26 – сепаратор трюмных вод; 27-ручная цистерна дизельного масла; 28 – воздухонагреватель; 29 – ручной маслоперекачивающий насос; 30 – маслоперекачивающий электронасос; 31 – станция управления насосом; 32 – дифферентный насос; 33,34 – электрические распределительные щиты; 35 – воздухоохладители генераторов; 36 – креновый насос; 37 – ящики сопротивлений; 38 – электронасосы воздухоохладителей генераторов; 39 – главные дизель-генераторы; 40 – электронасос для заполнения расходных топливных цистерн; 41 – фильтры грубой очистки масла; 42 – охладители пресной воды главных двигателей; 43 – фильтры тонкой очистки масла; 44 – воздухонагреватель; 45 – маслоохладители; 46 – антишумовая кабина; 47 – насос фильтра топливной очистки; 48 – баллоны пускового воздуха; 49 – осушительный электронасос; 50 – дифферентный насос; 51 – электронасос пресной воды; 52 – электронасосы забортной воды
Основные технические характеристики ледокола проекта 97
Длина наибольшая, м 67,7
Длина между перпендикулярами,
Ширина наибольшая/по KBJI, м 18,06/17,5
Высота борта до главной палубы,
Водоизмещение порожнего, т 2055
Водоизмещение с полными запасами по летнюю грузовую марку в 2935
морской воде, т
Валовая регистровая вместимость, рег.т 2305
Осадка порожнего носом/кормой/средняя, 4,75/4,41/4,58
Осадка в полном грузу по летнюю грузовую марку в морской воде 61/5 35
носом/кормой/средняя, м '
Мощность энергетической установки, л.с. 5400
Скорость свободного хода, уз . 15
Район плавания неограниченный
Дальность плавания при скорости 13 уз., миль 5700
Полный запас дизельного топлива, 512,5
Суточный расход топлива на стоянке/на ходу, т 4/25
Автономность плавания, суток 17
Экипаж, чел. 42


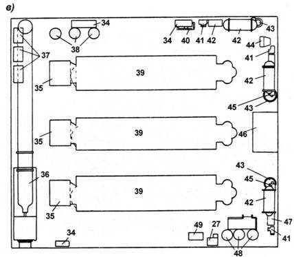
Размещение буксирного и швартовного устройств на ледоколе яВасилий Прон- чищев» (а – палуба бака; б – кормовая часть верхней палубы):
1 – киповые планки; 2 – кнехты прямые врезные; 3 – клюзы бортовые; 4 – битенги прямые; 5 – стопоры для переноса швартовых тросов; 6 – шпили; 7 – вьюшки; 8 – роульс горизонтальный; 9 – кранцы буксирные; 10 – роульсы отводящие: 11 – помещение буксирной лебедки; 12 – буксирная лебедка; 13 – турачка буксирной лебедки; 14 – серьги; 16 – стопор для переноса буксирного троса; 16 – стопор буксирного троса; 17 – клюз буксирный
Швартовные операции осуществляются в корме с помощью турачек (боковых барабанов) буксирной лебёдки, в носовой оконечности – якорно-швартовными шпилями. Для погрузки провизии на палубу судна, а также грузов массой до 3 т в грузовое помещение (два трюма вместимостью 251 м 3с люками размерами 1,8x2,5 м) имеются две электрические лебедки и две грузовые стрелы. Грузовыми средствами служат стрелы грузоподъёмностью 1,5 т, установленные на лобовой переборке надстройки.
Ледокол оснащён двумя моторными спасательными 28-местными шлюпками из лёгких сплавов. Для рабочих операций предусмотрено два четырёхвёсельных яла. При спуске и подъёме плавсредств используются шлюпбалки – скатывающиеся ШБС-3 (два комплекта). Кроме шлюпок, на судне имеются два спасательных плота СПС-12 на 12 человек каждый.
Ледоколы комплектуются двумя становыми якорями Холла массой 2240 и 2250 кг, одним 600-кг стоп-анкером, верпом (300 кг) и двумя ледовыми якорями массой 150 и 100 кг.
Связь обеспечивается следующим оборудованием:
– главная радиостанция – передатчик «Блесна СВ»; приёмник «Волна К»;
– эксплуатационная радиостанция – передатчик «Блесна КВМ»; приёмник «Волна К»;
– аварийная радиостанция – передатчик «АСП-3-0,06»; приёмник «ПАС-3»;
– диспетчерский передатчик: «Акация» Р-609м;
– шлюпочный передатчик «Шлюп» (две штуки);
– автоаларм (устройство для подачи аварийных сигналов) АПМ-54п;
– автодатчик сигналов АПСТБ-1;
– радиотрансляция «Берёзка».
На ледоколах имелось достаточно совершенное на время проектирования навигационное оборудование:
– главный компас УКП-М1, путевой – КМ-МЗ;
– гирокомпас «Курс-4»;
– радиопеленгатор СРП-5;
– радиолокатор «Дон»;
– эхолот НЭЛ-5;
– лаг МГЛ-25 (пять штук).
На первых трёх ледоколах проекта 97, строившихся по заказу ВМФ, устанавливалось артиллерийское вооружение – одна 57-мм двухорудийная артиллерийская установка ЗИФ-31-Б и одна 25-мм двухорудийная установка 2М-ЗМ. Впоследствии данное вооружение было демонтировано.
Первый опыт эксплуатации ледоколов проекта 97 показал, что они не только оправдывают своё назначение, но и выходят за «портовые» рамки. Ледокол «Добрыня Никитич» успешно работал на Белом море как в зимний сезон, так и в период вскрытия Северной Двины, когда принимались всевозможные меры по борьбе с ледяными заторами и предотвращению наводнения в районе Архангельска. Судно участвовало в проводке судов из Северной Двины до кромки льда, которая временами проходила в северной части Белого моря между мысами Городецкий и Терско- Орловский. Средняя протяжённость пути составляла 200 миль.