Оптический флюорит - Страница 15
Автоклавы могут быть и более сложными. Иногда в них вводится диафрагма, отделяющая зону шихты от зоны роста, шихта может помещаться в специальные корзинки, в автоклавы вводятся контрольно-измерительные элементы (термопары, манометры, приспособления для отбора проб раствора и т. п.). Создаются целые системы автоклавов. Автоклавы, внутри которых развиваются очень высокие давления, во избежание взрыва помещают в стальные или бетонные сейфы. Контроль параметров и управление процессами ведутся автоматически.
В разных странах предпринимались многочисленные попытки получить кристаллы флюорита гидротермальным способом. Результаты некоторых экспериментов приведены в табл. 2. Как видно из таблицы, эксперименты проводились в самых различных условиях. Кристаллизационные среды выбирались самые оптимальные, температуры варьировали от 100 до 500° С, давления — от 50 до 2800 кГ/см2, продолжительность экспериментов достигала нескольких месяцев. Однако кристаллические затравки увеличивались очень незначительно, а самопроизвольно зарождавшиеся кристаллы, хотя и весьма совершенные, достигали всего лишь 1—3 мм в поперечнике (фото 8, см. вкл.). Видимо, кристаллы вырастают в течение нескольких часов до этой предельной величины и дальше не растут или растут очень медленно. Только Б. Зидаровой из Болгарии удалось получить за 12,5 сут кристаллы до 6—8 мм по ребру куба в экспериментах с 44,6%-ным LiCl при очень высоких температуре (500° С) и давлении (1100 кГ/мм2).
Затравка почему-то «не хочет» расти, как это хотелось бы нам, т. е. чтобы все вещество шло на затравку. В зоне роста на крышке и стенках автоклава образуется множество паразитических кристалликов. На рис. 16, по данным А. Ф. Кунца, показана картина распределения кристаллов и изменения их размеров и формы в автоклаве без затравки (условия: LiCl; t=360° С; Δt = 10—20° С). Видно, что и количество и размеры кристалликов больше всего в зоне высокого пересыщения; здесь же усложняется и топография кристаллов. При еще более высоких пересыщениях отдельные кристаллы соединяются в агрегаты, образуются сплошные кристаллические корки (фото 9, см. вкл.).
Если взять большое количество шихты, более 20% от объема автоклава, то в результате возникновения локальных пересыщений будет происходить перекристаллизация шихты. В нижней части автоклава на его стенках и в пустотах образуются друзы кристаллов флюорита, причем размер отдельных кристаллов крупнее, чем в верхней части автоклава.
В результате экспериментов по гидротермальному выращиванию кристаллов флюорита получены очень интересные данные по зависимости формы кристаллов от условий кристаллосинтеза: химизма среды, термодинамических параметров. В растворах NH4Cl и LiCl, например, с увеличением пересыщения, т. е. с увеличением термического градиента, габитус кристаллов от октаэдрического постепенно переходит в кубический, при этом увеличиваются и размеры кристаллов. На основе экспериментальных данных для каждого типа растворов установлены поля устойчивости кубических, кубооктаэдрических и октаэдрических кристаллов в РТ-координатах [Кунц, 1976]. Установлены зависимости физических свойств кристаллов от условий кристаллосинтеза.
Таким образом, гидротермальным методом пока не удается получать оптические кристаллы флюорита и даже не удается определить наиболее обещающий путь дальнейших поисков. Однако результаты проведенных экспериментов оказались полезными для геологов и минералогов как инструмент для расшифровки условий образования природных флюоритовых месторождений по особенностям флюоритовых кристаллов. Кроме того, они «закрестили» бесперспективные, тупиковые пути, заставили искать новые.
Технологические аспекты эффективного способа гидротермального выращивания кристаллов флюорита продолжаются.
Если кристаллы оптического флюорита не получаются относительно дешевыми диффузионными и гидротермальными методами, то можно остановиться на одном из хорошо разработанных расплавных методов. Казалось бы, что проще: расплавить природный флюорит и закристаллизовать его в монокристалл путем медленного охлаждения. Однако температура плавления высока — около 1420° С.
Попытки получения кристаллов оптического флюорита из расплава также долгое время оставались безуспешными. Причиной неудач была исключительно высокая химическая активность фтора. Расплавленный флюорит жадно «хватает» из воздуха кислород, в нем интенсивно развивается гидролиз
CaF2 + H2O → 2HF↑.
Образующаяся в результате гидролиза CaO не изоморфна с CaF2 и не может закономерно встроиться в кристаллическую решетку флюорита. Она кристаллизуется в виде самостоятельной тонкодисперсной фазы, насыщающей флюоритовые кристаллы. Показатель преломления примесной фазы более высокий, чем флюоритовой матрицы, поэтому в кристаллах флюорита возникает множество центров светорассеяния. Кристаллы получаются непрозрачные, молочно-белые, фарфоровидные, в лучшем случае мутные опалесцирующие, а чаще всего вместо кристаллов образуются агрегаты. И ни один из методов (были опробованы все методы, известные сейчас как методы Чохральского, Тамманна, Наккена, Киропулоса, Обреимова—Шубникова, Бриджмена, Штебера, Вернеля и др.) в их классическом варианте не мог преодолеть этот барьер.
И здесь нужны были специальные поиски.
Метод Шамовского—Стокбаргера—Степанова. Главный успех в разработке промышленного способа получения оптических монокристаллов флюорита в отечественной и зарубежной литературе связывают с именем Д. Стокбаргера, и ведущий метод носит название метода Стокбаргера.
Д. Стокбаргер в США сделал первый шаг в расплавном выращивании флюорита еще в 1927 г., но этот шаг был неудачным из-за гидролиза, о котором мы говорили выше. Не дали положительных результатов и другие исследования, проведенные в 20-х годах в США в Гарвардском университете и в Массачусетском технологическом институте, а также в 30-х годах в Институте галургии в Ленинграде.
В это же время подобные исследования во Всесоюзном институте минерального сырья (ВИМС) начал Л. М. Шамовский. Ему, пожалуй, первому удалось понять причину предыдущих неудач, заключавшуюся в гидролитическом образовании посторонней фазы CaO, и он предложил для преодоления этого препятствия использовать вакуумную технику. В 1937 г. он получил первые оптические кристаллы [Юргенсон, 1980]. Позднее со своими учениками Л. М. Шамовский ввел в технологию еще одно важное усовершенствование: он применил для удаления окиси кальция и раскисления расплава фторид кадмия [Шамовский и др., 1970].
Независимо от Л. М. Шамовского, но значительно позднее причину дефектности кристаллов флюорита, выращиваемых в воздушной атмосфере, выявил и Д. Стокбаргер [Stockbarger, 1949]. Чтобы исключить взаимодействие расплава CaF2 с воздушной средой, он разработал свой метод выращивания на основе метода Бриджмена [Bridgman, 1925], который является разновидностью метода Обреимова—Шубникова, предложенного еще в 1924 г.
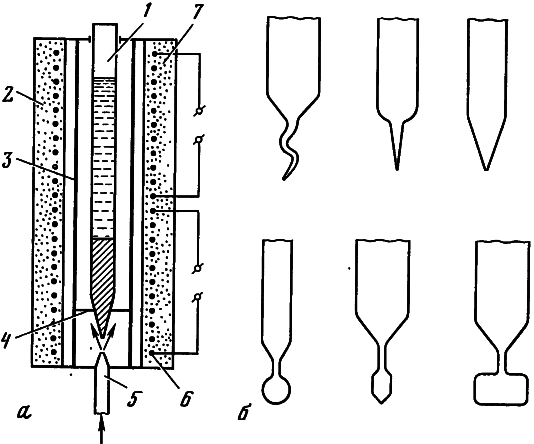
Общим во всех этих методах является то, что материал, из которого выращиваются кристаллы, помещают в контейнер. Контейнер вводится в печь с термическим градиентом. В высокотемпературной части печи содержимое контейнера расплавляется, затем контейнер переводится из высокотемпературной части печи в низкотемпературную, и в тот момент, когда он проходит через изотерму плавления, в нем начинается кристаллизация. Из зародившихся на дне контейнера кристаллов в результате геометрического отбора выживает тот, который наиболее благоприятно ориентирован, т. е. направлением наибыстрейшего роста параллельно оси контейнера. Для ускорения геометрического отбора дно контейнера делается остроконическим, с пережимом, гасящим все паразитические кристаллы (рис. 17). Форма полученных кристаллов определяется формой контейнера.

Рис. 17. Схема аппарата для выращивания монокристаллов по методу Обреимова — Шубникова (а) и формы контейнеров (б)