Обустройство и ремонт дома быстро и дешево. Коммуникации и интерьер своими руками всего за 2 месяца - Страница 3
Рекомендую с помощью специалистов подобрать систему фильтров для воды, поскольку самостоятельно и путем использования только одного фильтра избавиться от всех разнородных примесей невозможно.
В зависимости от расположения магистральных трубопроводов водопроводы бывают с верхней и нижней разводкой. Все они подразделяются на тупиковые, кольцевые, комбинированные и зонные. Выбор типа сети внутреннего водопровода зависит от условий подачи и расхода воды, размещения водоподающих установок.
Нижняя разводка наиболее характерна для жилых домов. При таком устройстве трубы помещают в подвальном помещении здания.
Кольцевые и комбинированные сети применимы в многоэтажных и общественно-промышленных зданиях, где требуется бесперебойная подача воды.
Зонные сети могут быть совмещены друг с другом или действовать самостоятельно, под верхним или нижним напором. Они подходят для зданий с малым количеством этажей, в этом случае рационально применение схемы верхней разводки (в самой верхней части здания).
Если дом имеет два этажа и более, санитарно-технические устройства и соответствующую (водоразборную) арматуру размещают строго друг над другом, прокладывая трубопроводы по кратчайшей траектории.
Примечание
В жилых домах используется прямоточная система водоснабжения, а системы оборотного и повторного водоснабжения применимы только в производственных зданиях.
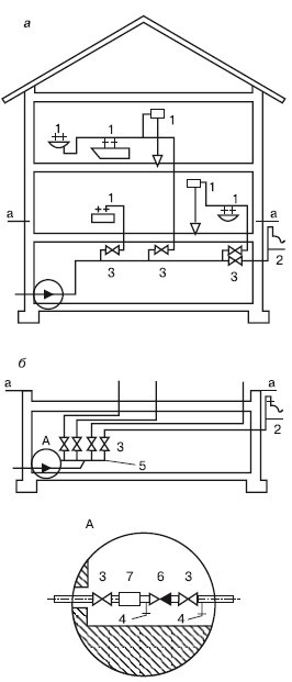
Несомненное удобство и экономичность представляет собой единая система водопроводов. В этом случае вода во всех установках подходит для питья и подается с равным напором (рис. 1.2).

Рис. 1.2. Схема питьевого водопровода:
а – запорные вентили; б – распределительный коллектор; 1 – водоразборная арматура; 2 – поливочный трубопровод; 3 – запорный вентиль; 4 – опускной кран; 5 – распределительный коллектор; 6 – обратный клапан; 7 – счетчик расхода воды
Для того чтобы внутренний водопровод функционировал нормально, напор воды на вводе в дом должен быть таким, чтобы водой полноценно снабжались и самые верхние, и наиболее удаленные водоподающие системы. На силу напора также влияет сопротивление ходу воды. Итак, на основании этого можно сделать расчет:
Н = 10 + 4 (n – 1),
где 10 – потери напора на 1-м, 4 – на каждом следующем этаже; n – количество этажей.
Гарантированный (минимальный) напор в наружном водопроводе в местах присоединения ввода должен составлять не менее 10–12 м водяного столба.
При недостаточном напоре в наружном водопроводе в систему водоснабжения включают специальные установки: насосы, водонапорные баки или пневмобаки. Напор, превышающий максимальные нормы, может повредить сети и соединенные с ними установки (рис. 1.3).
В зависимости от требуемого напора и оборудования различают следующие системы водоснабжения.
♦ Система под напором. Применяется, когда гарантийный напор в наружном водопроводе у места присоединения ввода постоянно больше напора, необходимого для нормальной работы всех водоразборных устройств, или равен ему. Такая система является самой простой и наиболее распространенной и характерна для зданий высотой до 5–6 этажей.
♦ Система с водонапорным баком. Используется при гарантированном напоре, меньшем, чем напор наружного водопровода во время активного использования, и высоком при небольшом потреблении воды. В этом случае бак является водяным накопителем и в момент «пикового» потребления подает воду.
Имейте в виду, что водонапорный бак требует строительства дополнительного этажа.
♦ Повысительные насосные установки. Применяются в том случае, когда потребление воды в доме равномерно, при напоре в наружном водопроводе ниже требуемой допустимой нормы. Место установки – подвал.
♦ Водонапорный бак с повысительной насосной установкой. Ее применяют при неравномерном потреблении воды, вызванном низким минимальным (гарантийным) напором. Причина – недостаток воды в наружном водопроводе. Водонапорный бак восполняет недостаток воды, выступая в качестве регулятора работы повысительной насосной установки.

Рис. 1.3. При мелкой аварии водопровода можно несколько раз обмотать это место строительным скотчем. Однако это только временная мера (фото автора, 2008 г.)
♦ Водонасосная (пневматическая) система с повысительными насосными установками. Она состоит из раздельных или совмещенных баков, оснащенных специальным оборудованием (компрессорами, клапанами, манометрами и др.).
Я рекомендую использовать усиленные насосы и пневматические баки. Гидропневмобак в составе автоматических насосных установок заметно снижает энергопотребление путем уменьшения количества включений насоса, накапливая при этом воду про запас.
Горячее водоснабжение индивидуальных домов и коттеджей
В зависимости от режима и объема потребления горячей воды для хозяйственно-бытовых нужд системы горячего водоснабжения подразделяются на местные и централизованные.
Местные системы используются для подогрева и эксплуатации воды в конкретном месте. При этом используются электро– или газонагреватели, которые размещаются в основном в кухнях и ванных комнатах. Для экономии денег неплохо будет обзавестись счетчиком (рис. 1.4).
В централизованных системах вода подогревается в одном общем центре, а затем по трубопроводной сети подается к сантехническим узлам дома.
К таким системам относятся системы с приготовлением горячей воды в водонагревателях, присоединяемых к тепловой сети (закрытые системы теплоснабжения); с непосредственным водоразбором из тепловой сети (открытые системы теплоснабжения); с приготовлением горячей воды непосредственно в водогрейных котлах, баках-аккумуляторах, установленных в котельных.
Основное достоинство открытых схем – отсутствие водонагревательных устройств, что, в свою очередь, продлевает срок эксплуатации трубопровода, предохраняя его от коррозии.
Материалом труб для горячей воды служит оцинкованная сталь или термопластик. Если вы используете стальные трубы, наилучшей защитой от коррозии является пластиковое покрытие внутренней поверхности труб. Следите и за температурой воды: она также влияет на образование коррозии. В жилых домах рекомендуется поддерживать температуру воды +60… 70 °C.

Рис. 1.4. Счетчик газа (фото автора, 2009 г.)
Еще одним из способов борьбы с коррозией является использование специального фильтра, через который вода проходит непосредственно перед тем, как попасть в водопровод. Наполнитель фильтра – металлическая стружка. Проходя через стружку, вода окисляет ее, что уменьшает содержание в воде главного источника коррозии – кислорода.
Прокладка труб для сетей горячего водоснабжения должна производиться с уклоном от 0,002. Это делается с целью максимального удаления воздуха.
Для индивидуальных домов в качестве водонагревательного оборудования используют, в частности, проточные и накопительные водо-и электронагреватели, отопительные (двухконтурные) котлы (рис. 1.5), газовые колонки (рис. 1.6).

Рис. 1.5. Отопительный котел – сердце вашего дома, читатель! Но он также представляет собой опасность. Поэтому ставим импортный – с автоматикой (фото автора, 2009 г.)
