Обслуживаем и ремонтируем Волга ГАЗ-3110 - Страница 5
Карданная передача двухвальная, с тремя карданными шарнирами, состоит из заднего карданного вала, промежуточного карданного вала и промежуточной опоры.


Возможные неисправности заднего моста



Возможные неисправности передней подвески



Задняя подвеска неисправна


Возможные неисправности рулевого управления с гидроусилителем





Возможные неисправности бескамерных шин



Возможные неисправности тормозной системы







Аккумулятор требует внимания
На автомобилях ГАЗ-3110, как правило, применяются отечественные аккумуляторные батареи (АКБ) 6СТ-65 емкостью 65 А?ч. На некоторых из автомобилей, имеющих геометрические размеры посадочных гнезд под АКБ 6СТ-65, могут быть установлены компактно выполненные импортные АКБ, которые без всяких переделок становятся в имеющиеся гнезда.



Возможные неисправности генератора


Рис. 11. Зачистка контактных колец шкуркой и замена щеток.


Рис. 12. Проверка сопротивления обмотки возбуждения ротора.


Рис. 13. Схема проверки статора генератора.

Возможные неисправности стартера




Рис. 14. Положения щеток коллектора.

Рис. 15. Ремонт тягового реле стартера.



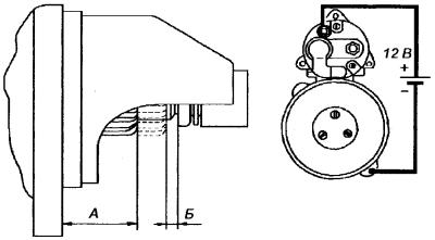
Рис. 16. Схема включения стартера для проверки положений шестерни привода и регулировки стартера.
Возможные неисправности системы освещения, световой сигнализации, приборов и датчиков приборов




Возможные неисправности звуковых сигналов


Возможные неисправности стеклоочистителя


Рис. 17. Электрическая схема соединения для проверки стеклоочистителя без переключателя: А – для проверки на первой скорости; Б – для проверки на второй скорости; 1 – штекерный разъем стеклоочистителя; 2 – контрольная лампа; 3 – аккумуляторная батарея.


Возможные неисправности антенны

Возможные неисправности узлов и деталей кузова




Возможные неисправности автомобиля, оборудованного газобаллонной аппаратурой







