О станках и калибрах - Страница 37

Изменить размер шрифта:

Существуют оптиметры с дополнительным проекционным приспособлением, которое позволяет наблюдать результат измерения на открытой шкале невооруженным глазом благодаря еще большему увеличению размеров делений шкалы. Прибор производит измерения деталей размером до 200 миллиметров. Для измерения деталей больших размеров тот же оптический принцип применяется в специальной мерительной машине с приспособлением для сравнения двух длин между собой.

Следует отметить еще один прибор, применяемый главным образом для сравнительных измерений (как миниметр) и тоже соединяющий в себе два принципа — и механический рычажный и оптический. Этот прибор пригоден не только для лабораторных измерений, но и для обычного производственного контроля деталей в массовом производстве, например в автомобильном в том случае, когда необходимо соблюсти особо высокую степень точности обработки.

О станках и калибрах - i59c7ef2b86
О станках и калибрах - i929f33d35c

Схема устройства и общий вид микролюкса

Деталь устанавливается на специальную сменную подставку, которая меняется в зависимости от формы изделия. Мерительный стержень при подъеме или опускании действует на устройство, состоящее из системы рычагов, оптического стекла и вогнутого зеркала. Электролампочка слабого напряжения служит источником света, лучи которого собираются оптическим стеклом, направляются на вогнутую поверхность зеркала, отражаются от нее и попадают на матовый экран, «рисуя» на нем круглый яркий «зайчик», разделенный в середине черной горизонтальной чертой. «Зайчик» может «играть» и по всей длине экрана. На экране устанавливаются два указателя, которые на специальной шкале отмечают пределы допускаемых отклонений. Мерительный стерженек так отрегулирован, что при проходе под ним годные по размерам детали вызывают игру «зайчика» в поле между указателями, а негодные — вне этого поля.

При контроле однородных по типу и размерам деталей даже малоквалифицированный рабочий в состоянии вести проверку со значительной быстротой. Система рычагов и оптических приспособлений обеспечивает тысячекратное увеличение показаний мерительного стерженька. Это значит, что движение стерженька вверх на 0,001 миллиметра отражается передвижением черты «зайчика» на полный миллиметр по шкале. Так как по ней также можно отсчитывать части миллиметра, то и на этом приборе доступно достижение точности, выражаемой десятитысячными долями миллиметра.

Новые средства точности

Но и на этом не остановилось развитие измерительной техники, особенно в нашей стране. Там, на крайнем западе Европы и в США капиталист-хозяин прикидывает, выгодно или невыгодно лично ему улучшить измерительную технику на своем предприятии. А наши машиностроители, наращивая темпы производства, озабочены тем, чтобы уже в процессе изготовления достигалась необходимая степень точности, чтобы на конечных участках была обеспечена самая надежная проверка готового изделия. Поэтому они требуют и получают от отечественной науки и техники все новые и новые средства точнейших измерений.

В столице нашей Родины успешно работает научное учреждение станкостроительной промышленности — «Научно-исследовательское бюро взаимозаменяемости». Оно чутко прислушивается к нуждам советского машиностроения и следит за тем, чтобы точность измерения не отставала от точности обработки. Пусть еще больше возрастут скорости резания, еще больше увеличится производительность автоматических линий станков, еще более разительны будут при этом требования к точности изготовления — и все же измерительные устройства должны «успевать ловить» малейшие отклонения от чертежа, точно определять их величину и с неумолимой строгостью отправлять в брак те изделия, размеры которых вышли за пределы допусков.

«Враг» точности — мерительная поверхность инструмента или прибора. В процессе измерения она изнашивается. Приходится тщательно следить за тем, чтобы в какой-то момент инструмент или прибор не начал пропускать брак.

Но ведь как будто не существует неизнашивающихся поверхностей. Можно лишь уменьшить, замедлить процесс их износа, изготовив конечную часть мерительного стержня из наиболее твердого материала (алмаза или сверхтвердого сплава). Так обычно и поступают, если необходимо обеспечить длительную и надежную работу измерительного устройства.

Но оказалось, что можно вовсе устранить вредное влияние износа мерительной поверхности. Советские машиностроители создали прибор, в котором мерительная поверхность заменена... воздушной струей.

Все измерительные приборы обязательно располагают; пожалуй, самой главной своей частью — той, которая «ощупывает» измеряемые детали. Ее и называют иногда «щупом». Таким прибором невозможно измерять какой-нибудь размер во время работы детали или деталей, например, вала во время его вращения. Ведь движение детали через щуп будет в какой-то мере передаваться измерительному прибору, сотрясать его, результат измерения получится искаженным. Особенно недопустимо такое искажение, когда измеряется очень малая величина, выраженная всего лишь единичными микронами — самое ничтожное искажение превысит величину допускаемой неточности. Поэтому и в таких случаях лучше отказаться от прибора со щупом и воспользоваться той же воздушной струей. Вот почему машиностроители создали своего рода «воздушный микрометр».

Мы уже знаем, что в нашей стране для небольших машин с особо быстро вращающимися валами созданы «воздушные» подшипники — вал вращается в воздухе, между ним и стенками подшипника — тончайшая воздушная прослойка, зазор, своего рода воздушная «смазка». Толщина воздушной прослойки меняется во время работы вала и колеблется в пределах между 3 и 15 микронами. Допустим, что нам надо измерить эту толщину в тот момент, когда она достигла наименьшей величины — 3 микрона. Возможная ошибка, неточность измерения должна быть меньше одной десятой части этой величины, меньше 0,3 микрона. Вот с какой точностью должен работать воздушный микрометр при измерении зазора между валом и подшипником.

Еще не так давно, когда хотели изобразить разительно малую длину, сравнивали ее с толщиной человеческого волоса. Это сравнение потеряло всякую убедительность. Ведь величина зазора в нашем подшипнике почти в 20 раз меньше толщины человеческого волоса, а величина допускаемой при измерении неточности — в 200 раз.

Как устроен воздушный микрометр?

О станках и калибрах - i41ca3ac8ef

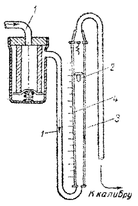
Схема работы микрометра с воздушным поплавком: 1 — подвод воздуха; 2 — воздушный поплавок; 3 — конический сосуд; 4 — шкала

Представьте себе стеклянный сосуд в виде усеченного конуса.

Сосуд расширяется кверху. Снизу через систему регулирующих устройств подводится воздух под определенным и постоянным давлением. В сосуде струя воздуха расширяется и теряет давление — оно тем меньше, чем выше и больше каждое сечение конического сосуда. Внутри сосуда может перемещаться своего рода воздушный поплавок — он напоминает парашют: струя подведенного воздуха «дует» под его купол и заставляет «плавать» на каком-то определенном уровне без касания к стенкам сосуда.

Сверху от сосуда отходит трубка, которая через последующую систему регуляторов подводит воздух к измерительной головке и сквозь нее до выходного отверстия — сопла.

Предположим, нам надо проверить размер изделия в 5 миллиметров; верхний допуск — плюс 5 микронов, а нижний — минус 10 микронов. Из притертых мерительных плиток составляется сначала размер 5,005 миллиметра. Блок этих плиток подводится под измерительную головку таким образом, чтобы остался малый зазор определенной величины (например, в 1 миллиметр).

Оригинальный текст книги читать онлайн бесплатно в онлайн-библиотеке Knigger.com