О станках и калибрах - Страница 34

Изменить размер шрифта:

Этот инструмент представляет собой узкую и тонкую стальную пластину. На одной из ее поверхностей — измерительная шкала, разделенная на миллиметры. Линия начального среза линейки принимается за нуль. Далее, через 10 делений, проставлены в последовательном порядке числа, обозначающие количество сантиметров.

Обычно пользуются линейками со шкалами в 20, 30 и 50 сантиметров (200,300 и 500 миллиметров). Бывает, что на них наносится и вторая такая же шкала, но в помощь глазам станочника ее миллиметровые деления разбиты средним штрихом на две половины по 0,5 миллиметра.

Точность в 0,1 миллиметра

В древние и средние века измерительная техника улучшалась очень медленно. Только в период мануфактур требования к точности измерительных инструментов несколько повысились. То, что не существовало такого инструмента, с помощью которого можно было бы непосредственно измерять величины, меньшие, чем самые малые деления линейки, очень задерживало развитие металлообработки. Нужда в таком инструменте ощущалась остро. В первой половине XVII века появилось для этой цели очень простое и в то же время очень остроумное приспособление. Его назвали «нониус» по имени португальского монаха Нуньеса. Вне Португалии это имя произносилось — Нониус. Этот монах — ученый XVI столетия — предложил способ разделения на части угловой меры — градуса. Ничего общего этот способ не имеет с тем приспособлением, которое впоследствии позволило измерять доли наименьшего деления. Но... так случилось, что за этим приспособлением осталось название «нониус».

О станках и калибрах - i71d46b641c

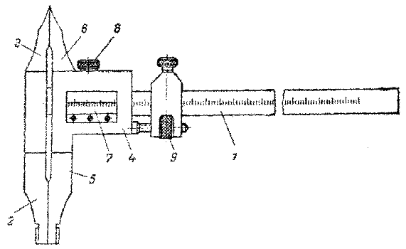
Штангенциркуль: 1 — основная линейка; 2 и 3 — губки линейки; 4 — рамка с нониусом; 5 и 6 — губки рамки; 7 — нониус; 8 — зажим рамки; 9 — микрометрическая подача рамки

В конце XVII века удалось создать усовершенствованную измерительную линейку — штангенциркуль. В те времена этот инструмент был еще очень грубым по своему устройству и изготовлению. Но он оказался предком современного штангенциркуля, с помощью которого машиностроители овладели точностью до 0,1 миллиметра.

На основной стержень штангенциркуля — линейку — нанесены сантиметровые и миллиметровые деления. Когда понадобилась еще большая точность, то по закону десятичности метрической системы пришлось разделить миллиметр на его десятые доли. Эта задача и решена путем соединения штангенциркуля с нониусом.

В чем же заключается способ измерения с помощью нониуса?

Нагляднее всего его можно усвоить из примера измерения длины с помощью простейшего штангенциркуля с нониусом. Сначала ознакомимся с устройством этого инструмента. На стальной масштабной линейке с неподвижной губкой на конце скользит подвижная рамка, так называемый «движок», со второй губкой. В движке имеется прорезь или четырехугольное окошечко, которое позволяет видеть основную шкалу линейки. На краю нижней кромки окошечка (прорези) нанесена вторая маленькая шкала, состоящая всего из 10 делений; каждое из них по длине равно 9/10 миллиметра, а длина всей шкалы, следовательно, равняется девяти миллиметрам. Это и есть нониус. Первый же штрих — нулевой — нанесен таким образом, что при сомкнутых губках он точно совпадает с нулевым штрихом основной шкалы и, следовательно, десятое деление нониуса совпадает с девятым делением основной шкалы. Вообще, если нулевое деление нониуса поставить против одного из любых штрихов линейки, то десятое его деление совпадает с девятым по счету от этого штриха делением линейки.

Если определяется размер какого-нибудь предмета, предположим, диаметр валика, то губки раздвигаются, валик вводится в просвет между ними; после этого подвижная губка подводится к валику до легкого соприкосновения с его поверхностью. Стопорный винт движка закрепляет губки в этом положении. Нулевая отметка нониуса укажет на основной линейке величину диаметра валика. Если эта отметка точно показывает целое количество миллиметров, то она и является результатом измерения.

Допустим, что нулевая отметка нониуса точно совпадала с восьмым миллиметром по основной шкале. Это значит, что диаметр валика равен 8 миллиметрам. Но если нулевая отметка нониуса окажется где-то между восьмым и девятым делением, то для установления размера приходится обратиться к помощи нониуса. Очень легко доказать, что все же какая-либо другая из десяти отметок нониуса обязательно совпадет с одной из отметок основное линейки.

Предположим, что размер валика нам известен и равен 8,6 миллиметра. Значит, первый (после нулевого) штрих нониуса отметит на основной линейке 9,5 миллиметра, второй — 10,4, третий — 11,3, четвертый — 12,2; пятый — 13,1 и, наконец, шестой — 14 миллиметров. Это значит, что штрих шестого деления нониуса совпадет со штрихом 14-го деления основной шкалы. Если бы диаметр валика равнялся 8,8 миллиметра, то с каким-либо из делений основной шкалы совпало бы именно восьмое деление нониуса.

О станках и калибрах - i807c0cf8b9

При сомкнутых губках штангенциркуля нулевое деление нониуса совпадает с нулевым делением основной шкалы

Отсюда вывод: если нулевая отметка нониуса не совпадает с целым числом миллиметров, то количество десятых долей миллиметра, входящих в измеряемую длину, определяется порядковым номером того деления шкалы нониуса, которое совпадает с каким-либо из делений основной шкалы. Измерив валик и установив, что нулевая отметка нониуса пришлась между 8-м и 9-м миллиметрами основной шкалы, определяем, какое деление нониуса совпало с делением основной шкалы, и, если таким делением нониуса оказалось именно шестое, говорим что диаметр валика равен 8,6 миллиметра. Справедливость этого можно доказать очень просто. Мы произвели наше примерное измерение и установили (для данного случая), что шестое деление нониуса совпало с 14-м делением линейки. Можно утверждать что «14» больше искомого диаметра валика на шесть делений нониуса. Но 6 × 0,9 = 5,4 миллиметра, следовательно, искомый размер равен: 14—5,4 = 8,6 миллиметра.

После того как глаза привыкают быстро читать показания инструмента, следует овладеть еще одним мастерством: когда опытный станочник или слесарь окончательно устанавливает подвижную губку с помощью регулировочного винта, он выполняет это легким движением большого и указательного пальцев. Как только подвижная ножка коснется поверхности измеряемой детали, пальцы чувствуют это и как бы сигнализируют мозгу: «стоп, довольно, дальнейшая подача ножки не только не нужна, но может исказить показание инструмента и даже повредить его». Развитие такого чувства меры — дело практики.

Штангенциркуль с нониусом — очень распространенный универсальный измерительный инструмент и в наши дни. С его помощью можно получить и большую степень точности — до сотых долей миллиметра, разбив шкалу нониуса на большее число делений. Но в основном историческая роль нониуса в развитии измерительной техники сводится к тому, что с его помощью мир приобрел возможность получать точность измерений до 0,1 миллиметра.

Точность в 0,01 миллиметра

Если усовершенствованная масштабная линейка измеряет с точностью до 0,5 миллиметра, а обычный штангенциркуль с нониусом — до 0,1 миллиметра, го точность в 0,01 миллиметра достигается измерением с помощью микрометра. Это — измерительный инструмент, в конструкции которого используется микрометрический винт — винт с очень точно изготовленной нарезкой и очень малым шагом (расстояние между вершинами двух последовательных витков резьбы). Если гайка делает полный оборот по винту, она совершает линейное перемещение вдоль оси винта, равное его шагу; если же гайка повертывается, к примеру, только на 1/50 долю полного оборота, она продвинется по оси на 1/50 долю шага. При большой точности изготовления такого винта обеспечена и высокая точность соответствия между долей оборота гайки и линейным его перемещением. Этим и воспользовались машиностроители. Примерно в середине прошлого столетия они создали новый измерительный инструмент — микрометр, оказавшийся настолько совершенным, что его высокая точность даже опередила потребности машиностроителей того времени. Этим, а также и трудностью его изготовления следует объяснить, что в течение 25 лет им почти не пользовались. Только с последней четверти прошлого века этот инструмент нашел широкое применение в измерительной технике. В значительной степени это было обусловлено теми требованиями, которые выдвигались развитием производства взаимозаменяемых деталей машин.

Оригинальный текст книги читать онлайн бесплатно в онлайн-библиотеке Knigger.com