Наставление по стрелковому делу 7,62-мм ручной пулемет Дегтярева (РПД) - Страница 4

а

б

в
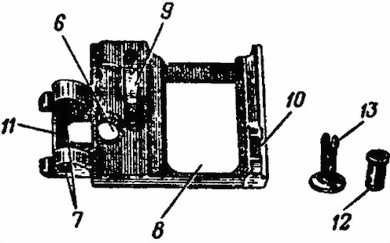
Рис. 17. Приемник:
а — приемник в собранном виде; б — основание приемника; в — колодка приемника; 1 — палец, удерживающий ленту от выпадания; 2 — отсекатель патрона; 3 — продольное окно; 4 — поперечный выступ; 5 — щиток; 6 — отверстие для трубчатой оси; 7 — проушины; 8 — окно для подавателя; 9 — фиксатор; 10 — фиксируюший выступ; 11 — пружинная защелка; 12 — трубчатая ось; 13 — разрезная чека; 14 — ось
К основанию приемника справа и слева прикреплены щитки, закрывающие поперечное окно и предохраняющие приемник от попадания в него пыли. В закрытом положении щитки удерживаются пружинными защелками. При заряжании пулемета щитки открываются автоматически: левый щиток — подавателем при оттягивании рукоятки перезаряжания назад, а правый — наконечником ленты при заряжании пулемета полностью снаряженной лентой. Если лента снаряжена не полностью, то правый щиток открывается при открывании крышки ствольной коробки. При приведении пулемета в походное положение щитки закрываются рукой.
Колодка приемника составляет верхнюю часть приемника. Она имеет: продольные пазы для крышки ствольной коробки; отверстие для трубчатой оси, соединяющей колодку с крышкой; проушины для соединения со ствольной коробкой; окно с направляющими выступами для подавателя; фиксатор с пружиной и фиксирующий выступ, которые обеспечивают правильное положение патрона в продольном окне приемника. К колодке прикреплена пружинная защелка, удерживающая крышку ствольной коробки в открытом положении.
Трубчатая ось, соединяющая колодку с крышкой, удерживается от выпадания разрезной чекой.
Колодка приемника крепится к ствольной коробке при помощи оси.
Механизм подачи (рис. 18) служит для передвижения (подачи) ленты с патронами к приемнику. Он состоит из подавателя, малого и большого рычагов подачи.

Рис. 18. Механизм подачи:
а — рычаги подачи в собранием виде; б — подаватель; в — малый рычаг подачи; г — большой рычаг подачи; 1 — продольный вырез подавателя; 2 — направляющие пазы подавателя; 3 — пальцы подачи; 4 — криволинейный паз; 5 — кольцевой выступ; 6 — выступ, приводящий в движение малый рычаг; 7 — выступ, препятствующий подъему малого рычага вверх; 8 — отверстие для прохода большого рычага; 9 — отверстие для оси; 10 — отверстие для выступа большого рычага
Подаватель служит для передвижения ленты с патронами. Он имеет: сверху — продольный вырез для малого рычага; боковые направляющие пазы; снизу — пальцы подачи, которые надеты своими проушинами на ось и при помощи пружины удерживаются в опущенном положении.
Большой рычаг приводит в движение малый рычаг. Он имеет: криволинейный паз, по которому движется ролик стойки затворной рамы; впереди — кольцевой выступ с отверстием для трубчатой оси, на которой вращается рычаг; выступ, приводящий в движение малый рычаг, и выступ, препятствующий подъему малого рычага вверх.
Малый рычаг приводит в движение подаватель. Он имеет отверстие для прохода большого рычага, отверстие для оси, укрепленной на крышке ствольной коробки, и отверстие для выступа большого рычага.

а

б
Рис. 19. Прицельное приспособление:
а — прицел; б — мушка; 1 — колодка прицела с пластинчатой пружиной; 2 — прицельная планка; 3 — целик; 4 — маховичок винта целика; 5 — хомутик; 6 — предохранитель целика; 7 — мушка; 8 — предохранитель мушки; 9 — основание мушки; 10 — болт; 11 — шкала с делениями
18. Прицельное приспособление (рис. 19) служит для наводки пулемета при стрельбе по целям на различные расстояния. Оно состоит из прицела и мушки.
Прицел состоит из колодки прицела с пластинчатой пружиной, прицельной планки, целика, винта целика с маховичком, хомутика с двумя защелками и пружинами и предохранителя целика.
Колодка прицела имеет: два сектора для придания прицельной планке определенной высоты; проушины для крепления прицельной планки: внутри колодки — гнездо для пластинчатой пружины. Сзади колодки прицела прикреплен предохранитель целика.
Прицельная планка имеет шкалу с делениями от 1 до 10, обозначающими расстояния в сотнях метров. Деления прицела разделены короткими рисками на полусотни метров, Шкала прицела нанесена и с нижней стороны планки для удобства установки хомутика на нужное деление при стрельбе лежа или стоя из окопа.
Для установки прицела на требуемое расстояние необходимо установить риску хомутика против риски под соответствующей цифрой на прицельной планке. Установка хомутика по шкале, нанесенной снизу планки, производится по его верхнему обрезу, на котором нанесены две риски.
Боковые поправки на ветер и на движение цели вносятся при помощи целика, который передвигается вправо и влево маховичком. Целик имеет гривку с прорезью для прицеливания, а под прорезью — риску для установки целика на делениях, которые нанесены на задней стенке прицельной планки (по 7 делений вправо и влево от нуля). При перемещении целика на одно деление средняя точка попадания перемещается на 2 тысячных дальности (например, при стрельбе на 100 м средняя точка попадания переместится на 20 см, при стрельбе на 200 м — на 40 см и т. д.).
Мушка ввинчена в предохранитель мушки, который предохраняет ее от случайных ударов и от яркого освещения. Предохранитель мушки помещен в пазах основания мушки и закрепляется в них при помощи болта с гайкой.
В верхней передней части основания мушки нанесена шкала, деления которой равны 1 мм. Против шкалы на предохранителе мушки имеется риска. По делениям шкалы и по риске определяется необходимая величина передвижения предохранителя мушки при приведении пулемета к нормальному бою.
Примечание. В пулеметах первого выпуска шкала прицела имеет цену деления 100 м и нанесена только на верхней стороне прицельной планки. Маховичок винта целика расположен с правой стороны. Нет предохранителя целика. Болт предохранителя мушки вставляется в основание мушки резьбой вперед.
19. Сошка (рис. 20) служит упором при стрельбе. Она имеет: две ноги с полозками для упора в грунт; пружину для разведения ног сошки; пружинную застежку на левой ноге для скрепления ног сошки в сложенном положении.
Сошка от пулемета не отделяется.
20. Затворная рама с газовым поршнем (рис. 21) служит для приведения в действие затвора и механизма подачи ленты.
Она имеет: в средней части — направляющие выступы для направления движения рамы в ствольной коробке и окно, через которое выбрасываются гильзы при стрельбе; в задней части — фигурные выемы для помещения выступов боевых упоров и фигурного выступа остова затвора, стойку, разводящую боевые упоры затвора. Передней частью стойка наносит удар по ударнику. Вверху стойка имеет ось, на которой вращается ролик, приводящий в движение большой рычаг подачи. Стойка имеет отверстие для рукоятки перезаряжания. На заднем конце затворная рама имеет шаровую выточку для упора переднего конца поводка возвратного механизма. Снизу затворная рама имеет боевой взвод. Газовый поршень прикреплен к переднему концу рамы.