Мототуризм: спорт и отдых - Страница 21
Когда в группе есть хотя бы один мотоцикл с коляской, вопрос размещения багажа значительно облегчается, особенно это касается крупногабаритных вещей. Может случиться, что вам удастся раздобыть только шестиместную палатку. На мотоцикле-одиночке закрепить ее возможно, но неудобств возникнет много. Лучше иметь две трехместные, тогда можно будет выделить «палаточный» мотоцикл, у которого обе разместятся над боковыми чемоданами. На мотоцикле с боковым прицепом (коляской) палатку практически любых размеров закрепляют на внешнем багажнике или запасном колесе. Если мотоцикл движется без пассажира в коляске, что мы рекомендуем, то проблем с перевозкой багажа вообще не возникает. Помните, что тяжелые вещи необходимо размещать на дне во внутреннем багажнике, но не в «носу» прицепа.
Несколько слов о задних одноколесных прицепах. Они изготавливались рядом зарубежных заводов и умельцами в нашей стране. Предполагался выпуск их на одном из заводов Украины. Однако ГАИ не дала на это соответствующего разрешения, и поэтому рассчитывать на такой прицеп для путешествия на приходится.
Участники путешествия должны уделять раскладке багажа большое внимание, особенно в первые несколько дней. При утренних сборах нужно присмотреться, кто задерживает отъезд группы. Возможно, эта задержка объясняется нерасторопностью вашего товарища, а может быть и так, что ему приходится крепить вещи, которые освобождаются для погрузки в последнюю очередь. Учет этого позволит группе избежать недоразумений и сохранить хороший психологический климат.
РЕКОМЕНДУЕМ ИЗГОТОВИТЬ
Запросы и требования мотолюбителей к мотоциклам и условиям их эксплуатации многообразны и специфичны. Для их полного удовлетворения часто возникает необходимость оборудовать мотоцикл вспомогательными устройствами (дополнительным оборудованием), а для ускорения и повышения качества работ при ремонте или техническом обслуживании машин в ряде случаев желательно иметь в распоряжении специальные приспособления. Желающие дооборудовать свой мотоцикл могут найти определенную информацию в печатных изданиях. Рекомендуется также внимательно (и обязательно критически!) изучить подобные изделия, изготовленные другими мотолюбителями.
При желании можно и самому сконструировать или усовершенствовать те или иные узлы. Но здесь можно столкнуться с вопросами, в которых при кажущейся простоте трудно бывает разобраться самостоятельно. Давайте поговорим, как избежать ошибок в этой работе и достичь желаемого результата, двигаясь при этом наиболее кратким и рациональным путем.
Дополнительное оборудование значительно расширяет возможности мотоцикла. Например, если возникает необходимость перевезти сравнительно большое количество груза, к тому же имеющего значительный объем, с задачей почти невозможно справиться без универсального заднего багажника с боковыми площадками. Установка на мотоцикл противотуманной фары существенно повышает эффективность освещения дороги ночью, в особенности в неблагоприятных метеорологических условиях, создает более безопасные условия движения. Снабжение мотоцикла ветровым и наколенными щитками позволяет совершать длительные поездки в условиях низких температур, сильного ветра, дождя. Установка на мотоцикле радиоприемника эмоционально обогатит ваши привалы и часы отдыха в путешествии.
Применение дополнительного оборудования во многих случаях способствует повышению устойчивости мотоцикла. Например, размещая груз на боковых площадках заднего багажника, можно добиться заметного понижения центра тяжести, уменьшить парусность, симметрично загрузить машину. Наличие на мотоцикле загруженного переднего багажника увеличивает нагрузку на переднее колесо, уменьшает время его отрыва от полотна дороги и тем самым существенно улучшает устойчивость и управляемость машины.
Некоторые элементы дополнительного оборудования могут в значительной мере уменьшить отрицательное воздействие отдельных вредных факторов или неблагоприятных условий на членов экипажа. Например, ветровой щиток хорошо защищает от прямого встречного потока холодного воздуха, пыли, насекомых, прямого попадания капель дождя, брызг, образующихся при движении переднего колеса по мокрой дороге, от грязи, песка, щебня, вылетающих из-под колес встречного транспорта.


К узлам и деталям дополнительного оборудования иногда предъявляются противоречивые требования, на отдельных из которых мы сейчас и остановимся. Например, задний багажник должен быть прочным, жестким, легким по весу и простым в изготовлении. Если сделать его из прутков или труб малого диаметра, он будет иметь небольшой вес, но малую жесткость и при движении по неровной дороге возможна его раскачка в загруженном состоянии. Устойчивость мотоцикла при этом ощутимо снижается. Кроме того, детали облегченного багажника легко деформируются и даже разрушаются, что доставляет мотолюбителю немало хлопот. Если же багажник изготовить из прутков или труб чрезмерно большого диаметра, его возросший собственный вес станет не лучшей платой за долговечность.
Основное требование к защитным дугам — прочность, чтобы при ударах о какой-либо предмет (или о полотно дороги при падении мотоцикла) они могли защитить экипаж от серьезных травм. В то же время дуги должны обладать некоторой податливостью, чтобы при сильном ударе деформировались они, а не рама мотоцикла.
Ветровой щиток мотоцикла должен обеспечивать нормальный обзор дороги, защиту рук и корпуса водителя, хорошую обтекаемость потоком встречного воздуха и т. д., а также иметь высокую механическую прочность и небольшой вес. Но надо помнить, что щиток неоправданно больших размеров вызывает увеличение сопротивления воздуха, расхода топлива и боковой парусности мотоцикла.
Даже стойки зеркал заднего вида не могут иметь произвольную конструкцию. Они должны отличаться небольшим весом и значительной жесткостью, чтобы зеркало не дрожало (точнее, не раскачивалось) при вибрации руля и давало четкое изображение.
Приступая к изготовлению элементов дополнительного оборудования, учитывайте, что современный мотоцикл представляет собой довольно совершенное изделие с точки зрения технической эстетики. Поэтому ваши дополнения должны гармонично включаться в его общую композицию, соответствовать ей и по внешней отделке (лакокрасочное покрытие или хромирование деталей). При дооборудовании мотоцикла избегайте крайностей, чуждых не только технической эстетике, но и здравому смыслу. Не следует, например, «обогащать» мотоцикл нефункциональными элементами украшения, например, накладками на облицовках, фигурками животных, устанавливаемыми некоторыми водителями на щитке переднего колеса, и т. п. Помните, что красота — это прежде всего функциональность, «одетая*’ в зрительную форму. Так, мало функциональна меховая накидка для седла, которой щеголяют отдельные мотолюбители. И совсем недопустимо легкомысленное использование в качестве «украшения» мотоцикла светосигнальных приборов (фонарей, подфарников, световозвращателей и др.), количество которых, расположение, цвет и углы видимости строго оговорены в нормативно-технической документации и находятся в прямой связи с безопасностью эксплуатации машины.



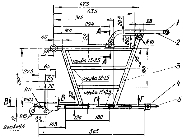
Одним из наиболее трудоемких, сложных и ответственных устройств дополнительного оборудования мотоцикла является универсальный задний багажник с боковыми грузовыми площадками. Его следует изготавливать из стальных трубок и других конструктивных элементов из стали марки 10 или 20. Неразъемные соединения отдельных деталей желательно делать сварными. Швы следует зачистить напильником, но не усердствуя чрезмерно, так как, удаляя большое количество металла из зоны шва, можно его значительно ослабить. Изготовленный багажник рекомендуем полировать и хромировать. Такое покрытие в большинстве случаев эстетически оправдано, а прочность и стойкость его значительно выше лакокрасочного. В случае, если решено произвести окраску багажника, лучше использовать эмаль типа МЛ-12 с последующей горячей сушкой, нанося ее на детали и сборочные единицы в 3–4 слоя.