Me 163 ракетный истребитель Люфтваффе - Страница 19
Кресты на крыльях первоначально наносили вдоль центральной линии крыла, позднее их сместили к передней кромке.
Некоторые самолеты могли нести эмблемы частей в составе JG400.
На самолеты наносили эксплуатационные надписи, обозначающие горловины топливных баков, эксплуатационные указания (черные) и предостерегающие надписи (красные). Серийный номер обычно наносили черной краской только на одну (левую) сторону киля.
Техническое описание Me 163В
Одноместный перехватчик с ракетным двигателем. Бесхвостый среднеплан смешанной конструкции.
Фюзеляж полузакрытый из алюминиевого листа, круглый в сечении, технологически членился на две секции.
Передняя секция состояла из носового обтекателя, кабины и части фюзеляжа, вмещавшей баки. Задняя секция состояла из двигательного и хвостового отсека. Фюзеляж усиливали 11 шпангоутов. На верхней стороне фюзеляжа крепился фонарь кабины и обтекатель бака.
Самолет имел только киль деревянной конструкции, симметричного профиля, площадью 2,02 м². Руль направления площадью 0,523 м². Руль уравновешен по массе.

Схема главного шасси «Кометы».
1. Стартовая Тележка. 2. Полоз в выпущенном состоянии. 3. Полоз в убранном состоянии. 4. Подпорка, 5. Подпирающая балка. 6. Наклоненные плечи. 7. Соединения.

Схема гидравлической системы шасси.

1. Ось тележки. 2. Поддерживающая балка. 3. Главные колеса. 4. Шкворни. 5. Соединения. 6. Зацепы. 7. Ступица. 8. Крышка ступицы.

1. Подфюзеляжная балка. 2. Полоз. 3. Наклонная опора полоза. 4. Крышка зацепа. 5. Крышка соединения. 6. Усиление полоза. 7. Колесная тележка. 8. Зацепы. 9. Натягивающая пружина.
Крылья деревянные с коробчатым главным лонжероном и вспомогательным лонжероном-швеллером. К вспомогательному лонжерону крепились рули-элероны и триммеры. К фюзеляжу крыло крепилось тремя шкворнями. Обшивка из фанеры Te-Vau-Bu (буковая шпонка, проклеенная клеем Tegofilm). Толщина профиля крыла 14 % у основания (нервюра № 1) при 30 % хорды и 8,7 % у конца (нервюра № 19) при 20 % хорды. Стреловидность 23,3° на 1/4 хорды, геометрический поворот 5,7 %. Неподвижные предкрылки на половине размаха крыла.
Система управления рулями на качалках.
Рули-элероны на внешней стороне крыльев деревянные с матерчатой обшивкой. Триммеры на внутренней стороне крыльев той же конструкции, что и рули-элероны.
Посадочные закрылки, а точнее аэродинамические тормоза, подвешивались на нижней стороне крыла и представляли собой алюминиевые пластины. Они располагались на центроплане по середине хорды и выпускались с помощью гидравлического привода.
Отклонение рулей:
Руль направления: 35° влево и вправо.
Рули-элероны: в зависимости от режима работы.
Триммеры: +/- 10°.
Посадочные закрылки: +45°.
Шасси состояло из посадочного полоза, убираемого и выпускаемого с помощью гидравлического привода. Полоз сначала делали из алюминия, позднее из стали. Первые машины имели деревянный полоз, у них также отсутствовал хвостовое колесо. К полозу крепилась колесная тележка, которую сбрасывали после взлета (полоз, убираясь, высвобождал крепления тележки). В районе хвоста находилось управляемое колесо, выпускаемое гидравлически.
Аварийный выпуск полоза осуществлялся пневматической системой.
Шины колес на тележке 700x175 мм, давление 5.5 атм. хвостового колеса 260x85 мм. давление 4 атм.
Самолет также мог взлетать с помощью колесной тележки фирмы Borsig, стартовой тележки с пружиной Лечера фирмы VDM. а также тележки с управляемым передним колесом фирмы АНАС.

Хвостовое колесо.
1. Хвостовая часть фюзеляжа. 2. Шпангоут № II.3. Трубки контура. 4. Кожух пружины. 5. Воздухопровод. 6. Вилка хвостового колеса. 7. Усилитель системы выпускания колеса. 8. Соединение гидравлической системы. 9. Соединение гидравлической системы. 10. Узел крепления гидравлического усилителя. 11. Узел крепления маятника хвостового колеса. 12. Соединение системы управления хвостовым колесом. 13. Шкворень, крепящий головку гидравлического усилителя. 14. Тяга управления колесом.

Крыльчатка, вращающая генератор.

Спинки кресла пилота

Ручка управления: 1. Ручка. 2. Кожаный уплотнитель. 3. Кожух.

Качалка и педали в кабине Me 163В.
Кабина негерметизированная, с одностворчатым фонарем, откидываемым вправо. Кресло пилота подвешено на пружинах конструкции инженера Лечера. Кабина оборудована основными пилотажными приборами, и указателями работы двигателя. В кабине находились все органы управления всеми узлами самолета. Панель управления радиостанцией находилась на правом баке T-Stoff.
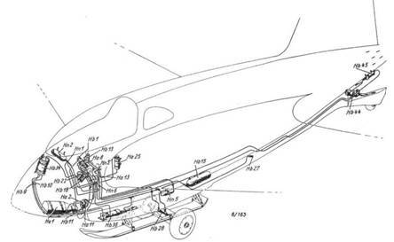
Радиостанция FuG 16ZE обеспечивала связь с землей и другими самолетами. Она располагалась в носовой части фюзеляжа. Антенна крепилась к фюзеляжу, адаптер и возвратная петля встроены в киль.
Устройство FuG 25а использовалось для идентификации «свой-чужой». Располагалось под креслом пилота, антенна и адаптеры на левом крыле.
Электрическое оборудование запитывалось от генератора мощностью 2 кВт и напряжением 24 В. Генератор стоял в носу фюзеляжа и оснащался маленьким пропеллером, вращающимся набегающим потоком воздуха. Аккумулятор емкостью 20 Ач. Аккумулятор также находился в носовой части фюзеляжа. Наружный разъем электросети находился на правом борту фюзеляжа. Потребителями на борту были: система зажигания, подогрев трубки Пито, сигнал положения шасси, радиооборудование, указатель крена и хилометр, приборы контроля за работой двигателя, топливные краны, противопожарная система.
Кислородная система состояла из 2-литрового баллона, находящегося на левом борту кабины, а также регулятора подачи кислорода, встроенного в правый борт кабины.
Пневмогидравлическая система служила для выпуска и уборки полоза и хвостового колеса. Маслобак гидравлической системы находился на носу, а пневматическая система размещалась возле полоза. Особый контур со своим маслобаком служил для выпуска посадочных закрылков. Выпуск осуществлялся с помощью ручного насоса.

Приборная доска Me 163В. Сверху виден прицел и бронестекло.

