Курс истории физики - Страница 101
Лебедев своей работой выдвинул также задачу идти по пути уменьшения длин электромагнитных волн до смыкания их с длинными инфракрасными волнами. Встретившись на одном из съездов с немецким физиком Рубенсом (1865—1922), который занимался исследованием инфракрасных волн, Лебедев высказал шутливое пожелание встретиться в эфире. Это пожелание осуществили в 20-х годах русские ученые-женщины А. А. Глаголева-Аркадьева и М.А.Левицкая
П. Н. Лебедев, с одной стороны, укрепил позиции теории Максвелла, с другой стороны, первым измерил предсказанное Максвеллом световое давление и показал, что оно совпадает с теоретическим значением, полученным Максвеллом.

Приборы П.Н. Лебедева
Петр Николаевич Лебедев родился 8 марта 1866 г. в Москве в купеческой семье. «Свое школьное образование,— писал Лебедев в своем «Жизнеописании», приложенном к страсбургской диссертации, — я получил в Евангелическом Петропавловском церковном училище и в Реальном училище Хайновского... С сентября 1884 г. по март 1887 г. посещал Московское высшее техническое училище.
Чтобы посвятить себя изучению физики, я учился с октября 1887 по август 1889 в Страсбурге, зимний семестр 1889/90 в Берлине, а с пасхи 1890 по июль 1891 снова в Страсбурге». Учителем Лебедева в Страсбурге был известный физик Август Кундт (1839—1894), к которому Лебедев относился с большим уважением и сердечной признательностью. Кундту Лебедев посвятил после его смерти теплый прочувствованный некролог, в котором характеризовал его «не только как первоклассного ученого», но и как «несравненного учителя, который заботился о будущем своей любимой науки, образуя и воспитывая ее будущих деятелей».
Защитив в Страсбурге диссертацию «Об измерении диэлектрических постоянных паров и о теории диэлектриков Моссоти — Клаузиуса», Лебедев вернулся в Россию и стал работать в Московском университете у Столетова в должности лаборанта. Последним выступлением в Страсбурге и первой его печатной публикацией в Москве была небольшая заметка «Об отталкиватель-ной силе лучеиспускающих тел». Она начиналась словами: «Maxwell показал, что световой или тепловой луч, падая на поглощающее тело, производит на него механическое давление в направлении падения; величину этой давящей, силыр можно выразить в форме:
p = E/V
где Е — энергия, которая падает в единицу времени на поглощающее тело, а V— скорость луча в той среде, в которой находится тело».
Итак, первая русская статья П. Н.Лебедева начиналась указанием на существование светового давления. Световому давлению была посвящена и последняя, оставшаяся незаконченной, статья Лебедева. Исследование светового давления стало делом жизни Петра Николаевича.
В заметке об отталкивательной силе лучеиспускающих тел Лебедев показывает, что при малых размерах тела, находящегося под воздействием силы тяготения со стороны Солнца, она может быть сравнима с отталкивательной силой давления солнечных лучей. Лебедев пишет: «...Пылинки, радиус которых не превышает одной тысячной миллиметра, будут отталкиваться при 0°С в мировом пространстве с силой, порядок которой в миллион раз превышает порядок сил их ньютоновского притяжения». Однако для молекул, как указывает Лебедев, произведенные расчеты неприменимы. «Взаимодействие молекул можно рассматривать как более сложный случай, как действие резонаторов друг на друга».
Исследованию этого «более сложного случая» Лебедев посвятил свою докторскую диссертацию «Экспериментальное исследование пондеромоторного Действия волн на резонаторы». Эта Диссертация заняла у Лебедева немало времени и сил. Он начал работу над темой в 1894 г., в котором вышла первая часть его работы посвященная действию электромагнитных волн. В 1896 г. была опубликована статья, посвященная действию гидродинамических волн, в 1899 г. — статья, описывающая действие акустических волн. В 1899 г. Лебедев опубликовал отдельной брошюрой все три статьи, которым предпослал особое «Введение». В 1900 г. за эту работу, представленную как магистерская диссертация, Лебедев получил ученую степень доктора, минуя магистерскую степень. Это была высокая оценка факультетом его труда.
Лебедев начинает «Введение» с упоминания о «гениальных работах» Герца, которые «открыли исследованию необозримую область явлений». Лебедев указывает, что работы Герца направлены на исследование источников электромагнитного излучения и, следовательно, приводят «к одному из наиболее сложных вопросов современной физики — к учению о молекулярных силах». «...Мы должны утверждать,— пишет Лебедев, — что между двумя лу-чеиспуекающими молекулами, как между двумя вибраторами, в которых возбуждены электромагнитные колебания, существуют пондеромоторные силы...»

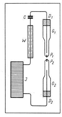
Рис. 49. Схема опыта П.Н. Лебедева по получению ультракоротких волн
Лебедев с целью исследования этих сил изучает действие волн на колеблющуюся систему.Такая система—резонатор — моделирует молекулу. Изучая действие электромагнитных волн на резонатор, Лебедев исследует отдельно действие магнитного и действие электрического вектора волны.
Магнитный осциллятор, возбуждаемый магнитным вектором падающей волны, представлял собой миниатюрную катушку из четырех витков серебряной проволоки, соединенную с конденсатором из двух пластинок, вырезанных в форме «бисквитов» квадрантного электрометра. Вся система была подвешена на чувствительном подвесе.
Электрический резонатор состоял из двух цилиндрических квадрантов, собранных из отдельных алюминиевых полосок, соединенных с катушкой самоиндукции из серебряной проволоки, подвешенной так, что магнитный вектор не мог вызвать ее замыкания и только электрические силы могли действовать на заряды конденсатора.
Лебедев показал, что законы пондеромоторного действия волн на магнитные и электрические резонаторы тождественны. Если частота колебаний резонатора выше частоты падающей волны (частота вибратора), то он притягивается к вибратору, ниже настроенный резонатор отталкивается. Притяжение сменяется отталкиванием при переходе через резонанс.
Лебедев изучил далее действие гидродинамических волн, возбуждаемых соответствующим вибратором, на гидродинамический резонатор, представляющий собой шарик на стальной пружине.
Здесь он также обнаружил притяжение при частотах резонатора более высоких, чем частота вибратора, и отталкивание в противоположном случае и смену притяжения отталкиванием при переходе через резонанс. В последней части своего исследования Лебедев обратился к акустическим волнам. Здесь также наблюдались притяжения и отталкивания в зависимости от отношения частот вибратора и резонатора, но только в непосредственной близости от вибратора. По мере увеличения расстояния до резонатора притягиватель-ные силы уменьшаются и на достаточно большом расстоянии полностью исчезают, остаются лишь отталкивающие силы, достигающие наибольшей величины при резонансе.
Лебедев считал, что обнаруженная им тождественность пондеромоторных сил в столь различных явлениях показывает, что элементарные законы этих явлений должны быть независимы от природы волн и воспринимающих их резонаторов. Отсюда вытекает возможность распространения этих законов на область молекулярного излучения и взаимодействия молекул. Однако, указывает Лебедев, «нет никаких данных, позволяющих сказать что-либо определенное о свойствах молекул-резонаторов».
Важнейшими достижениями П. Н. Лебедева были его классические опыты по световому давлению, принесшие ему всемирную славу. Предварительное сообщение о своей работе по измерению давления света на твердые тела Лебедев сделал в 1899 г. С докладом о своих опытах он выступил на Всемирном конгрессе физиков в Париже в 1900 г. Сама работа «Опытное исследование светового давления» была опубликована в 1901 г. на немецком языке в журнале «Annalen der Physik» и в сокращенном изложении на русском языке в ЖРфХО. Эта работа многократно описывалась в учебниках, статьях и книгах, и -мы здесь ограничимся только кратким рефератом статьи, сделанным самим Лебедевым для немецкого реферативного журнала «Fortschritte der Physik»: «...Автор исследует пондеромоторные силы, с которыми белый, красный и голубой свет действуют на поглощающие, покрытые платиновой чернью, и отражающие (алюминий, платина, никель и слюда) крылья в высоком вакууме.