Круглые суда адмирала Попова - Страница 5
Осенью начали переделывать и укреплять стапель, на котором строился «Новгород», а прежние конструкции «Киева» разобрали. Предписание на открытие работ последовало 15 октября, но сборку начали только весной следующего года. Строителем остался капитан А. В. Мордвинов.
Железо изготавливалось на Райволовском, Камском заводах и на новом заводе Юза в Екатеринославской губернии. Знаменитая, в будущем, «Юзовка» с работой не справилась, металл проб не выдержал. Пришлось спешно дозаказывать железо в Райволо. Броню прокатывали ижорцы, а орудия делали на Обуховском заводе. Кроме заказанных еще в 1872 г. заводу Берда шести вертикальных паровых машин «компаунд» и восьми котлов, ему же поручили изготовить еще две машины и четыре котла по новой спецификации, а старые переделать.
Спуск корабля планировался на осень 1875 г., а испытания – на май следующего. Как и при строительстве первой поповки возникло множество независящих от адмиралтейства препятствий. Из-за поломки бронепрокатного стана на Ижорском заводе часть 178-мм плит пришлось заказать в Англии А. А. Попов сам выхлопотал, в виде исключения, разрешение на это «для скорейшего испытания нового типа судов». . . По опыту «Новгорода» и «Петра Великого» серьезные опасения вызывали поставки механизмов. В конце концов Морскому министерству удалось заставить работать машиностроителей «при чрезвычайных обстоятельствах», но подвела железная дорога, полтора месяца разыскивавшая годные для перевозки громоздких котлов платформы. Пришлось устанавливать котлы после спуска корабля, а для их погрузки прокладывать в течение месяца канал во льду реки для проводки в адмиралтейство плавучего крана.
Церемония закладки второй поповки в присутствии императора состоялась 27 августа 1874 г. В начале декабря прошли испытания на водонепроницаемость части второго дна от центра до 3-го кругового киля. В марте следующего года окончили сборку бимсов верхней палубы, а в конце апреля – испытания отсеков второго дна до борта. Спуск, несмотря на ряд недопоставок, откладывать не стали. 25 сентября 1875 г., в присутствии генерал-адмирала, вторая поповка сошла в воды Ингула. В торжествах принимали участие «Новгород» и деревянная яхта «Ливадия».
По конструкции корпус новой поповки был подобен первой. Броня устанавливалась по той же схеме, но верхний пояс борта и барбет покрывались плитами в два слоя: внутренний-178-мм, внешний – 229-мм. С тиковой подкладкой и швеллерами суммарная толщина броневого пояса достигала проектных 457 мм. Барбет защищался аналогичным образом.

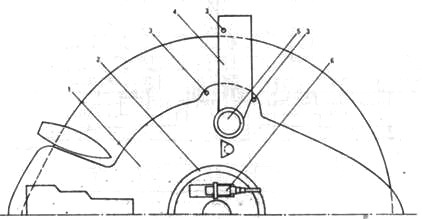
Общее расположение броненосца «Новгород»: а – план верхней палубы; б – вид сбоку; в – вид с кормы.
I – место размещения 87-мм орудия; 2 – штурманская рубка; 3 – шестивесельный ял; 4 – гребной винт; 5 – ходовой мостик; 6 – 280-мм орудие; 7 – центральный люк подачи боезапаса; 8 – носовая надстройка; 9 – донка; 10 – паровой котел;
II паровая машина; 12 – центробежный насос; 13 – пожарная помпа; 14 – кормовой мостик; 15 – мачта; 16 – вентиляционная труба над центральным люком барбета; 17 – киль; 18 – руль; 19 – кормовая надстройка; 20 – барбет


Делать броню двухслойной пришлось по той причине, что завод не мог прокатывать плиты толщиной более 229 мм. Восемь одинаковых вертикальных паровых машин двойного расширения, питаемые от двенадцати огнетрубных трехтопочных котлов, приводили в действие шесть винтов, на средние из которых работали по две машины на каждый. По опыту испытаний «Новгорода», эти винты имели больший, по сравнению с центральными и боковыми, диаметр (4,27 м против 3,20 м), гребные валы их были удлинены и опущены, так что лопасти винтов находились ниже уровня днища и работали в глубокой воде. Незащиненность винтов при швартовках или возможных таранных ударах вызвала предложение Э. Е. Гуляева поместить их в туннели, но, принимая во внимание назначение кораблей, от идеи отказались. Для прохождения с углубленными винтами мелководья Андрей Александрович советовал затапливать междудонные отделения в носовой части и «перепрыгивать» препятствие, либо стопорить средние винты в положении наименьшего заглубления, для чего они имели, в отличие от остальных, по три лопасти. Очевидно, что для увеличения, как тогда говорили, «движущей силы» А. А. Попов сознательно пожертвовал одним из достоинств круглого судна – малой осадкой.
Предлагая обеспечить второй поповке большую, по сравнению с «Новгородом», мореходность, адмирал в ходе строительства значительно расширил объем верхней надстройки. Теперь она представляла собой установленный на круглой платформе корпуса надводный борт обычного судна, палуба которого находилась на уровне открытой башни. От труб (более коротких и широких, чем на первой поповке) до срезов бортов простирались мостики, более приподнятые, чем на «Новгороде», из-за установленных в настройке четырех 87-мм пушек.
Предполагалось вооружить новый броненосец и бортовыми минными шестами, но по ряду причин от их устройства отказались. В кормовой части надстройки поставили шлюпбалки, для подъема аналогичных «Новгороду» штатных плавсредств; при стрельбе из главного калибра в направлении кормы катера приспускались на палубу.

Поповка «Вице-адмирал Попов», схема верхнего вида.
I – надстройка; 2 – барбет; 3 – место установки 87-мм орудия; 4 – боковой мостик; 5 ~ дымовая труба; 6 – 306-мм орудие

Поповка «Вице-адмирал Попов», продольный разрез 1 – гребной винт; 2 – паровая машина; 3 – барбет; 4 – паровой котел

«Вице-адмирал Попов» во время постройки
В конце июня 1876 г. «Вице-адмирал Попов» вышел на заводские пробы механизмов и сразу достиг скорости 8 узлов, о чем обрадованный адмирал тут же доложил руководству. Начавшиеся через месяц официальные испытания сопровождались постоянными поломками в машинах. После нескольких пробных рейсов из Николаева в Севастополь и обратно, комиссия все же приняла в августе поповку в казну. Правила приемки при этом, как и на «Новгороде», выполнены не были: полного хода не давали, опасаясь за механизмы, давление пара в котлах не превышало 4,2 атм.[* Тем не менее, расход топлива, в зависимости от качества угля, достигал 2,15-3,3 тонн в час.] Для одной машины сняли, правда, диаграмму при давлении 4 атм.: мощность оказалась равной 511 и. л. с. Зато, комиссия провела сравнительные испытания хода обоих круглых судов, показавшие малую эффективность действия крайних боковых винтов. При шести винтах «Вице-адмирал Попов» обгонял «Новгород», идущий полным ходом, на 1,75 узла, при четырех, без крайних, – также уходил вперед, теряя чуть более одного узла, при двух средних – хоть немного, но обгонял своего собрата. Без заглубленных винтов вторая поповка более четырех узлов дать не смогла. Сразу после этих опытов приняли решение снять боковые винты и машины с обоих кораблей.
Весьма неприятным обстоятельством оказалась ненадежность станков для новых 40-тонных орудий «Вице- адмирала Попова». По проекту предполагалось установить эти 305-мм орудия на «снижающихся» станках, позволявших прятать стволы после выстрела под защиту барбета. За основу взяли английскую систему, приспособленную под обуховские орудия. Этими разработками занимался лейтенант Л. А. Рассказов. По его чертежам всю систему заказали в Англии. Однако, из-за ожидаемого разрыва с Турцией и приведения Черноморского флота в боевую готовность, решили не рисковать и осенью 1876 г. установили орудия на металлических станках конструкции Ф. Б. Пестича, подобных станкам «Новгорода». Первые же стрельбы в октябре-ноябре того же года выявили их слабость. . Вдобавок при выстрелах получали повреждения надстройки, а корпус испытывал сильные сотрясения. Пришлось подкреплять и станки и надстройки и сам барбет. Для усиления последнего под палубой поставили еще одну круговую переборку, а между ней и башней устроили 6 офицерских кают.