Кровельные работы - Страница 5
Закончив распиливание, инструмент отключают, обтирают ветошью, смоченной в керосине, и убирают на хранение.
Ручные пилы бывают ножовочные (ножовки), поперечные и лучковые.
Ножовки предназначены для резки небольших прутков (рис. 1).

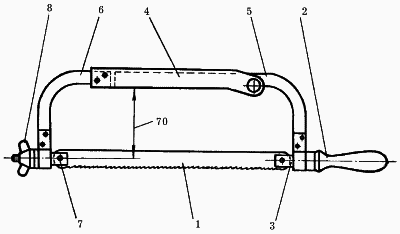
Рис. 1. Ножовка ручная: 1 – полотно ножовки; 2 – рукоятка; 3 – стержень; 4 – обойма; 5,6 – правая и левая полурамки; 7 – натяжной винт; 8 – барашек.
Обычная ручная ножовка имеет правую и левую полурамки, которые сращены обоймой. На стороне правой полурамки находится рукоятка. Полотно ножовки помещают в зазор натяжного винта и стержня, а затем фиксируют штифтом. После этого полотно инструмента натягивают барашком.
Полотна ножовки выпускаются длиной 320 и 370 мм. Ширина ножовки составляет 15 мм, а толщина не более 0,75 мм. Высота профиля зуба ножовки может быть 55–60 мм.
Выбор количества зубьев у полотна ножовки зависит от работы с тем или иным металлом. Так, например, полотна, имеющие 16 зубьев, пригодны только для работы с мягкими металлами, полотна с 19 зубьями предназначены для изделий из твердых металлов, а полотна с 22 зубьями используются при работе со сверхтвердыми металлами.
Чтобы разрезать пруток ножовкой, его помещают в тиски и зажимают таким образом, чтобы линия отреза находилась близко к губкам тисков. Если режут деталь большой ширины, ножовку устанавливают в горизонтальном положении, а если режут детали из угловой или полосовой стали, ножовку держат наклонно.
Для получения наилучшего результата за минуту выполняют 40–50 движений ножовкой. При движении инструмента вперед делают нажим, при движении назад нажим не делается.
От того, с каким металлом проводится работа, зависит сила нажима. Так, при резке мягких металлов сила нажима должна быть значительно меньше, чем при резке изделий из твердого металла.
В процессе работы с ручной ножовкой, для того чтобы полотно инструмента не треснуло и не поранило руки, стараются не делать резких движений с большим нажимом.
Кроме ручных ножовок, используют также и электрические. Во время работы с такой ножовкой время от времени полотно инструмента смачивают жидкой эмульсией, чтобы оно не перегревалось.
Поперечные пилы используют для поперечного распиливания, а также для плотничных работ. Зубья пилы имеют вид равнобедренных треугольников и косую заточку. Угол у вершины зуба обычно оставляют 42–45°. Полотна пилы могут быть толщиной 1,1 и 1,4 мм.
Лучковые пилы состоят из лучка, изготовленного из древесины твердых пород деревьев, полотна длиной 785–800 мм, тетивы, сделанной из крученого пенькового или льняного шнура толщиной 3–4 мм. Они могут быть поперечными и продольными. У поперечных лучковых пил полотно имеет ширину 22–25 мм, расстояние между зубьями 4,5–5 мм, а угол заострения 70–79°. У продольных лучковых пил полотно делают шириной 50–55 мм, толщиной от 0,5 до 0,7 мм с расстоянием между зубьями 5 мм, угол заострения 45–50°.
Выкружные пилы применяют для распиливания материала по кривым линиям. Длина полотна этих пил 500 мм, ширина 5–15 мм, расстояние между зубьями 5 мм и угол заострения 55–60°. Зубья пилы имеют прямую заточку.
Чтобы уменьшить силу трения, из-за которой полотно инструмента может застрять в пропиле, зубья разводят. Для этого полотно помещают в тиски и зажимают. Затем берут универсальную разводку и отгибают вершины зубьев от основания не менее чем на 2/3 их высоты. Все четные зубья отклоняют в одну, а нечетные в другую сторону.
Если предстоит работа с древесиной твердых пород деревьев, то зубья разводят на 0,25–0,5 мм. Если же нужно будет распилить материалы из мягких пород деревьев, то зубья пилы разводят на 1 мм. Чтобы проверить, правильно ли выполнен развод, используют шаблон. Для того чтобы тетива долго не растягивалась, после окончания работ с пилой закрутку слегка отпускают.
Топоры бывают с прямыми и округлыми лезвиями. Топор с прямым лезвием необходим для рубки древесных материалов, топор с округлым лезвием – для отделки.
Такую деталь топора, как топорище, изготавливают из древесины твердых пород, например ясеня, клена, граба, вяза, березы.
Древесину выбирают без трещин, сучков, гнили и плесени. Топорище хорошо отшлифовывают сначала крупнозернистой, а затем мелкозернистой наждачной бумагой и покрывают слоем олифы, смешанной с 11–12 %-ной охрой. После этого, чтобы продлить срок службы топорища, его покрывают бесцветным лаком.
Для вырубания отверстий, перерубания проволоки и отдельных полос металла используют зубила различных видов. Например, слесарным зубилом овального сечения, изготовленным из специальной инструментальной стали, рубят сталь толщиной около 1 мм, зубилом Когана, имеющим достаточно широкую режущую часть, прорубают стальные листы толщиной до 1 мм.
Небольшие детали рубят по намеченным линиям, предварительно зажав в тиски, а детали больших размеров рубят также по намеченным линиям, но только на столе, покрытом листовой сталью толщиной 13–15 мм.
В процессе рубки в тисках обращают внимание на то, чтобы режущий край зубила шел на одном уровне с губками тисков. Деталь для этого зажимают так, чтобы риска совмещалась с краем вкладыша тисков. Детали из стали толщиной до 1,5 мм обрубают в 1 прием, а толщиной в 1,6 мм и более – в 2 приема.
Во время рубки следят за тем, чтобы режущий край инструмента двигался строго по намеченной линии. Инструмент держат левой рукой под небольшим углом к отрубаемой части. По зубилу ударяют молотком. Выполнив прорубы на одной стороне детали, деталь переворачивают на другую сторону и повторяют ту же операцию, а затем разламывают деталь руками.
В процессе рубки деталей следят за тем, чтобы мелкие кусочки, отлетев в сторону, не поранили тех, кто находится поблизости.
Зубила точат точно так же, как и ножницы.
Инструменты для строгания древесины
Древесину строгают после ее распиливания. Для этого используют или обычный нож, или различные виды рубанков, которые состоят из деревянного корпуса и ножа, закрепленного клином, и, кроме того, имеют вклейку из твердых пород дерева, которая защищает подошву рубанка от быстрого износа.
Этот рубанок предназначен для первичной грубой обработки древесины. Лезвие ножа имеет овальную форму. При необходимости оно может выдвигаться на 1–3 мм.
Инструмент используют для первоначального строгания древесных материалов, а также для строгания древесины, обработанной шерхебелем.
Нож инструмента прямой и выступает за корпус примерно на 1 мм.
Рубанок с одинарным ножом не имеет приспособления для ломки стружки, поэтому стружка получается целой. В результате этого на обрабатываемой поверхности образуются задиры и неровности.
Инструмент применяют для чистовой обработки древесины. Им обстругивают торцы, убирают задиры и другие неровности. Это возможно благодаря наличию в нем стружколома.
Фуганок необходим для окончательной чистовой доводки поверхностей.
Он сглаживает неровности и выравнивает поверхности больших размеров. Инструмент в 3 раза длиннее обычного рубанка, поэтому им легко строгать длинные доски. Длина ножа фуганка 180 мм, ширина – 65 мм. Спереди у него имеется устройство для удаления ножа из летка с помощью киянки.
Инструмент применяется для обработки небольших поверхностей. Его корпус длиной всего 530 мм, нож длиной 180 мм, шириной 50 мм.
Это рубанок с укороченным корпусом. Он служит для строгания и зачистки поверхностей, имеющих задиры и сучки. Верхний слой обрабатываемой поверхности, благодаря узкой щели, он снимает в виде тонкой стружки.