Котлы тепловых электростанций и защита атмосферы - Страница 2
После экономайзера вода поступает в барабан, а затем в испарительные поверхности нагрева, которые располагают, как правило, в топочных камерах паровых котлов. Здесь происходит образование пара, который затем поступает в пароперегреватель (подробнее см. в гл. 4). Через обогреваемые дымовыми газами трубы пароперегревателя пар проходит однократно, а парообразующие поверхности нагрева могут быть разными. В котлах барабанного типа пароводяная смесь многократно проходит через обогреваемые трубки топочных экранов за счет естественной циркуляции или в результате многократно-принудительной циркуляции (с использованием специального насоса). В котлах, которые называют прямоточными, пароводяная смесь проходит через испарительные поверхности нагрева однократно, за счет давления, создаваемого питательным насосом.
Остановимся подробнее на особенностях процесса получения пара в котлах с естественной циркуляцией и в прямоточных котлах.
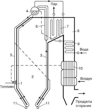
На рис. 1.2 приведена схема барабанного котла с естественной циркуляцией, выполненного по традиционной П-образной схеме (о других схемах компоновки паровых котлов будет рассказано ниже). Питательная вода, как показано на этой схеме, поступает в экономайзер, расположенный в конвективной шахте. Экономайзер – первая часть водопарового тракта котла: нагретая в нем вода поступает в барабан, который соединен как с необогреваемыми опускными, так и с обогреваемыми подъемными трубами и является замыкающим звеном контура циркуляции. По необогреваемым трубам котловая вода опускается к коллекторам, размещенным у нижней кромки топочной камеры. Из этих коллекторов вода поступает в вертикальные трубки топочных экранов. Именно здесь благодаря мощному тепловому потоку от сгорания органического топлива начинается собственно процесс парообразования. При однократном прохождении через топочные экраны испаряется не вся вода: в барабан возвращается пароводяная смесь. Доля пара в данной смеси (паросодержание) характеризует тепловую нагрузку испарительной поверхности нагрева. Величину, обратную этой доле, принято называть кратностью циркуляции (К). В объеме барабана происходит разделение (сепарация) воды и пара (подробнее см. в гл. 8). Пар выходит во входной коллектор пароперегревателя, а котловая вода вновь попадает в опускные трубы циркуляционного контура.

Рис. 1.2. Схема барабанного котла с естественной циркуляцией, работающего на пылевидном топливе: 1 – горелки; 2 – топочная камера; 3 – топочный экран; 4 – барабан; 5 – опускные трубы; 6 – фестон; 7 – пароперегреватель; 8 – конвективный газоход; 9 – экономайзер; 10 – трубчатый воздухоподогреватель; 11 – нижние коллекторы топочных экранов
Подъемно-опускное движение по контуру естественной циркуляции (то есть по необогреваемым опускным и обогреваемым подъемным трубам) происходит вследствие разности плотностей котловой воды и пароводяной смеси. Подробнее о закономерностях естественной циркуляции рассказано в главе 6, посвященной гидродинамике водопарового тракта котельной установки.
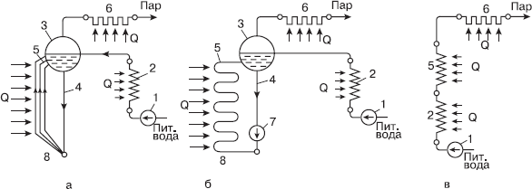
Для повышения надежности циркуляции на барабанных котлах повышенного давления (17–18 МПа) применяют принудительное движение пароводяной смеси в топочных экранах (рис. 1.3,б). Как показано на приведенных схемах, котел с принудительной циркуляцией (controlled circulation) отличается от котла с естественной циркуляцией (natural circulation) (рис. 1.3,а) наличием специального насоса для котловой воды.
На рис. 1.3,в представлена схема прямоточного котла (once through).
Прямоточные котлы отличаются от котлов с естественной и принудительной циркуляцией отсутствием барабана и однократным движением нагреваемой среды через испарительные поверхности нагрева. Можно сказать, что кратность циркуляции в прямоточных котлах К = 1, а гидравлическая система является разомкнутой (в отличие от барабанных котлов с естественной циркуляцией, гидравлическая система которых – замкнутая).

Рис. 1.3. Схема движения воды и водяного пара: а – барабанный котел с естественной циркуляцией; б – барабанный котел с принудительной циркуляцией; в – прямоточный котел; 1 – питательный насос; 2 – экономайзер; 3 – верхний барабан котла; 4 – опускные трубы; 5 – испарительные подъемные трубы; 6 – пароперегреватель; 7 – циркуляционный насос; 8 – нижний коллектор
Еще одна особенность прямоточных котлов – отсутствие постоянной (фиксированной) границы между экономайзерной, парообразующей и пароперегревательной поверхностями нагрева. По мере повышения давления в водопаровом тракте котла сокращается испарительная зона котла, и после достижения критического давления в котле остаются практически только экономайзерная и пароперегревательная части, а между ними сохраняется только зона фазового перехода.
В последние годы в Европе, США и Японии разрабатывают или уже появились котлы, рассчитанные на давление 30 и даже 35 МПа. Для таких котлов используют новый термин: «ультрасверхкритическое давление».
Большое значение имеет конфигурация котла, то есть взаимное расположение радиационных и конвективных поверхностей нагрева. Чаще всего встречаются котлы с П-образной компоновкой, когда топочная камера является первым газоходом (обычно с восходящим движением продуктов сгорания), а конвективные поверхности нагрева располагаются во втором, опускном газоходе (рис. 1.4,а). Топочную камеру с конвективной шахтой соединяет горизонтальный газоход, в котором обычно размещаются конвективные пакеты пароперегревателя или промпароперегревателя (при наличии в тепловой схеме энергоблока промежуточного перегрева пара). Важным достоинством такой компоновки является нижнее расположение мест ввода топлива в котел и выхода дымовых газов. Это позволяет расположить тягодутьевые механизмы и размольные устройства пылеугольных котлов на нулевой отметке.

Рис. 1.4. Схемы компоновок котлов: а – П-образная; б – Т-образная; в – башенная; г – U-образная (инвертная); д – плечевая
Основной недостаток П-образной компоновки – наличие поворотов на выходе из топки и на входе в опускную шахту котла. Эти повороты ухудшают омывание поверхностей нагрева, а на крупных котлах приводят к значительной неравномерности температуры продуктов сгорания по высоте горизонтального газохода. Для лучшего омывания поверхностей нагрева в котлах с П-образной компоновкой, как правило, устанавливают аэродинамический выступ на заднем экране.
В 1970–1980-е гг. российские энергетики начали выпускать котлы с Т-образной компоновкой, в которых продукты сгорания после топочной камеры опускались по двум газоходам, расположенным по обе стороны от топки (рис. 1.4,б). Такое решение увеличивает сечение (а следовательно – снижает скорость запыленных дымовых газов) в конвективной шахте, что уменьшает интенсивность износа труб пароперегревателя и экономайзера, расположенных в этой части котла. Для высокозольных углей (например, для экибастузского угля) такое решение было оправданным, хотя металлоемкость Т-образных котлов выше, чем у котлов с другой компоновкой.
Дополнительными преимуществами котлов с Т-образной компоновкой можно считать уменьшение высоты выходного окна топки (что улучшает температурный режим труб пароперегревателя), а также возможность использовать глубоковыдвижные обдувочные аппараты ограниченной длины (благодаря уменьшению ширины котла).