Космические корабли - Страница 13
Непросто оказалось совместить «земную» атмосферу КК «Союз» с чисто кислородной атмосферой КК «Аполлон». Было решено создать специальный переходный стыковочный модуль, который размещался при старте с Земли на РН «Сатурн-1Би» под КК «Аполлон» подобно тому, как лунный модуль на РН «Сатурн-5». После выхода на орбиту происходила перестыковка, и КК с переходным стыковочным модулем окончательно отделялся от РН. В этом модуле могла создаваться атмосфера как одного, так и другого КК.
Чтобы ускорить и облегчить для советских и американских космонавтов переходный процесс от кислородно-азотной атмосферы (КК «Союз») к чисто кислородной (КК «Аполлон»), общее давление в КК «Союз-19» было понижено до 520 мм рт. ст. Таким путем удалось избежать длительного процесса десатурации — постепенного удаления азота, растворенного в крови, при переходе в кислородную атмосферу.
Совместимость радиосвязи обеспечивалась сравнительно просто: на каждом КК установили по приемопередатчику, имевшему требуемые характеристики (частоту и т. п.). Потребовалось, однако, провести большой объем испытаний, подтвердивших совместимость новых радиолиний, включая испытания летной аппаратуры на космодромах. После стыковки космонавты соединяли электрические разъемы межкорабельной проводной связи (эти разъемы размещались в переходном тоннеле АПАС). Проводная линия использовалась для телефонной связи, а также для передачи телевизионных сигналов и подключения другой аппаратуры, которая применялась при переходах космонавтов из одного КК в другой.
Чтобы соответствующая радиоаппаратура КК «Аполлон» могла проводить необходимые для сближения измерения относительной дальности и скорости, еще один приемопередатчик установили на КК «Союз-19».
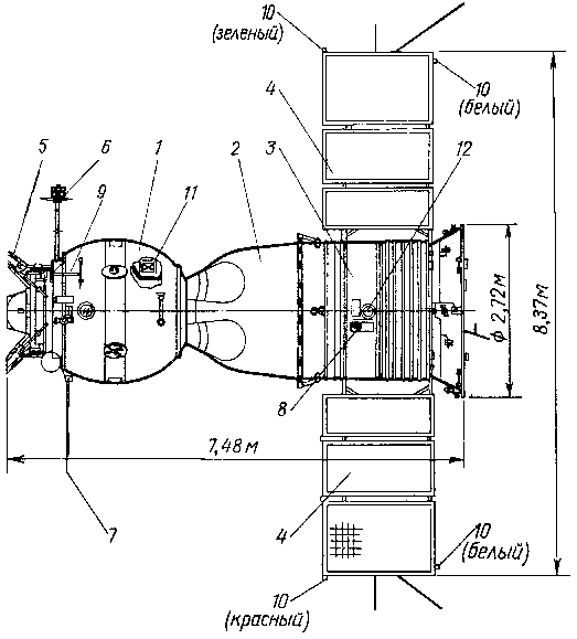
Были согласованы и установлены на обоих КК основные и резервные мишени, которые использовались для окончательного выравнивания при стыковке, а также импульсные световые и навигационные огни. Схема размещения совместимых средств сближения и стыковки на КК «Союз-19» показана на рис. 12. Регламентировались также некоторые режимы и процедуры управления КК на конечном участке причаливания и после стыковки. Наряду с проблемами обеспечения совместимости технических систем было решено огромное количество организационных, методологических и даже психологических проблем.

При подготовке и осуществлении экспериментального» полета удалось увязать такие комплексные организационно-технические вопросы, как подготовка космонавтов, планирование и управление полетом. В этом полете было проведено в общей сложности 22 научных эксперимента. В целом программа ЭПАС показала реальность преодоления всех проблем технической и человеческой совместимости, какими бы неразрешимыми они ни представлялись вначале.
КК многоразового использования
Все описанные ранее КК обладали общей характерной особенностью: они и их РН использовались только для одного полета. Более того, мягкую посадку на Землю совершал лишь один отсек КК, в котором находился экипаж. Естественно, с самого начала космических полетов конструкторы стали задумываться над тем, как создать КК и, возможно, РН пригодными для многократного использования. Задача оказалась непростой, первый многоразовый КК вышел на орбиту только через 20 лет после полета Ю. А. Гагарина. Но дело не только в этом, и сейчас далеко не очевидно, соответствует ли достигнутый эффект вложенным затратам в широком смысле этого слова.
Следует также отметить, что до последнего времени пилотируемые полеты использовались в подавляющем большинстве случаев в мирных целях, в интересах науки и для решения прикладных задач. К сожалению, однако, обострение международной напряженности меняет эту ситуацию. Агрессивные силы США, в руках которых находятся власть и огромные средства в стране, все больше склоняют космические программы, в том числе пилотируемые, в сторону их милитаризации. Сказанное относится и к программе создания многоразового транспортного КК (МТКК) «Спейс Шаттл».
Работы по созданию МТКК начались в США в конце 60-х годов. Было рассмотрено несколько вариантов. В начале 70-х годов остановились на промежуточном варианте — с частичной многоразовостью, получившем название «Спейс Шаттл» («Космический челнок»). Общий вид МТКК, который имеет стартовую массу 2100 т, показан на рис. 13.

В качестве первой ступени РН (точнее, ускорителей) используются два твердотопливных ракетных блока тягой по 13 000 кН, которые после отделения приводняются на парашютах (однако к настоящему времени ни один из них повторно не использовался). Три основных, жидкостных реактивных двигателя тягой по 1670 кН установлены на самом МТКК. Топливо для этих двигателей (700 т жидкого кислорода и водорода) находится в подвесном баке. После того как топливо полностью расходуется, бак сбрасывается и тормозится; он входит в атмосферу, разрушается, а его остатки тонут в океане. МТКК «дотягивает» до орбитальной скорости при помощи своей двигательной установки МТКК, работающей на двухкомпонентном топливе (аэрозин-50 + четырехокись азота) и состоящей из двух двигателей тягой по 26,5 кН (эта установка также используется для маневрирования на орбите). Для ориентации МТКК на орбите имеется реактивная система управления из 44 двигателей тягой от 3,9 до 0,11 кН. Эти двигатели объединены в 3 блока (один носовой и два хвостовых), суммарная масса топлива, сжигаемая системой на орбите, до 15 т.
В кабине МТКК, имеющей внутренний объем 78 м3, помещается экипаж (2–4 космонавта) и «пассажиры» (до 6 человек). В центральной части фюзеляжа находится грузовой отсек, в котором на орбиту доставляется полезный груз (до 30 т) и спускается груз с орбиты (до 15 т). Разгрузка и загрузка производится при открытых створках грузового отсека при помощи специального манипулятора общей длиной 15 м.
После выполнения программы полета МТКК сходит с орбиты и тормозится в атмосфере. Поскольку МТКК, относится к летательным аппаратам с аэродинамическим качеством (1,1–4,5), он способен при спуске совершать маневр в боковом направлении до 2000 км. На МТКК нет воздушно-реактивного двигателя для полета в атмосфере, поэтому он совершает посадку, в сущности, как планер, — на специальную полосу длиной около 5 км.
Практически вся поверхность МТКК покрыта слоем теплозащиты разного состава и толщины, в целом она весит около 9 т. Общая масса МТКК с полезной нагрузкой составляет примерно 111 т.
В состав МТКК входят все системы, обеспечивающие полет на активном участке, в космосе и при спуске, подобные системам одноразовых КК. Дополнительно в его состав включены технические средства, используемые при полете на заключительном участке приземления, аналогичные системам современных самолетов. МТКК снабжен средствами диагностики состояния многочисленных систем. Подобный технический комплекс, отличающийся многообразием внутренних связей и централизованностью управления, оказался чрезвычайно» сложным по структуре, программированию работ, отладке и профилактическому обслуживанию.
Разработка МТКК длилась более 10 лет, и сумма затрат оценивается некоторыми специалистами в 20 млрд. долл. с учетом всех дополнительных расходов на устранение многочисленных неполадок, возникших уже при эксплуатации.