Коси, коса - Страница 5




Рис. 15. Зажим: 1 – скоба; 2 – рычаг; 3 – эксцентрик; 4 – нажимная планка
Нажимную планку крепят на косовище (рис. 16) сверху тремя шурупами с потайными головками. Для этого в основании планки просверлено три отверстия диаметром 4 мм. Нож косы к косовищу присоединяют следующим образом. Рычаг эксцентрика устанавливают в вертикальное положение, плоскость пятки ножа косы совмещают со стесанной плоскостью косовища, между пяткой ножа и скобой зажима устанавливают клин, а затем, поворачивая эксцентрик рычагом, закрепляют нож на косовище. Надежность крепления ножа регулируют перемещением клина относительно скобы зажима. (Подробнее см.: Коваленко В. Зажим для насадки косы // Приусадебное хозяйство.- 1985,-№ 2.)

Рис. 16. Узел крепления косы: 1 – косовище, 2 – зажим; 3 – пятка ножа косы; 4 – клин
Разборная коса. Коса в том традиционном виде, как мы ее знаем, для перевозки в общественном транспорте непригодна: острый нож и большие габариты опасны для окружающих. Поэтому ее делают разборной (рис. 17). Такая коса удобна для быстрой разборки и сборки. Все ее детали укладываются в специально сшитый чехол небольших размеров.

Рис. 17. Разборная коса: 1 – нож косы; 2 – болт; 3 – алюминиевая труба; 4 – ручка; 5 – надставка; 6 – шайба
Суть усовершенствования заключается в следующем. На пятке ножа просверлено отверстие диаметром 10 мм. Косовище состоит из двух частей. Одна часть изготовлена из алюминиевом трубы диаметром 30-35 мм. Конец ее выровнен наискось и тщательно подогнан под пятку ножа косы. На конце сделано два отверстия: одно – крайнее – под болт диаметром 10 мм, а другое – под шипик пятки ножа. Там, где должна быть прикреплена ручка, просверлено отверстие. Вторая часть косовища – надставка – изготовлена из прочного дерева и вставляется в трубу. Нож крепят к косовищу с помощью болта диаметром 10 мм с гайкой-барашком и шайбы, помещаемой между головкой болта и пяткой ножа косы. (Подробнее см.: Площадяла К. Разборная коса // Сельский механизатор.- 1985.- № 9.)
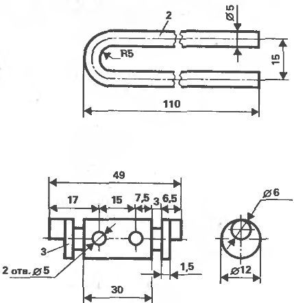
Для повышения надежности крепления ножа к косовищу и возможности регулирования захвата косы применяют приспособление (рис. 18), которое состоит из кольца со стопорным винтом и прижимной накладки.

Рис. 18. Приспособление для крепления ножа и регулирования захвата косы: 1 – кольцо; 2 – стопорный винт; 3 – прижимная накладка с отверстиями
Прижимная накладка имеет два загнутых бурта-кромки, которыми плотно обхватывается пятка ножа косы. Отверстия на накладке служат для надежной фиксации ножа стопорным винтом. Размещение отверстий на накладке определяется желаемым захватом. Расстояние между загнутыми кромками накладки меньше расстояния между внутренними поверхностями кольца, что позволяет совмещать любое отверстие накладки с цилиндрической частью винта.
Приспособление используют следующим образом. На косовище надевают кольцо, шипик пятки ножа косы помещают в углубление на стесанной поверхности конца косовища, вставляют прижимную накладку, совмещают одно из ее отверстий с цилиндрическим концом стопорного винта и завинчивают его до надежного закрепления всего узла косы. Если нужно изменить захват косы, то совмещают соответствующее отверстие накладки с цилиндрическим концом винта, поворачивая нож косы относительно его шипика. (Подробнее см.: Карпушин В. Удобная коса // Сельская жизнь.- 1983.- 22 июня; Перевезенцев Г. Крепление косы // Приусадебное хозяйство.- 1986,- № 2.)
Для этих же целей применяют устройство другой конструкции (рис. 19). Его основой является тонкостенная стальная труба. Конец ее срезан под углом так же, как и конец косовища. К срезанной части трубы приварены две пластины толщиной 5 мм: первая имеет отверстие для шипика пятки, а вторая – отверстие с резьбой для закрепления болтом пятки ножа косы. Центр этого отверстия смещен от осевой линии на 4 мм. На другом конце трубы просверлено отверстие для шурупа. На пятке ножа косы предусмотрено продолговатое отверстие, позволяющее регулировать захват косы. Устройство плотно насаживают на косовище и фиксируют.

Рис. 19. Устройство для крепления ножа и регулирования захвата косы: 1, 2 – пластины; 3 – труба; 4 – пятка ножа косы; 5 – шипик пятки; 6 – отверстие для шурупа
Анализ данного устройства показывает, что продолговатое отверстие с целью обеспечения прочности ножа целесообразно делать возле шипика, а не в передней части пятки. При этом шипик пятки следует срезать, а на пластине 1 изготовить отверстие с резьбой, как и на пластине 2. Теперь пятка к трубе будет присоединяться уже двумя болтами. При такой модернизации прочность пятки практически не снизится, а надежность же ее крепления к трубе значительно повысится.
Коса-горбуша
В газете «Архангельские губернские ведомости» № 90 за 1867 г. читаем: «Прежде, до времен Петра I, горбуши составляли единственное орудие для косьбы во всей России, ныне они доживают свои дни только в отдельных, глухих местностях, именно в губерниях Вологодской, Олонецкой, и Пермской, и в некоторых местах Сибири».
Название свое горбуша получила не только за ее серпообразный вид, но и из-за положения косца при работе – косец при кошении наклоняется «горбом» при каждом взмахе.
По внешнему виду она напоминает серп, хотя ручка горбуши длиннее ручки серпа. и имеет необычную изогнутую форму.
Устройство косы. Коса-горбуша состоит из ножа и косовища, которые соединяются при помощи двух колец и клина (рис. 20).
Нож косы изготавливают из инструментальной стали. (Косы-горбуши выпускаются в Коми АССР Нювчинским чугунолитейным заводом.) Сельские кузнецы выковывают такой нож из выбракованного запорного кольца диска колеса грузового автомобиля Получается неплохо.
Основные размеры ножа косы-горбуши приведены на рис. 21. Длина ножа от 400 до 600 мм, толщина полотна ножа от 5 мм у пятки до 3 мм у носика.

Рис. 21. Нож косы-горбуши: 1 – полотно; 2 – пятка
Косовище изготавливают из ели, ивы, черемухи. Для этого выбирают такой участок дерева, где есть изгиб необходимой формы. Высушенную заготовку обрабатывают, придавая ей необходимые размеры, и полируют. Центр тяжести косы должен находиться на осевой линии а-а прямой части косовища (см рис. 20). В противном случае коса будет разбалансирована, что приведет к излишней утомляемости косца. Считается, что центр тяжести косы находится в пределах осевой линии, если отклонение конца изогнутой части косовища от осевой линии составляет около трети длины ножа.

Рис. 20. Коса-горбуша: 1 – нож; 2 – клин; 3 – кольца; 4 – косовище
Конец изогнутой части косовища стесывают,и на плоскости делают вырез для пятки ножа. При этом положение и форма выреза определяются следующими условиями:
• захват косы (разность между радиусами окружностей, проведенных из конца прямой части косовища через обух пятки и носик ножа) не более одной трети длины ножа;
• полотно ножа находится в плоскости косовища;