Искусство схемотехники. Том 3 (Изд.4-е) - Страница 25
Статические ОЗУ. Мы уже столкнулись со статическим ОЗУ в нашей микропроцессорной разработке, где одно такое ОЗУ емкостью 32Кх8 использовалось для размещения данных, стека и рабочей области (программа была записана в РПЗУ). Организовать обмен данными со статическим ОЗУ проще простого: в цикле чтения вы устанавливаете сигналы адреса, выбора микросхемы (CS') и разрешения выхода (OE'); запрошенные данные появляются на тристабильных линиях данных спустя максимум taa (адресное время доступа). В цикле записи вы устанавливаете сигналы адреса, данных и CS', а затем (спустя время упреждения адреса tas) импульс разрешения записи (WE'); достоверные данные записываются в конце импульса WE'. Действующие временные ограничения для 120 нс статического ОЗУ показаны на рис. 11.30, из которого видно, что «быстродействие» памяти — это время от установки достоверного адреса до достоверных данных (при чтении) или до завершения цикла записи (при записи). Для статических ОЗУ интервал времени между последовательными обращениями к памяти («длительность цикла») равен времени доступа; для динамических ОЗУ, как будет показано ниже, это не так.

Рис. 11.30. Синхронизация статического ОЗУ с быстродействием 120 нc. а — цикл чтения, б — цикл записи.
Микросхемы статических ОЗУ могут иметь емкость от 1 Кбит (или меньше) до 1 Мбит при ширине 1, 4 или 8 бит. Быстродействие (время доступа) колеблется от 150 до 10 нc или около того. В настоящее время широко используются недорогие статические КМОП ОЗУ емкостью 8Кx8 и 32Кx8 с временем доступа 80 нc, а также меньше по емкости, но более быстродействующие (< 3 нc) статические КМОП ОЗУ для кеш-памяти. Варианты микросхем могут иметь отдельные выводы для входов и выходов, два порта доступа и то или иное внешнее оформление (например, однорядный корпус SIP). Может быть это и существенно, однако заметьте, что вам не надо заботиться, чтобы линии данных ЦП подключались обязательно к одноименным выводам микросхемы памяти — ведь независимо от порядка соединения вы при чтении всегда получите то же, что записали! Это замечание справедливо и для адресов. Однако не пытайтесь так поступить с ПЗУ.
Упражнение 11.18. А почему?
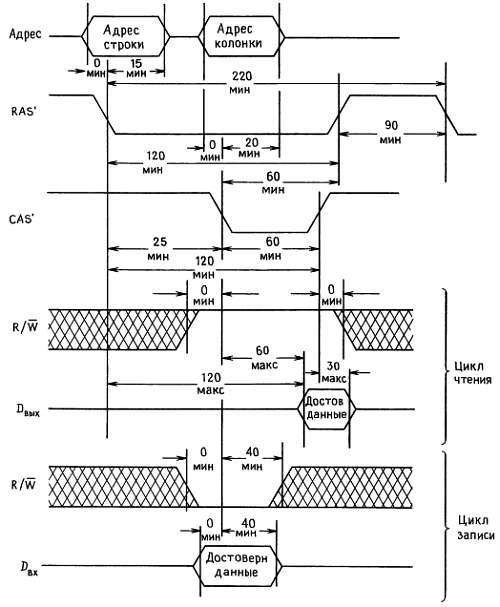
Динамические ОЗУ. По сравнению со статическими ОЗУ динамические ОЗУ — это сплошная мигрень. На рис. 11.31 показан нормальный цикл. Адрес (содержащий, например, для ОЗУ объемом 1 Мбайт 20 бит) расщепляется на две группы и мультиплексируется на вдвое меньшее число выводов, сначала «адрес строки», стробируемый сигналом RAS' (Row Address Strobe — строб адреса строки), а затем «адрес колонки», стробируемый сигналом CAS' (Column Address Strobe — строб адреса колонки).

Рис. 11.31. Циклы чтения и записи динамического ОЗУ (Motorola, 120 нc).
Данные записываются (или читаются в соответствии с состоянием входа направления R/W') вслед за установкой CAS'. Перед началом следующего цикла памяти должно пройти некоторое время «выдержки RAS», поэтому длительность цикла больше времени доступа; например, динамическое ОЗУ может иметь время доступа 100 нc и длительность цикла 200 нc. Цикл регенерации выглядит так же, но без сигнала СAS'. Вообще-то обычные обращения к памяти отлично ее регенерируют, если только вы можете гарантировать обращения со всеми возможными адресами строк!
Динамические ОЗУ, как и статические, выпускаются с шириной данных 1, 4 и 8 бит, емкостью от 64 Кбит до 4 Мбит и с быстродействием приблизительно от 70 до 150 нc. Наиболее популярны большие 1-битовые микросхемы, что вполне объяснимо: если вам нужна большая матрица памяти, скажем объемом 4 Мбайт и шириной 16 бит, и имеются в наличии ОЗУ емкостью 1 Мбит с организацией 1Мx1 и 128Кx8, имеет смысл использовать 1-битовые микросхемы, потому что (а) каждая линия данных будет подключена только к двум микросхемам (а не к 16), что существенно уменьшит емкостную нагрузку, и (б) эти микросхемы занимают меньше места, потому что меньшее число выводов данных более чем компенсирует дополнительные адресные выводы. Кроме того, 1-битовые микросхемы, как правило, дешевле. Приведенные рассуждения справедливы, если вы строите большую память, и не относятся, например, к нашему простому микропроцессору с памятью 32Кx8. Заметьте, однако, что улучшенная технология упаковки микросхем с высокой плотностью ("ZIP" и "SIMM") уменьшает важность минимизации числа выводов.
Существует ряд способов генерации последовательности мультиплексированных адресов и сигналов RAS, CAS и R/W', требуемой для управления динамическим ОЗУ. Поскольку это ОЗУ всегда подключается к микропроцессорной магистрали, вы начинаете работу с ним, обнаружив сигнал AS' (или эквивалентный ему), говорящий о том, что установлен правильный адрес из пространства динамического ОЗУ (о чем свидетельствуют старшие адресные линии). Традиционный метод заключается в использовании дискретных компонент средней степени интеграции для мультиплексирования адреса (несколько 2-канальных 2-входовых мультиплексоров `257) и генерации сигналов RAS, CAS, а также сигналов управления мультиплексором. Требуемая последовательность создается с помощью сдвигового регистра, тактируемого с частотой, кратной тактовой частоте микропроцессора или, что лучше, с помощью линии задержки с отводами. Для организации периодических циклов регенерации (только RAS) вам потребуется еще несколько логических схем и счетчик, отсчитывающий последовательные адреса строк. На все это уйдет около 10 корпусов.
Привлекательным способом, альтернативным «дискретным» схемам управления динамическим ОЗУ, является использование ПЛМ, причем для генерации всех необходимых сигналов достаточно одной-двух микросхем. Еще проще взять специальную микросхему «поддержки динамического ОЗУ», например, АМ2968. Такого рода микросхемы берут на себя не только мультиплексирование адресов и образование сигналов RAS/CAS, но также и арбитрацию регенерации вместе с образованием адресов строк; более того, они даже включают мощные драйверы и демпфирующие резисторы, которые нужны для подключения больших матриц микросхем памяти, как это будет объяснено ниже. К таким контроллерам динамических ОЗУ обычно прилагаются дополнительные микросхемы для синхронизации, а также обнаружения и коррекции ошибок; в результате небольшой набор микросхем полностью решает проблему включения динамического ОЗУ в вашу разработку.
Впрочем, почти полностью! Основные неприятности с динамическими ОЗУ начинаются, когда вы пытаетесь освободиться от наводок на всех этих стробирующих и адресных магистральных линиях. Суть проблемы заключается в том, что несколько десятков корпусов МОП-схем оказываются разбросанными на большой площади системной платы, причем ко всем корпусам подходят управляющие и адресные шины. Для подключения к ним нескольких десятков микросхем требуются мощные выходные каскады Шоттки; однако большая длина линий и распределенная входная емкость в сочетании с крутыми фронтами выходных каскадов приводят к появлению «звона» большой амплитуды. Часто можно увидеть на адресных линиях ОЗУ отрицательные выбросы до —2 В! Типичным средством борьбы (не всегда полностью успешной) является включение на выходе каждого драйвера последовательных демпфирующих резисторов с сопротивлением около 33 Ом.
Другая проблема заключается в огромных переходных токах, часто достигающих величины 100 мА на линию. Представьте себе микросхему 8-разрядного драйвера, у которого большинство выходов случайно переключаются в одном направлении, например, с высокого уровня на низкий. Это приводит к переходному току величиной около 1 А, который на некоторое время повышает потенциал нулевого вывода, а вместе с ним и всех выходов, которые должны были иметь низкий уровень. Отмеченная проблема отнюдь не носит академического характера — однажды мы наблюдали сбои в работе памяти как раз из-за таких переходных токов на нулевом выводе, образующихся из-за выбросов токов CAS-драйвера. При этом наводки, проходящие в RAS-драйверы той же микросхемы, оказывались достаточными для завершения цикла памяти!