Искусство схемотехники. Том 2 (Изд.4-е) - Страница 44

Рис. 8.55. Время установления данных и время удержания.
В рассмотренной схеме счетного триггера требование к времени установления будет сохраняться неизменным в течение как минимум 20 нc, предшествующих очередному тактовому перепаду. Может показаться, что при этом нарушается требование к времени удержания, но это не так. Минимальное время распространения сигнала с тактового входа на выход составляет 10 нc, и D-триггер, включенный в счетном режиме, будет иметь неизменное состояние D-входа в течение по меньшей мере 10 нc. Большинство современных устройств вообще не представляют требований ко времени удержания (имеют tуд = 0). Если сигнал на D-входе изменяется на интервале времени удержания, то может возникнуть любопытный эффект, носящий название «метастабильное состояние», при котором триггер не может определить, в какое состояние он должен перейти. Об этом явлении мы вскоре еще упомянем.
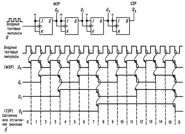
Деление на число, большее чем 2. С помощью каскадного соединения счетных триггеров (выход Q каждого предыдущего триггера подключен к тактическому входу последующего) легко получить «делитель на 2n», или двоичный счетчик. На рис. 8.56 показана схема четырехразрядного асинхронного счетчика и даны его временные диаграммы.

Рис. 8.56. 4-разрядный счетчик.
Заметим здесь, что если выход Q каждого триггера непосредственно действует на тактовый вход следующего, срабатывание триггеров должно происходить по спаду (заднему фронту) сигнала на тактовом входе (показано кружком инверсии). Эта схема представляет собой счетчик-делитель на 16: на выходе последнего триггера формируются прямоугольные импульсы, следующие с частотой, равной 1/16 частоты входного тактового сигнала. Схема называется счетчиком, поскольку информация, присутствующая на четырех входах Q, может рассматриваться как 4-разрядное двоичное число, которое изменяется от 0 до 15, увеличиваясь на единицу с каждым входным импульсом. Этот факт отражает временная диаграмма на рис. 8.56, б, на которой СЗР означает «старший значащий разряд», МЗР-«младший значащий разряд», а изогнутые стрелки, облегчающие понимание, указывают, какими перепадами вызываются изменения сигналов. Этот счетчик, как вы увидите в разд. 8.25, выполняет настолько важную функцию, что выпускается в виде большого числа модификаций, выполненных в виде однокристальных микросхем, включая такие форматы счета, как 4-разрядный, двоично-десятичный и многоцифровой. Соединяя эти счетчики каскадно и воспроизводя их содержимое с помощью цифрового индикатора (например, светодиодного) можно легко построить схему подсчета каких-либо событий. Если разрешить прохождение импульсов на вход счетчика в течение ровно 1 с, то получится счетчик частоты, который будет воспроизводить значение частоты путем подсчета числа периодов в секунду. В разд. 15.10 приводятся схемы этого простого, но очень полезного устройства. Промышленностью выпускаются однокристальные счетчики частоты, в состав которых входят дополнительно генератор, схемы управления и вывода на индикацию. Триггер такого устройства показан на рис. 8.71.
На практике простейшая схема каскадирования счетчиков посредством соединения каждого выхода Q со следующим тактовым входом имеет некоторые интересные проблемы, связанные с покаскадной задержкой распространения сигнала по цепочке триггеров. По этой причине лучше использовать схему, в которой один и тот же тактовый сигнал подается одновременно на все входы. В следующем разделе мы будем рассматривать эти синхронные тактируемые системы.
8.18. Последовательностная логика — объединение памяти и вентилей
После того как мы изучили свойства триггеров, посмотрим, что можно получить, если объединить их с рассмотренной ранее комбинационной (вентильной) логикой. Составленные из вентилей и триггеров схемы, представляют собой наиболее общую форму цифровой логики.
Синхронные тактируемые системы. Мы уже упомянули в предыдущем разделе, что последовательностные логические схемы, в которых для управления всеми триггерами используется общий источник тактовых импульсов, имеют ряд преимуществ. В таких синхронных системах все действия происходят сразу же после возникновения тактового импульса и определяются тем состоянием, которое имеет место непосредственно перед его возникновением. Общая структура подобной системы показана на рис. 8.57.

Рис. 8.57. Классическая последовательностная схема: регистры памяти и комбинационная логика. Эту схему можно легко реализовать с использованием однокристальных регистровых ПМЛ (см. разд. 8.27).
Все триггеры объединены в один общий регистр, представляющий собой не что иное, как набор D-триггеров, у которых тактовые входы соединены вместе, а индивидуальные D-входы и выходы Q выведены вовне. Каждый тактовый импульс вызывает передачу уровней, присутствующих на D-входах, на соответствующие выходы Q. Блок, состоящий из вентилей, анализирует состояние выходов регистра и внешних входов, вырабатывает новую комбинацию сигнала для D-входов регистра и выходные логические уровни.
Эта с виду простая схема обладает очень большими возможностями. Рассмотрим пример.
Пример: деление на 3. Попробуем построить схему синхронного делителя на 3 с помощью двух D-триггеров, тактируемых входным сигналом. В этом случае D1 и D2 будут входами регистра, Q1 и Q2 — eгo выходами, общая тактовая линия будет представлять главный тактовый вход (рис. 8.58).

Рис. 8.58.
1. Выберем три состояния:
Q1 Q2
______
0 0
0 1
1 0
0 0 (т. е. первое состояние)
2. Определим, что должно быть на выходах комбинационной схемы, для того чтобы получить последовательность этих состояний, т. е. что должно поступать на D-входы, для того чтобы получить требуемые состояния на выходах:

3. Построим вентильную схему, которая, с помощью имеющихся выходов, позволяла бы получить требуемые состояния на выходах. В общем случае можно использовать карту Карно, но для данного простого примера можно сразу увидеть, что D1 = Q2, D2 = (Q1 + Q2)'. Этому соответствует схема на рис. 8.59.

Рис. 8.59. Схема деления на 3.
Легко проверить, что эта схема работает так, как и было задумано. Так как она является синхронной, или тактируемой, сигналы на обоих выходах изменяются одновременно (если же выход первого триггера непосредственно подключить к тактовому входу второго, то получится асинхронный счетчик). В общем случае предпочитают использовать синхронные (или тактируемые) системы, так как они имеют более высокую помехоустойчивость. Это обусловлено тем, что к моменту возникновения тактового импульса триггеры находятся в установившемся состоянии, а на схемы, в которых входные сигналы анализируются только по фронтам тактовых импульсов, не действуют помехи, возникающие за счет емкостных связей от других триггеров или по каким-либо другим причинам. Еще одно преимущество состоит в том, что в тактируемых системах переходные состояния (вызванные задержками, в результате чего выходные сигналы изменяются не одновременно) не вызывают на выходах ложных сигналов, поскольку система не воспринимает никаких изменений, которые происходят после возникновения импульса. Далее мы проиллюстрируем это на ряде примеров.