Искусство схемотехники. Том 1 (Изд.4-е) - Страница 140
В высоковольтных схемах типа этой можно легко упустить из виду тот факт, что могут потребоваться 1-ваттные (и более) резисторы, а не стандартные на 1/4 Вт. Непосвященных ожидает более тонкая ловушка, а именно, максимальное напряжение, достигающее 250 В, для стандартных («угольных») резисторов на 1/4 Вт независимо от мощности рассеяния. Угольные резисторы проявляют на высоких напряжениях довольно странное поведение коэффициентов сопротивления по напряжению, не говоря уж о постоянных изменениях сопротивления. Например, при реальных измерениях (рис. 6.53) на делителе 1000:1 (10 МОм, 10 кОм) при напряжении 1 кВ отношение оказывается равным 775:1 (ошибка 29 %!); обратите внимание, что мощность соответствовала номинальной. Этот «неомический» эффект играет важную роль, в частности, в делителях для съема выходного напряжения в высоковольтных источниках питания и усилителях. Будьте внимательны! Фирмы, такие как Victoreen, выпускают резисторы различного типа, предназначенные для подобных высоковольтных применений.

Рис. 6.53. Угольные композиционные резисторы показывают снижение сопротивления при напряжениях выше 250 В.
Стабилизация входного напряжения. В высоковольтных источниках питания особенно в тех, которые работают с малыми токами, иногда применяют другой способ - стабилизацию не выходного напряжения, а входного. Обычно это делается с помощью высокочастотных импульсных преобразователей постоянного тока, поскольку попытка стабилизировать вход переменного напряжения 60 Гц приводит к слабой стабилизации и высокому уровню остаточной пульсации. Основная идея показана на рис. 6.54.

Рис. 6.54. Высоковольтный импульсный источник питания.
Трансформатор Тр1 и связанная с ним схема формируют некоторое промежуточное нестабилизированное напряжение, допустим, 24 В; можно использовать и аккумулятор. От этого напряжения работает генератор прямоугольных импульсов, на выходе которого размещается двухполупериодный выпрямитель и фильтр. Отфильтрованный постоянный ток является выходным сигналом, часть которого поступает обратно на генератор для управления скважностью или амплитудой в зависимости от выходного напряжения. Поскольку генератор работает на высокой частоте, реакция схемы достаточно быстрая, а выпрямленное напряжение легко фильтруется, поскольку оно происходит от прямоугольного колебания, подвергнутого двухполупериодному выпрямлению.
Трансформатор Тр2 должен быть рассчитан на работу с высокочастотным сигналом, так как обычный мощный трансформатор с наборным сердечником будет иметь значительные потери. Подходящие трансформаторы изготавливают из железного порошка, феррита или с использованием тороидальных ленточных сердечников; они намного легче и меньше по сравнению с традиционными мощными трансформаторами той же мощности. Здесь не использованы высоковольтные компоненты, за исключением, конечно, выходного выпрямительного моста и конденсатора.
Читая последний параграф, искушенный читатель возможно испытает своего рода déjà vu[1]. Действительно, это все очень похоже на импульсный стабилизатор (разд. 6.19). Одно существенное отличие состоит в том, что импульсные источники обычно используют индуктивности в качестве энергозапасающих элементов, в то время как высоковольтный источник со стабилизацией входа использует Тр2 как «обычный» (хотя и высокочастотный) трансформатор. То, что роднит высоковольтные источники с импульсными, так это высокочастотные пульсации и помехи.
Высоковольтные выпрямители для видеомониторов. Для формирования высокого постоянного напряжения (10 кВ и выше), необходимого в телевизорах и видеомониторах на ЭЛТ, обычно используют вариант традиционного высоковольтного импульсного стабилизатора (рис. 6.43, д). Как вы увидите, схема эта чрезвычайно умна, поскольку она формирует вдобавок и сигнал горизонтальной развертки для запуска отклоняющей системы.
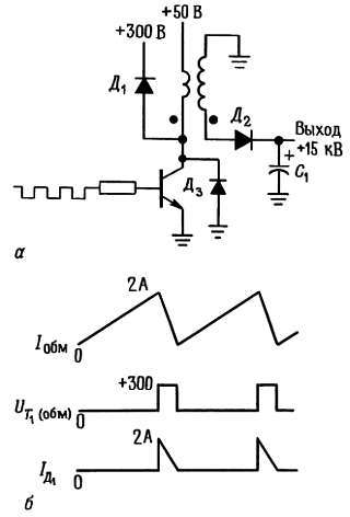
Основная идея заключается в использовании трансформатора с большим коэффициентом трансформации и запуске первичной обмотки от насыщенного транзистора, точно также, как в традиционной высоковольтной схеме. Выходное напряжение снимается с вторичной обмотки, выпрямляется и используется как высокое напряжение постоянного тока; см. рис. 6.55.

Рис. 6.55. Высоковольтный источник для видеомониторов.
Транзистор T1 запускается широкими импульсами и подключает первичную обмотку к земле. Схема может быть выполнена с самовозбуждением или с запуском от генератора. Д1 — это демпферный диод, который защищает коллектор T1 от слишком высокого подъема во время обратного хода. Д2, подключенный к высоковольтной вторичной обмотке, выпрямляет выходное напряжение, которое составляет обычно 10–20 кВ при токе несколько миллиампер. Схема работает на частотах 15 кГц и более; это означает, что конденсатор фильтра C1 может быть достаточно маленьким — всего несколько сотен пикофарад (убедитесь в этом сами, подсчитав пульсацию).
Заметьте, форма волны коллекторного тока — линейно-нарастающая пила, которая обычно используется для запуска магнитной отклоняющей системы (называемой также «ярмо») ЭЛТ и обеспечения линейной скорости горизонтального сканирования. В этих случаях частоту генератора выбирают равной частоте горизонтальной развертки. Похожие схемы — это так называемые, блокинг-генераторы, которые формируют свои собственные импульсы возбуждения.
6.21. Источники питания с малым уровнем помех и малым дрейфом
Стабилизированные источники питания, которые мы описали, до сих пор остаются одними из лучших, — они имеют обычно пульсацию и уровень помех ниже милливольта и температурный дрейф около 100·10-6/°С Это более чем достаточно для питания почти всего, что может когда-либо понадобиться. Однако возможно вам потребуются еще лучшие технические характеристики и вы не сможете обеспечить их с помощью выпускаемых ИС стабилизаторов. Тогда вам придется проектировать свои собственные схемы стабилизаторов, используя лучшие из доступных ИС опорных источников (в отношении стабильности и помех; см., например, REF101KM в табл. 6.7). Такая стабильность (< 1·10-6/°С намного лучше, чем ТКС обычных металлопленочных резисторов (50·10-6/°С; поэтому вы должны больше уделять внимания выбору операционных усилителей и пассивных компонентов, ошибки и дрейфы которых не ухудшают общих технических данных.
На рис. 6.56 показана полная схема необычного стабилизированного источника питания с низким уровнем помех и малым дрейфом.

Рис. 6.56. Сверхстабильный источник питания с низким уровнем помех.
Схема начинается с превосходной ИС REF10KM фирмы Burr-Brown, которая гарантирует ТКС лучше, чем 1·10-6/°С и очень низкий уровень шумов (6 мкВ размах, 0,1-10 Гц). Более того, это достигается без применения термостатического управления, которое позволяет удерживать приповерхностный зенеровский шум на низком уровне. За источником опорного напряжения следует фильтр нижних частот для дальнейшего снижения уровня шумов. Большое значение емкости конденсатора необходимо для подавления токового шума операционного усилителя; указанное значение преобразует токовый шум (1,5 пА/√Гц на 10 Гц) в шум напряжения 2,4 нВ√Гц, сравнимый с шумом еш операционного усилителя. Используется полипропиленовый конденсатор, потому что утечка конденсатора (более точно, изменение утечки от времени и температуры) должна быть менее 0,1 нА для того, чтобы избежать микровольтовых дрейфов выходного напряжения. С помощью операционного усилителя, резисторы в обратной связи которого имеют сверхнизкий ТКС (0,2·10-6/°С макс), эталонное напряжение доводится до +25 В; заметьте, что напряжение питания составляет +30 В. Полученное опорное напряжение +25,0 В поступает на делитель напряжения для формирования желаемого выходного напряжения, которое затем вторично фильтруется фильтром НЧ с использованием конденсатора с малой утечкой. Поскольку для деления опорного напряжения используется потенциометр, значение ТКС резистора здесь не столь критично - это логометрическое измерение. Остальная часть схемы представляет собой простой повторитель, использующий прецизионный малошумящий усилитель ошибки для сравнения выходного напряжения от мощного последовательного проходного МОП-транзистора.