Инженерное оборудование для дома и участка - Страница 3
Подземные воды классифицируются на безнапорные и напорные (к ним относятся артезианские). Одни выходят на поверхность и бьют в виде ключей, другие – залегают на большой глубине и их приходится поднимать принудительно с помощью насосов. В первых случаях источником становится поверхностный родник, над которым сооружается каптажная (от фр. captage, от лат. capto – «ловлю, хватаю») камера, т. е. сооружение водозабора (это так называемый ключевой колодец), в других – колодец (шахтный, если водоносный горизонт находится на глубине не более чем 8 м от поверхности земли), в третьих – скважина (буровая шахта глубокого заложения, если водоносный пласт расположен на глубине до 100 м от уровня земли). Рассмотрим по порядку, каким образом они сооружаются.
1. Конструктивно наименее сложным является ключевой колодец, который можно устроить, если поблизости от дома грунтовая вода выходит на поверхность (хотя следует признать, что это встречается достаточно редко). Для его строительства не потребуется сложной техники, дорогих материалов и соответственно финансовых и трудовых затрат. Каптажные камеры можно сложить из подручных материалов, например камней, древесины и т. п. В зависимости от того, над каким ключом сооружается камера, различают ключевые колодцы двух типов – восходящий и нисходящий.
Колодец или скважина, устроенные на участке, обязывают застройщика содержать их в чистоте, чтобы не допустить загрязнения колодезной воды. Поэтому рядом с ними запрещено мыть машины, держать животных, заниматься бытовыми делами вроде стирки или мытья посуды.
Чтобы построить восходящий ключевой колодец (рис. 3), необходимо выполнить работы в такой последовательности:
♦ выбрать место, подготовить его, расчистив и углубив;
♦ установить в углубление короб подходящего размера (резервуар). Это могут быть бочка без дна, бетонное кольцо, сруб и т. п. Его край должен непременно располагаться ниже уровня воды, поднимаемой ключом. Если высота резервуара намного превышает уровень возможного подъема воды, то в нем необходимо предусмотреть сливное отверстие, через которое избыточная вода будет уходить по переливной трубе;
♦ выложить стенки кирпичом;
♦ создать глиняный замок, т. е. промежутки между коробом и грунтом замазать мятой жирной глиной слоем не менее 20 см и уплотнить;
♦ для предупреждения размывания замазки заделать ее плитняком или засыпать щебнем (гравием);
♦ покрыть дно колодца промытым крупным речным песком, гравием или щебнем, насыпав их слоем 10–15 см;
♦ выполнить в резервуаре сливное отверстие. Это условие относится к обязательным и объясняется тем, что при его отсутствии под воздействием давления массы воды она начнет искать другой выход и, обнаружив его, будет либо сливать туда избыток воды, либо вообще перестанет наполнять резервуар;
♦ закрепить в коробе лоток, с которого можно будет набирать воду, не загрязняя проточную струю тарой;
♦ поместить на горловину резервуара крышку для защиты его от попадания пыли, мусора, насекомых и пр.;
♦ выполнить отмостку вокруг каптажной камеры, по которой будут стекать атмосферные осадки, минуя резервуар. Прежде чем положить кирпич, бетон или другое покрытие, следует сделать глиняный замок из мятой жирной глины;
♦ обнести колодец ограждением, расположив его на расстоянии 3–4 м от колодца (если есть возможность, построить вокруг колодца павильон);
♦ выкопать канаву для вытекающей из колодца воды. Она должна иметь такую глубину, чтобы вода не переливалась через край и не перенасыщала окружающий грунт. Необходимо предупредить размывание канавы, для чего надо укрепить ее глиняным замком, поверх которого уложить плитняк или другой материал.

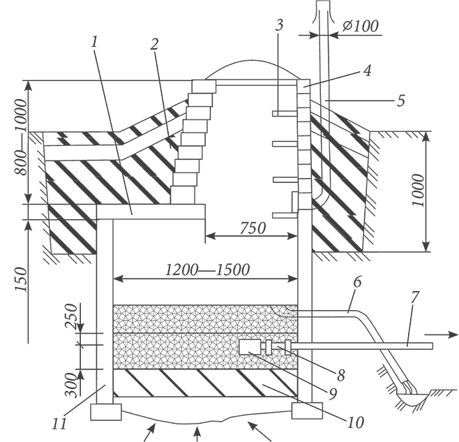
Рисунок 3. Ключевой колодец восходящего типа (размеры указаны в миллиметрах): 1) перекрытие; 2) слой гидроизоляции; 3) ходовые скобы; 4) кирпичная кладка; 5) вентиляционная труба; 6) переливная труба; 7) водозаборная труба; 8) вентиль; 9) фильтр; 10) обратный гравийный фильтр; 11) бетонное кольцо
Материал резервуара для нисходящего колодца (рис. 4) может быть любым, но обязательное условие – его дно должно быть выполнено из дерева, кирпича или бетона, чтобы устранить контакт между грунтом и прибывающей из источника водой.
Для теплоизоляции колодца или скважины на зиму допускается использовать натуральные материалы (опилки, стружку и др.). Применение пенополистирола, стекловаты и других синтетических утеплителей запрещается. При этом ни те, ни другие не должны попасть в воду.
В остальном устройство нисходящего колодца практически не отличается от описанного выше, да и принцип забора воды сохраняется, с той лишь разницей, что в колодце нисходящего типа вода попадает в резервуар не снизу, как в восходящем колодце, а со стороны боковой стенки. Поскольку она может быть загрязнена частицами грунта, то возникает необходимость ее фильтрации. Для этого поперек водоносного слоя следует устроить дренажную стенку из щебня, гравия или чистого речного песка, а также разделить короб на две части, возведя поперек тока воды перегородку из любого подручного материала. Вода поступает в первое отделение (назовем его приемным), отстаивается и, достигнув верха перегородки, переливается во второе отделение, оттуда течет по сливному отверстию и через переливную трубу поступает в водоотводную канаву.

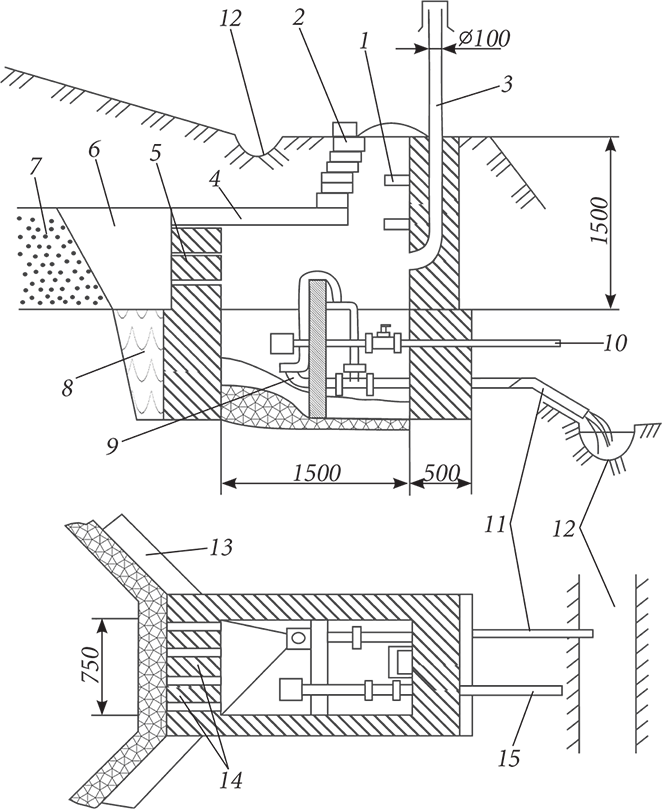
Рисунок 4. Ключевой колодец нисходящего типа (размеры указаны в миллиметрах): 1) ходовые скобы; 2) кирпичная кладка; 3) вентиляционная труба; 4) перекрытие; 5, 14) дренаж; 6) гравийный фильтр; 7) водоносный горизонт; 8) глиняный замок; 9) сливная воронка; 10, 15) водозаборная труба; 11) переливная труба; 12) водоотводная канава; 13) открылки
Каптажную камеру следует регулярно осматривать, устранять дефекты, очищать, а на зиму утеплять.
2. Другой достаточно простой и дешевый способ – выкопать колодец, глубина которого обычно достигает 10–15 м. Но надо помнить, что колодец обеспечит примерно 200 л воды в час, после чего должно пройти время, чтобы он снова наполнился. Такого количества воды достаточно для бытовых нужд (приготовления пищи, мытья посуды) и полива огородных грядок, причем эти действия не могут совершаться одновременно. Кроме того, прежде чем использовать колодезную воду для питья, ее следует отдать на химический и бактериологический анализ, чтобы убедиться в том, что она не содержит опасных веществ, например солей тяжелых металлов и иного, а также болезнетворных микроорганизмов (к слову сказать, подобные анализы необходимо проводить регулярно).
Колодцы, в которых для подъема воды устраивают шахты (из древесины, кирпича, бетона и железобетона), называются шахтными (рис. 5). Конструктивно они состоят из таких частей, как:
♦ оголовок – это наземная часть, которая предназначена для защиты воды от пыли, мусора, животных, а зимой препятствует обледенению колодца. Сверху на оголовок кладут крышку, которая с одной стороны должна плотно закрывать отверстие, а с другой – легко удаляться (сдвигаться, подниматься и т. п.), давая возможность беспрепятственно набирать воду;
♦ ствол, представляющий собой собственно шахту колодца. Это самая длинная и прямая его часть. Она бывает разной формы – круглой (самая оптимальная), квадратной (самая простая в реализации), прямоугольной и даже шестигранной (все зависит от личных вкусов и предпочтений) – при поперечном сечении 1–1,5 м, что является удобным при выполнении работ. Чтобы грунт не осыпался со стен шахты и не засорял воду, их укрепляют, отделывая деревянными, кирпичными, бетонными стенками, которые должны максимально плотно укладываться друг на друга, чтобы не допустить попадания в колодец верховодки, перенасыщенной влагой почвы и пр.;