Готовим в микроволновой печи - Страница 10
Чеснок почистить, растолочь и смешать с имбирем.
Баранину натереть смесью чеснока с имбирем и нарезать на порционные куски.
Лук почистить и нарезать кольцами.
В посуду сложить куски баранины, лук, масло и вино, поперчить и посолить, все перемешать и выдержать на холоде 3 часа, периодически перемешивая.
Затем посуду закрыть специальной пленкой и прогреть при максимальной мощности 14–17 минут, периодически перемешивая. Выдержать 10 минут
Баранина с помидорами
Баранина – 400 г Лук репчатый – 1 головка Чеснок – 2 зубчика Помидоры – 3 штуки Паста томатная – 2 столовые ложки Масло сливочное – 2 столовые ложки Перец черный молотый и соль – по вкусу
Баранину нарезать небольшими кусочками, сложить в посуду.
Лук и чеснок почистить, мелко нарезать и добавить к баранине, туда же положить масло и томатную пасту, поперчить и посолить.
Прогревать под крышкой при максимальной мощности 18–23 минуты, выдержать 10 минут.
После чего в баранину положить нарезанные дольками помидоры и прогреть еще при максимальной мощности 4–5 минут. Выдержать 15 минут.
Шашлык из молодой баранины
Баранина – 900 г Кетчуп томатный – 4 столовые ложки Сметана – 4 столовые ложки Чеснок – 1 зубчик Листья мяты – 10 штук Соль – по вкусу
Смешать кетчуп со сметаной и измельченным чесноком.
Баранину нарезать на кусочки, сложить одним слоем в посуду, предварительно смазанную маслом и выстланную листьями мяты. Сверху баранину смазать половиной полученного соуса и прогревать при максимальной мощности 7–9 минут, не накрывая крышкой.
Осторожно перевернуть баранину, смазать вторую сторону оставшимся соусом и прогреть еще 7–9 минут при той же мощности. Выдержать 7 минут.
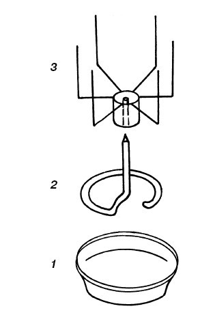
*Для приготовления шашлыка лучше всего использовать набор приспособлений, показанных на рис. 10.

Рис. 10. Приспособления для приготовления шашлыков:
1 – стеклянная миска; 2 – вертел, вставляемый в миску; 3 – мультивертел, надеваемый на вертел
Котлеты бараньи
Баранина нежирная – 300 г
Хлеб белый – 100 г
Лук репчатый – 1 головка
Чеснок – 2 зубчика
Сметана – 1 столовая ложка
Яйцо – 1 штука
Перец черный и соль – по вкусу
Баранину пропустить через мясорубку.
Лук и чеснок почистить и также пропустить через мясорубку вместе с предварительно вымоченным и отжатым хлебом.
Все компоненты фарша сложить в посуду и перемешать, туда же добавить сметану и вбить яйцо, посолить и поперчить, все перемешать и сформировать котлеты.
Котлеты положить на блюдо или решетку и выпекать при максимальной мощности 2,5–3 минуты, затем котлеты перевернуть и прогреть еще столько же.
Режим "микроволны + конвекция"
Баранина с зеленью
Баранина – 1 кг Горчица– 1 столовая ложка Вино сухое белое – 1/2 стакана Масло растительное – 4 столовые ложки Чеснок – 6 зубчиков Перец молотый и соль – по вкусу
Чеснок почистить и растолочь, смешать с горчицей, добавить вино и масло, полученный маринад хорошо перемешать. Баранину обмакнуть в маринад и оставить в холодном месте на 4–6 часов.
Мясо положить в жаровню и запекать при средней мощности микроволн и температуре 180 градусов 25–35 минут, периодически переворачивая мясо. Затем вынуть из печи, завернуть в фольгу и выдержать 20 минут.
Разрезать на порционные куски и подавать с зеленью.
Баранина, фаршированная рисом
Баранина с косточками – 2 куска по 500 г Рис отварной – 1 1/2 стакана Лук репчатый – 2 головки Зелень сельдерея измельченная – 2 столовые ложки Яйцо – 1 штука Сметана – 1/2 стакана Перец молотый и соль – по вкусу
Лук почистить и мелко нарезать, смешать рис с луком и зеленью, посолить и поперчить, добавить взбитое яйцо, все хорошо перемешать.
Полученный фарш положить на середину куска баранины, а второй кусок мяса положить сверху, накрыв им фарш, скрепить оба куска ниткой, смазать сметаной и положить в посуду для жарения, жарить 25–30 минут при средней мощности микроволн и температуре 180 градусов, в середине процесса мясо надо перевернуть. Выдержать 15–20 минут.
Режим "гриль"
Бараньи ребрышки
Баранина на ребрышках – 10 небольших кусочков Лук репчатый – 2 головки Лимон – 1 штука Масло растительное – 1 стакан Чеснок – 4 зубчика Перец черный молотый – 1/2 чайной ложки Кардамон – 1/2 чайной ложки Имбирь – 1 чайная ложка Соль – по вкусу
Лук почистить и мелко нарезать.
Из лимона выжать сок и смешать его с растительным маслом, добавить пряности и раздавленный чеснок, мелко нарезанный лук, посолить и перемешать.
Подготовить баранину, сложить в посуду и залить приготовленным маринадом, выдержать на холоде 2 часа.
Баранину вынуть из маринада, положить на верхнюю решетку печи и жарить под грилем 6–8 минут с каждой стороны.
Бараньи отбивные с корочкой
Бараньи отбивные – 6 штук Масло растительное – 1/2 стакана Горчица – 2 столовые ложки Чеснок – 4 зубчика Мелко нарезанная зелень кинзы – 2 столовые ложки Имбирь – 1 чайная ложка Майоран – 1/2 чайной ложки Перец черный молотый – 1/2 чайной ложки Соль – по вкусу
Смешать растительное масло с горчицей, добавить очищенный и раздавленный чеснок и все специи, все перемешать.
Подготовленные отбивные положить в эту смесь и оставить на 2 часа на холоде.
Отбивные вынуть из маринада, положить на верхнюю решетку печи и жарить под грилем 10–12 минут, перевернуть и жарить еще столько же.
Раздел 6
Блюда из свинины
Свинина мясная
Свинина мясная содержит несколько меньше белков, чем говядина и баранина, но мясо более вкусно и сочно.
Свиной жир легко усваивается, особенно в виде сырого соленого сала и имеет большую питательную ценность – содержит в своем составе незаменимые жирные кислоты – линолевую и линоленовую, без которых в организме человека невозможен жировой обмен.
Однако есть и недостаток – в свином жире много холестерина, поэтому свинину нельзя употреблять пожилым людям с сердечно-сосудистыми заболеваниями и атеросклерозом, а также с заболеваниями печени и желудочно-кишечного тракта
Ребрышки свиные в пиве
Ребрышки свиные – 500 гр Лимон – 1/2 часть Мука – 2 столовые ложки Лук репчатый – 1 головка Лимонный сок – 1 столовая ложка Пиво – 1/2 стакана Томатная паста – 2 столовые ложки Сало свиное топленое – 1 столовая ложка Перец черный молотый и соль – по вкусу