Энциклопедия «Техника» (с иллюстрациями) - Страница 57

Греческие бирема и трирема
В северных морях и у восточных славян в течение многих веков использовались ладьи. Они достигали 30–40 м в длину и имели до 60 вёсел с каждого борта. Венецианская галера имела длину 40–50 м, ширину корпуса ок. 5 м, высоту борта 1.8 м. По бортам галеры располагалось по 26–30 гребцов, каждый со своим веслом. Крупные галеры оснащались парусами, а вёсла использовались как вспомогательные движители. Гребные суда сыграли большую роль в истории российского флота. На гребных судах, построенных Петром I на подмосковных и воронежских верфях, была одержана Азовская победа 1696 г. Позднее с учётом венецианского опыта в России был создан крупнейший в Европе галерный флот. С кон. 18 в. строительство гребных судов военного назначения прекратилось.

Палубное боевое судно Киевской Руси
Многочисленную группу гребных судов ныне составляют малые суда, которые используются для перевозки людей и грузов, в качестве спасательных средств, в спортивных целях, для отдыха и туризма. К ним относятся разнообразные лодки, различающиеся мореходными качествами, размерами, конструкцией, типом гребных вёсел, способом гребли.
Большая группа судовых лодок имеет общее название – шлюпки. Для работы в море используют самые крупные 14—22-вёсельные беспалубные высокобортные шлюпки – баркасы (полубаркасы). Распространены шлюпки среднего размера, используемые для перевозки грузов, – ялы, широкие, короткие шлюпки с 2–8 вёслами. Самой маленькой шлюпкой является тузик (туз), на два посадочных места. К быстроходным шлюпкам относят вельбот – лодку с относительно большим удлинением корпуса и острыми носом и кормой игичку – лёгкую, узкую, обычно шестивёсельную лодку для распашной гребли. Спасательные шлюпки вмещают от 10 до 150 человек. Для обеспечения плавучести в случае попадания в них воды спасательные шлюпки снабжают встроенными в корпус воздушными ящиками. Спасательные шлюпки имеют разную длину: на малых судах – не меньше 4.9 м, на больших – не менее 7.3 м.
Помимо шлюпок, существует множество менее мореходных, обычно плоскодонных лодок различного назначения. Среди них широко известная одновёсельная венецианская гондола и разнообразные лодки без названия – цельные, надувные или разборные. К спортивным гребным лодкам относят лодки с уключинами – академические суда, лодки без уключин – байдарки и каноэ, а также спортивные лодки для народной гребли. Академические суда берут начало от гички, байдарки – от лодки хозяйственного назначения эскимосов и исландцев (байдарка-каяк), каноэ – от лодок североамериканских индейцев (каноэ-пирога).
Байдарки делятся на гоночные – одноместные, двухместные и четырёхместные; туристические – одноместные и двухместные; слаломные – одноместная. Для посадки гребца в палубе байдарки делается вырез с деревянным бортиком – кокпитом. В кормовой части байдарки устанавливается рулевое управление. Для водного слалома применяют байдарки, обладающие высокой манёвренностью и остойчивостью. Вёсла байдарок двухлопастные, лопасти развёрнуты под углом 90° одна относительно другой.
Каноэ делятся на гоночные – на одно, два и десять посадочных мест, каноэ для слалома – на одно и два места – и каноэ для скоростного спуска – на одно и два места. Корпус состоит из выклеенной обшивки, киля и привальных брусьев. На дне устанавливают полик с упорами для ног. Рулевого устройства у каноэ нет. Гоночные каноэ беспалубные, слаломные имеют палубу и кокпит, как у байдарки. Для опорной ноги имеется подушка из водонепроницаемого брезента. На каноэ применяется однолопастное весло, подбираемое индивидуально.
К спортивным лодкам для народной гребли относятся шлюпки-одиночки, шлюпки-двойки, ялы (двух-, четырёх – и шестивёсельные), тузики (тузы) и вельботы (одиннадцати – и шестивёсельные). При спортивной гребле используются лишь четырёх – и шестивёсельные ялы со специальными распашными академическими вёслами.

Шестивесельный ял
ГРÉЙФЕР, 1) грузозахватное приспособление в виде ковша, имеющего поворотные челюсти для захвата грузов. Служит рабочим органом погрузчиков, грузоподъёмных кранов, экскаваторов, талей и других подъёмных машин. Применяется для перегрузки и транспортирования на небольшие расстояния различных грузов. Для сыпучих грузов (песка, гравия, щебня) используют двухчелюстные грейферы, челюсти которых снабжены зубьями для подгребания и забора материалов. Штучные грузы (гл. обр. лесоматериалы) захватывают и перемещают грейферами, имеющими специальные когти. Применение грейферов позволяет полностью автоматизировать операции погрузки и выгрузки грузов.

Грейфер
2) Звено грейферного механизма киносъёмочного или кинопроекционного аппаратов, обеспечивающее скачкообразное движение киноплёнки в фильмовом канале.
ГРИЛЬ электрический, жарочный шкаф для приготовления мясных и рыбных блюд с нагревом инфракрасным излучением (от электронагревательного элемента). Мясо или тушку птицы насаживают на вертел и закрепляют на нём с помощью зажимов. При медленном вращении вертела с помощью электродвигателя происходит равномерное обжаривание мяса или тушки птицы со всех сторон. Для жарки котлет, рыбы и приготовления гренок используются решётки, устанавливаемые на различном расстоянии от нагревательных элементов. Электрические грили снабжаются подсветкой, регуляторами мощности или температуры и таймерами или программаторами для задания продолжительности тепловой обработки того или иного блюда.
ГРОЗОЗАЩИ́ТНЫЙ ТРОС, дополнительный заземлённый провод в воздушной линии электропередачи, служащий для защиты основных проводов от прямых ударов молнии. Грозозащитный трос подвешивают над токонесущими проводами и надёжно заземляют у каждой опоры. Обычно грозозащитный трос делают из стальных оцинкованных проволок; сечение его от 50 до 70 ммІ.
В линиях электропередачи на металлических опорах с напряжением 110 кВ и выше грозозащитный трос подвешивают обычно по всей длине линии; на линиях более низкого напряжения – только на подходах к электрическим станциям и подстанциям.
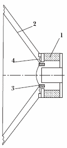
ГРОМКОГОВОРИ́ТЕЛЬ, устройство для преобразования электрических колебаний звуковой частоты в звуковые. Используется в радиоприёмниках, электрофонах, магнитофонах, музыкальных центрах, акустических системах для громкого воспроизведения речи и музыки. По способу преобразования делятся на громкоговорители электродинамические, электростатические и др. Наиболее распространены электродинамические громкоговорители (динамики), основанные на взаимодействии магнитного поля постоянного магнита с током в подвижной катушке, в которую подаются электрические колебания звуковой частоты. Катушка и жёстко соединённый с ней диффузор образуют подвижную систему громкоговорителя. Механические колебания катушки и соответственно диффузора сопровождаются излучением звуковых волн либо непосредственно, либо через рупор.

Схема электродинамического громкоговорителя прямого излучения:
1 – магнит; 2 – подвижная система (диффузор); 3 – звуковая катушка; 4 – центрирующая шайба
В обиходе громкоговорителем часто называют также приёмник абонентской сети проводного вещания для приёма одной или трёх программ. В 1930—50-х гг. такие громкоговорители называли тарелками из-за их большого диффузора.
