Энциклопедия радиолюбителя - Страница 73
Характерно, что полуволновые вибраторы подсоединены к общему кабелю снижения без всяких согласующих устройств (рис. 26.12). В качестве кабеля снижения используется распространенный кабель марки РК-75-9-14 с волновым сопротивлением 75 Ом. В табл. 26.3 приведены электрические и конструктивные данные радиочастотных (РЧ) кабелей с волновым сопротивлением 75 Ом. При приеме слабых сигналов следует использовать кабель как можно с меньшим коэффициентом затухания. Обычно, чем больше наружный диаметр кабеля, тем меньше в нем потери телевизионного сигнала.

Примечание: М — медная проволока; МЛ — луженая медная проволока; СМЛ — луженая биметаллическая (стальная) проволока; ОМ — оплетка медной проволокой; ОМЛ — оплетка луженой медной проволокой; П — полиэтилен: В — поливинилхлоридный пластикат.
Необходимая длина вибратора с учетом укорочения для 1…12 каналов приведена в табл. 26.4.

Описанная конструкция двухканальной антенны хорошо зарекомендовала себя в работе. Она дает достаточно качественные цветные телепередачи даже в сложных условиях приема, когда телецентры находятся в диаметрально противоположных направлениях.
26.6. «Народная» телеантенна
Появление персональных компьютеров привело к вытеснению больших ЭВМ типа ЕС. В нашей стране вычислительные центры, приобретя персональные компьютеры, сразу демонтировали и выбрасывали большие ЭВМ просто на свалку. Многим деталям, входящих в состав выброшенных ЭВМ, наш смекалистый народ нашел применение. Так появилась простая антенна, выполненная на основе алюминиевого диска магнитной памяти ЭВМ ЕС «Ряд», которая была в свое время широко распространена в нашей необъятной стране. И сейчас, по прошествии 10 лет после «славной» перестройки в нашей стране, антенну можно приобрести на рынке по приемлемой цене. Из-за своей простоты конструкции, в сочетании с неплохими характеристиками, антенна получила широкое распространение и поистине стала народной конструкцией.
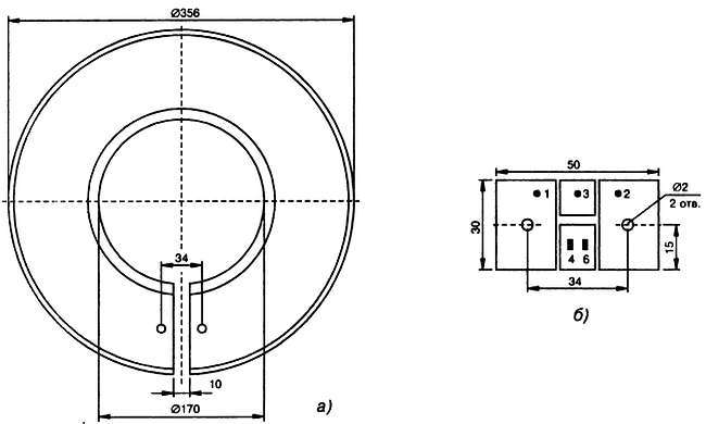
Эта антенна представляет собой диск с внешним диаметром 356 мм, внутренним — 170 мм и толщиной 1 мм, в котором сделан пропил шириной 10 мм (рис. 26.15. а). На место пропила устанавливается печатная монтажная плата из стеклотекстолита толщиной 1 мм (рис. 26.15. б). В этой плате имеются два отверстия для крепления антенны винтами М3. К печатной плате, прикрепленной к антенне, припаиваются выводы согласующего трансформатора и кабеля снижения. Анализ качества работы показал, что ее работа во многом определяется наличием согласующего трансформатора Т1 (рис. 26.16). Для трансформатора лучше всего использовать кольцевой сердечник с внешним диаметром 6… 10 мм, внутренним — 3…7 мм и толщиной 2…3 мм.

Рис. 26.15. Конструкция телеантенны из алюминиевого диска магнитной памяти ЭВМ (а) и присоединяемая к ней монтажная пластина (б)

Рис. 26.16. Конструкция согласующего трансформатора телеантенны из алюминиевого диска
Обмотки трансформатора наматываются одножильным изолированным проводом с диаметром жилы 0,2…0,25 мм и имеют одинаковое число витков, от 2 до 3 витков. Длина отводов катушек составляет примерно 20 мм. При наличии такого трансформатора возможен прием в метровом и дециметровом диапазонах на удалении 25…30 км от телецентра. При удалении от телецентра до 50 км антенна с трансформатором удовлетворительно работает только на дециметровых каналах.
При расстоянии более 50 км от передающей телевышки качество приема получается плохое. Без согласующего трансформатора дальность приема телепрограмм на антенну уменьшается в два раза. В этом случае появляется двоение изображения и теряется его четкость. Причина лежит в несогласованности антенны и кабеля снижения, антенна имеет симметричный выход, а кабель — несимметричный.
Практика показывает, что значительно повысить качество приема на эту антенну можно и без согласующего трансформатора. Для этого необходимо собрать антенну из двух дисков и подключить кабель снижения прямо к выводам антенны (рис. 26.17).

Рис. 26.17. Конструкция телеантенны из двух алюминиевых дисков магнитной памяти ЭВМ без согласующего трансформатора
Конструктивно такая антенна выполняется из двух дисков с пропилами шириной 10 мм, которые соединяются двумя монтажными пластинами из двухстороннего фольгированного стеклотекстолита размером 30x90 мм. Соединение можно выполнить и пластинами из одностороннего фольгированного стеклотекстолита, латуни или меди толщиной 0,5…1 мм. Для соединения дисков используется 8 винтов М3 или М4. Центральная жила кабеля подпаивается к точке 1, а оплетка — к точке 2. Качество приема телесигналов на антенну с двумя дисками выше, чем с одним диском, что заметно особенно на большом удалении от телецентра.
26.7. Проверка и настройка телевизора по испытательной таблице
В период времени, когда нет телепередач, на экране телевизора частот можно увидеть цветную таблицу, которая носит название «Универсальная электрическая испытательная таблица» (УЭИТ) (рис. 26.18).

Рис. 26.18. Вид на экране телевизора универсальной электрической испытательной таблицы (УЭИТ)
УЭИТ позволяет произвести оценку и контроль следующих параметров телевизионного изображения:
• равномерность яркости по полю изображения, яркость, контрастность;
• количество воспроизводимых градаций яркости;
• формат, размер изображения, линейность вертикальной (кадровой) и горизонтальной (строчной) разверток;
• геометрические искажения растра;
• качество синхронизации разверток, качество цветной синхронизации, качество чересстрочного разложения;
• разрешающую способность по горизонтали;
• статическое и динамическое сведения;
• искажения вида «многоконтурности», «тянучки», «окантовки»; динамический баланс белого и чистоту цвета;
• верность воспроизведения цветов, верность воспроизведения цвета мелких деталей и качество цветовых переходов;
• качество работы цепей коррекции предыскажений (контроль предыскажений сигналов цветности и совпадения яркостного и цветоразностного сигналов во времени).
Универсальная таблица обеспечивает установку уровня черного, установку нулей частотных дискриминаторов, центровку изображения, а также контроль размаха полного цветного телесигнала и его составляющих.
В табл. 26.5 приведены наименования и назначения элементов УЭИТ.
Таблица 26.5. Наименование и назначение элементов УЭИТ
Координаты элементов … Назначение
_____________________________________
По полю таблицы … Для оценки нелинейных и геометрических искажений, для проверки точности сведения лучей цветного кинескопа
1-я и 20-я полосы… Для контроля качества синхронизации и синхросигнала
На рамке реперные линии… Для установки размеров и формата (4:3) рабочего поля изображения
Центральная и угловые части таблицы… Для установки формата изображения и оценки нелинейных и геометрических искажений растра
16-я полоса от Ж до Ф… Для оценки окантовок, тянущихся продолжений, для установки характеристики передачи импульсов, для контроля качества матрицирования по соответствию уровней сигнала яркости и цветоразностных сигналов (совместно с соседним элементом цветных полос)
10-я, 11-я полосы от Д до Ц… Для оценки искажений вида «тянучек»
8 полоса от Д до Ц… Для контроля воспроизведения градаций яркости, для установки уровня черного, для контроля статического и динамического баланса белого, для установки «нуля- дискриминаторов. Черная полоса «серой шкалы- соответствует минимальному, а белая — максимальному уровню яркости (уровню сигнала яркости)
8-я полоса В… Для установки уровня черного
10-я полоса от С до X… Для проверки наличия и качества чересстрочности разложения изображения
13-я полоса… Для визуальной оценки разрешающей способности по горизонтали, для контроля качества фокусировки, для оценки амплитудно-частотных характеристик канала изображения
В точке пересечения 9-й горизонтальной и 11-й, 15-й вертикальных линий сетчатого поля… Для контроля качества фокусировки
3-я, 4-я, 17-я, 18-я полосы Г, Д и Ц, Ч… Для визуальной оценки разрешающей способности по горизонтали и качества фокусировки и углах растра
14-я, 15-я полосы от Б до Щ… Для оценки верности цветопередачи и точности матрицирования
6-я, 7-я полосы от Б до Щ… Для оценки верности цветопередачи при пониженной насыщенности и контроля цветных переходов
9-я полоса от Д до Ц… Для оценки воспроизведения цвета мелких деталей, для контроля расхождения яркостного и цветоразностных сигналов во времени, для контроля характеристик предыскажений сигнала цветности
12-я полоса от Д до Ц… Для оценки линейности характеристик частотных дискриминаторов