Электричество: просто и безопасно [в вопросах и ответах] - Страница 8
Лучше всего использовать контактный зажим электрического аппарата. Подойдет одногнездовой зажим для проводов, сечение которых не превышает 4 мм2. Как правило, данный тип зажимов используется в осветительных приборах или в ответвительных коробках. Контактные винты должны иметь диаметр от 4 до 6 мм. Если соединяемые в одну конструкцию провода изготовлены из различных металлов, то в этом случае каждый из них придется закреплять с помощью отдельного винта.
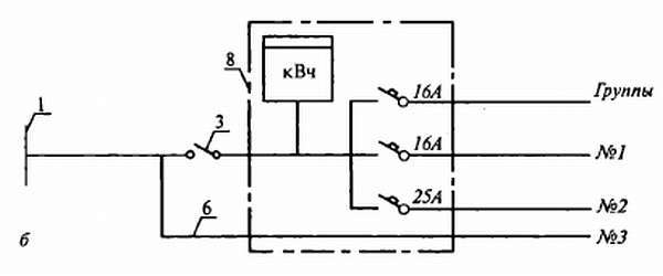
Что такое групповая сеть?
Чаще всего подобную систему применяют в приусадебных постройках. Она имеет одну фазу. Ее монтируют из трех групп.
1. Для запитывания осветительных приборов.
2. Для подведения электрического тока к штепсельным розеткам, которые должны быть рассчитаны на силу тока до 6 А, без использования защитных контактов.
3. Для запитывания электроприемников, для которых требуется заземление или зануление корпуса. К таким приборам можно отнести кухонную плиту. В эту же группу входят штепсельные розетки, которые делают с защитным контактом. Кроме того, вполне допустимо смешанно запитывать штепсельные розетки без защиты и осветительные приборы.
Категорически запрещается объединять нулевые проводники, которые принадлежат к разным группам. В случае если провод используется для того, чтобы присоединить защитные контакты, идущие от штепсельных розеток, в него не следует вводить выключатели или предохранители (рис. 3).
![Электричество: просто и безопасно [в вопросах и ответах] - _03.jpg](/covers34534265325342/4/4/8/3/2/551472/1474302941/_03.jpg)
![Электричество: просто и безопасно [в вопросах и ответах] - _04.jpg](/covers34534265325342/4/4/8/3/2/551472/1474302941/_04.jpg)
![Электричество: просто и безопасно [в вопросах и ответах] - _05.jpg](/covers34534265325342/4/4/8/3/2/551472/1474302941/_05.jpg)
Рис. 3. Схема питания групповой сети: а — многолинейная; б — однолинейная с воздушным вводом; в — однолинейная в варианте с кабельным вводом:
1 — воздушная линия; 2 — кабельная линия (выполняется по проекту наружных сетей); 3 — двухполюсный пакетный выключатель; 4 — счетчик; 5 — выключатель автоматический; 6 — провод для зануления; 7 — вводной ящик; 8 — квартирный щиток; 9 — рубильник; 10 — предохранители
Какие номинальные токи у расцепителей?
Расцепители автоматических выключателей должны быть рассчитаны наследующие номинальные токи:
— 16 А — для групповой и осветительной сети, а также сети штепсельных розеток, которые должны быть рассчитаны на силу тока от 6 до 10 А в случае, если в доме не установлен кондиционер;
— 25 А — для сети штепсельных розеток при установленном в доме или квартире кондиционере. При этом мощность кондиционера не должна превышать 1,3 кВт. Кроме того, такой номинальный ток подойдет для групповой линии питания бытовых приборов, суммарная мощность которых при одновременной работе не должна превышать 1,4 кВт;
— 25–32 А — для групповой линии, от которой будет запитываться электрическая плита. Мощность такой плиты должна быть не более 5,8 кВт;
— 40 А — такая сила тока также рассчитана на групповую линию питания электрической плиты, мощность которой будет находиться в пределах 5,9–8 кВт.
Устройство электропроводки в жилом доме и хозяйственных строениях
Каким должен быть план электропроводки?
Как уже говорилось ранее, на плане электропроводки должны быть указаны как непосредственно электропроводка, так и все светильники, розетки, выключатели и иное статичное электрооборудование (рис. 4).
![Электричество: просто и безопасно [в вопросах и ответах] - _06.jpg](/covers34534265325342/4/4/8/3/2/551472/1474302941/_06.jpg)
Рис. 4. План электропроводки одноквартирного жилого дома:
I — крыльцо; II — тамбур; III — санузел; IV — помещение для стирки; V — прихожая; VI — жилая комната; VII — кухня; VIII — кладовая; IX — веранда; 1 — силовой ящик; 2 — квартирный щиток; 3 — одно- или двухламповый светильник; 4 — штепсельная розетка с защитным контактом; 5 — однополюсный герметический выключатель; 6 — штепсельная розетка без защитного контакта; 7 — милицейский фонарь; 8 — кнопочный выключатель (кнопка) для звонка; 9 — звонок; 10 — однополюсный выключатель; 11 — сдвоенный выключатель; 12 — многоламповый светильник с раздельным включением ламп; 13 — штепсельная розетка с выключателем
Кроме того, в приложении к этому плану нужно указать некоторые характерные особенности фрагментов схемы, причем на них должны быть как можно подробнее указаны соединения (рис. 5).
![Электричество: просто и безопасно [в вопросах и ответах] - _07.jpg](/covers34534265325342/4/4/8/3/2/551472/1474302941/_07.jpg)
Рис. 5. Узлы соединений в ответвительных коробках:
14 — коробка; 15 — соединение проводников; Ф — фаза; 0 — ноль; 3, 4, 5, 8, 9, 10, 11, 12 — см. подпись к рис. 4
Какие особенности могут быть в схеме электропроводки?
Если розетка имеет два полюса, а также зануляющий контакт, то к ней должны подходить сразу три провода, причем один из них будет зануляющим. Его необходимо крепить в конструкции сети так, чтобы ни в одном месте не было ни малейшего разрыва. Кроме того, ни в коем случае нельзя менять местами зануляющий провод и нулевой рабочий провод, так как это может привести к серьезному поражению электрическим током. Фазный и нулевой провод соединяют с контактными винтами в самой розетке.
Если розетка штепсельная, то ее соединяют с фазным и нулевым проводами. В этом случае абсолютно не важно, в каком порядке эти провода будут подходить к конструкции.
Бывает так, что в перегородке можно установить две розетки в одном отверстии — так называемая сквозная розетка. Для того чтобы подключить подобную конструкцию, нужно всего лишь разместить в перегородке перемычку, которая будет соединять гнезда этих розеток.
Как установить в систему электропроводки светильник?
Если осветительный прибор рассчитан на одну или две лампочки, то по пути от фазного провода к патрону светильника устанавливают выключатель. Причем под самим выключателем можно установить штепсельную розетку.
Для того чтобы такая конструкция правильно функционировала, нужно одно из гнезд розетки соединить с одним из контактных винтов выключателя. Именно к этому винту должен подходить фазный провод. Второе гнездо в этом случае соединяется с нулевым проводом, причем делать это нужно в ответвительной коробке.
Если вам нужно повесить люстру с раздельным включением ламп, первые выводы от всех ламп нужно соединить с нулевым проводом, а оба выключателя подвести к фазному проводу. Звонок соединяют с сетью через кнопочный выключатель. И проводка, и сама кнопка должны быть рассчитаны на напряжение 250 В. Стоит особо отметить, что кнопочный выключатель категорически запрещается устанавливать в сырых помещениях и во дворе.
Как выполнить электропроводку с обеспечением мер электробезопасности?
Есть целый ряд обязательных к выполнению моментов, которые позволят обезопасить людей от поражения электрическим током.
1. Абсолютно все металлические корпуса необходимо занулить. Это относится как к однофазным электрическим плитам, так и бытовым электроприборам и машинам, мощность которых более 1,3 кВт. Причем занулить необходимо еще и металлические трубы, если электропроводка будет проходить по ним. Зануление в этом случае производится путем проложения отдельного провода, сечение которого должно совпадать с сечением фазного провода, а провод должен быть проведен от квартирного щитка. Его соединяют с нулевым защитным проводником питающей сети непосредственно перед счетчиком (сделать это нужно со стороны ввода) и перед отключающим устройством, если оно имеется в конструкции электропроводки.