Электричество: просто и безопасно [в вопросах и ответах] - Страница 10
Однако заземление крюков не способно на 100 % обеспечить защиту от проникновения во внутренние линии опасных потенциалов. По этой причине в случае, если вы находитесь в сельской местности, то во время грозы лучше всего не подходить к электропроводке и прочим проводам на расстояние меньше 5 м. Также не стоит прикасаться к приборам, которые соединены с электрической сетью, и не нужно приближаться к заземляющему спуску на расстояние меньше 3–5 м.
Ответвление и заземление
Как правильно сделать ответвление?
Ответвление изготавливают без размещения каких-либо дополнительных опор в случае, если от его начала до внутренних линий не больше 25 м.
Лучше всего для изготовления ответвления использовать изолированные провода, однако, если вы решите применить для этой цели неизолированные, то это также вполне допустимо. В этом случае на каждый провод придется надевать мягкую изоляционную трубку.
В случае если длина ответвления больше 25 м, нужно продумать, где будут установлены дополнительные опоры. При этом от внутренних линий до последней опоры нужно протягивать неизолированный провод, а от последней опоры до стены строения — изолированный.
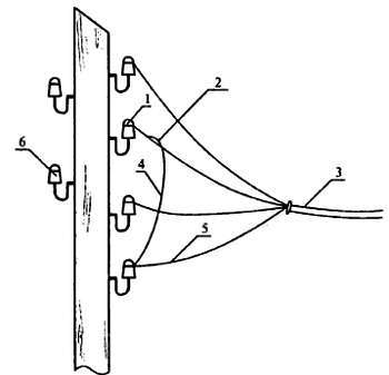
Несущий трос лучше всего прикрепить наглухо и соединить с нулевым проводом (рис. 8).
![Электричество: просто и безопасно [в вопросах и ответах] - _14.jpg](/covers34534265325342/4/4/8/3/2/551472/1474302941/_14.jpg)
Рис. 8. Ответвление от внутренних линий проводом с несущим тросом:
1 — дополнительный изолятор; 2 — трос; 3 — провода ответвления; 4 — зануление троса; 5 — нулевая жила; 6 — изолятор для провода наружного освещения
Какие меры безопасности предпринимают при проведении ответвления?
На стене здания в целях безопасности необходимо разместить изоляторы. Если провода имеют маркировку АВТВ или АВТУ, то для них нужно использовать один изолятор. На нем будет крепиться несущий трос.
В ином случае изоляторы ставятся по количеству проводов: по два изолятора устанавливаются в случае однофазного ввода и по четыре при трехфазном.
Кроме того, от проводов ответвления до земли должно быть 6 м или более в случае, если провод будет проходить над проезжей частью. Если же он будет пересекать пешеходную дорожку, то высота может быть немного ниже — 3,5 м, сами же изоляторы должны быть установлены на стене не ниже 2,75 м (рис. 9).
![Электричество: просто и безопасно [в вопросах и ответах] - _15.jpg](/covers34534265325342/4/4/8/3/2/551472/1474302941/_15.jpg)
Рис. 9. Нормированные расстояния ответвления от внутренних линий:
1 — проезжая часть; 2 — пешеходная дорожка; 3 — опора внутренней линии; 4 — дополнительная опора
Вполне допустимо устанавливать изоляторы рядом друг с другом или один под другим. До выступающих элементов здания, например до крыши или водосточного желоба, должно также быть некоторое расстояние — 20 см или, по возможности, больше (рис. 10).
![Электричество: просто и безопасно [в вопросах и ответах] - _16.jpg](/covers34534265325342/4/4/8/3/2/551472/1474302941/_16.jpg)
Рис. 10. Крепление изолятора ввода на деревянной и каменной стенах
Как правильно закрепить изолятор на стене?
В первую очередь, изоляторы соединяют с крюками, причем данное соединение должно быть как можно более жестким. После этого крюки монтируют к наружной стене.
Если здание выполнено из бетона или кирпича, то в этом случае для каждого крюка нужно изготовить специальное гнездо, глубина которого должна составлять 100 мм или немного больше. После этого в полученное отверстие вставляют крюк с изолятором и заделывают отверстие цементным раствором.
Если стены деревянные (не важно, сделаны они из досок или из бревен), то нужно просверлить отверстие для крюка, а затем вкрутить его туда/ Если же стены вашего дома имеют каркасно-засыпную, глинобитную структуру, то крюки нужно размещать на деревянном брусе, толщиной от 70 до 100 мм. Его крепят к внешней стене с помощью шурупов или шпилек. В некоторых случаях необходимо дополнительно усиливать стену доской. Делают это изнутри, а затем через внешнюю тонкую стену к этой доске крепят брус.
Какие кабели подойдут для изготовления ответвления?
Для сооружение конструкции ответвления необходимо использовать кабель с медными жилами (ВВГ, ПВГ и некоторые другие), сечение которого должно составлять 2,5 мм2. Можно также брать для этой цели кабель с алюминиевыми жилами (АВВГ, АПВГ), однако в этом случае его сечение должно быть больше — около 4 мм2.
Как правильно проложить кабель?
Кабель проводят по стойке опоры. В верхней части опоры кабель можно прокладывать открыто на скобах. Если же он будет находиться на высоте менее 1,5 м, то его следует поместить в трубу. От последней опоры по трубе кабель уводят под землю таким образом, чтобы он шел под землей до здания, а у самого здания выходил наружу. Его необходимо вести на глубине минимум 70 см.
Для этого необходимо выкопать траншею чуть большей глубины, засыпать ее землей, в которой не должно содержаться шлака, камней или строительного мусора. Затем туда помещают трубу с кабелем, которую сверху засыпают землей. Если в районе этого места в дальнейшем предполагается производить земляные работы, то на слой засыпки нужно уложить бетонные плитки или кирпичи. Затем производят ввод ответвительной линии непосредственно в здание. Как это правильно сделать, изображено на рис. 11.
![Электричество: просто и безопасно [в вопросах и ответах] - _17.jpg](/covers34534265325342/4/4/8/3/2/551472/1474302941/_17.jpg)
Рис. 11. Ввод в здание через трубостойки:
а — через крышу; б — через стену
Как правильно произвести повторное заземление?
В случае если для электроприемника необходимо изготовить защитное зануление, придется еще раз заземлить нулевой провод. Вполне допустимо обойтись и без него, но так можно поступить лишь в том случае, если повторное заземление находится на опоре внутренних линий, а сама длина подобного ответвления не превышает 10 м.
Необходимость повторного заземления на внутреннюю линию нужно определить по наличию заземляющего спуска, к которому должен быть подключен нулевой провод, а также крюки либо штыри изоляторов.
Заземляющий спуск должен быть проложен по стойке опоры до заземлителя. При этом длина элементов заземлителя, общее количество стержней или труб, а также глубина, на которой они должны находиться, напрямую зависят от характеристик почвы и от уровня залегания грунтовых вод.
Защитное заземление электроустановок
Что может случиться с человеком при соприкосновении с токопроводящей частью?
Если человек дотронется до проводящих электрический ток элементов электрической установки в тот момент, когда она будет находиться под напряжением, или же к металлическим деталям, которые могут оказаться под напряжением из-за нарушения изоляционного слоя, его может поразить электрическим током.
Как правило, поражение электрическим током представляет собой удар или электрическую травму, которая проявляется в виде ожога.
От электрического удара человек может на время лишиться сознания, это может даже привести к остановке дыхания и кровообращения. В некоторых случаях удар электрическим током может привести даже к смерти. Были зарегистрированы случаи, когда смерть наступала от удара электрическим током, напряжение которого было немногим более 12 В.
Как не допустить поражения электрическим током?