Большая Советская Энциклопедия (ВИ) - Страница 4
При В. р. с дроблением стружки наложение колебаний осуществляют в осевом направлении (в направлении подачи); эффективное и надёжное действие достигается при обработке поверхности по 5—6-му классам чистоты при заданной точности обработки и стойкости инструмента. Основные особенности В. р. с осевыми колебаниями: большое изменение толщины среза за один цикл колебания инструмента, большое изменение угла резания при незначительном изменении скоростей резания.
При В. р. наложение колебаний с целью улучшения обрабатываемости осуществляют в тангенциальном направлении по окружной составляющей скорости резания. Использование тангенциальных вибраций сопровождается периодическим возрастанием окружной скорости с переменным воздействием на срезаемый слой при практически неизменных сечениях среза, подаче и глубине резания.
В. р., применяемое при работе вибрационных пил и ножниц, даёт хорошее качество кромок и значительно повышает производительность.
Кинематическая схема с колебательными движениями в радиальном направлении при В. р. не применяется, так как при этом резко снижается класс чистоты обработанной поверхности.
Основные технологические условия рационального применения В. р. — правильный выбор параметров вибраций (амплитуды, частоты).
В. В. Данилевский.
Вибрационное «чувство»
Вибрацио'нное «чу'вство», ощущения, возникающие при воздействии последовательной смены изменяющихся по силе и частоте механических, прежде всего звуковых, раздражений. В. «ч.» отличается от ощущений давления или прикосновения к коже. Вибрация воспринимается механорецепторами, в частности тельцами Пачини, расположенными в различных частях организма: около кровеносных сосудов, в надкостнице, подкожной клетчатке и т.д.; особенно много их в кистях рук и подошвах ног. Различные устройства, преобразующие слуховые и зрительные сигналы в механические колебания, позволяют людям, лишённым слуха или зрения, за счёт В. «ч.» увеличивать объём воспринимаемой ими из окружающей среды информации. См. также Вибрация .
Лит.: Джелдард Ф., Кожные системы связи, в кн.: Теория связи в сенсорных системах, пер. с англ., М., 1964.
А. С. Миркин.
Вибрационные спектры
Вибрацио'нные спе'ктры, колебательные спектры, молекулярные спектры , обусловленные колебанием атомов в молекулах.
Вибрационный гироскоп
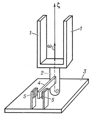
Вибрацио'нный гироско'п, прибор для определения угловой скорости объекта, содержащий реагирующие на вращение объекта вибрирующие детали. Различают В. г. стержневого и роторного типа. У В. г. стержневого типа чувствительным элементом являются некоторые вибрирующие массы, например стержни, подобные ветвям камертона.
Один из В. г. стержневого типа, получивший практическое применение, называется гиротроном. Его чувствительным элементом (см. рис. ) является вибратор, состоящий из стержней 1 , упругого торсиона 2 , связывающего стержни с основанием 3 вибратора, пластинки 4 , жестко скрепленной с торсионом и перемещающейся в поле катушек 5 , укрепленных на основании 3 . Ветви вибратора-камертона с помощью специальной электрической. схемы приводятся в колебательное движение. Если при этом объект вместе с основанием 3 вибратора поворачивается вокруг оси Oz с угловой скоростью wV , то возникает момент Кориолиса сил инерции, вызывающий крутильные колебания вибратора вокруг оси Oz. При этом пластинка 4 колеблется между катушками 5 ; амплитуда колебаний пропорциональна угловой скорости wV . Значение wV снимают с катушек 5 с помощью радиотехнических методов. Прибор обладает рядом достоинств: отсутствие карданова подвеса, вращающихся и трущихся частей; наличие одной оси чувствительности; линейность показаний; высокая надёжность и др.
Принцип работы роторного В. г. аналогичен, но вместо стержней и пластин вибрирующим элементом является вращающийся ротор с упругим подвесом. Однако создание В. г. сопряжено с рядом технических трудностей. Возможности применения В. г. весьма разнообразны. Наиболее просто прибор используется в качестве измерителя угловой скорости объекта. В. г. могут также найти применение в системах гироскопической стабилизации, в инерциальных навигационных системах и др. областях гироскопической техники.
А. Ю. Ишлинский, С. С. Ривкин.

Чувствительный элемент (вибратор) гиротрона.
Вибрационный регулятор
Вибрацио'нный регуля'тор, регулирующее устройство, исполнительный элемент которого находится в режиме непрерывных колебаний (вибраций) с периодом, значительно меньшим постоянной времени объекта регулирования. Системы с В. р. различаются по характеру колебательного режима исполнительного элемента. В простейшем случае — это автоколебательный режим самой системы регулирования. В. р. просты по конструкции, компактны и широко применяются в установках, в которых допускаются небольшие колебания около среднего значения регулируемой величины.
Наиболее распространённый В. р. — регулятор напряжения, содержащий электромагнитное реле с большим коэффициентом возврата (рис. ). Катушка реле Р включена на напряжение генератора Г . Если напряжение генератора ниже заданного, то нормально замкнутые контакты р реле шунтируют сопротивление R в цепи обмотки возбуждения B, в результате чего напряжение начинает возрастать. Когда оно достигает определённого значения, реле срабатывает, его контакты размыкаются и напряжение начинает уменьшаться. Это приводит к отпусканию реле, контакты которого вновь размыкаются, и весь процесс повторяется. Напряжение генератора с некоторой частотой пульсирует вблизи заданного среднего значения. Такие В. р. используются для генераторов небольшой мощности, например, автомобильных и авиационных.
Уставка В. р. зависит от натяжения пружины реле, размера зазора магнитной системы или от электрического сопротивления в цепи катушки.
Колебательный режим исполнительного элемента В. р. может создаваться также посторонним устройством, не зависящим от регулируемого объекта.
Лит.: Основы автоматического регулирования. Теория, под ред. В. В. Солодовникова, М., 1954; Цыпкин Я. З., Теория релейных систем автоматического регулирования, М., 1955.

Схема простейшего вибрационного регулятора напряжения.
Вибрационный стенд
Вибрацио'нный стенд, вибрационная испытательная или калибровочная машина, к рабочей платформе которой прикрепляются изделия для вибрационных испытаний или датчики виброизмерительной аппаратуры, подвергаемой калибровке (тарированию). Существуют В. с. универсальные и специального назначения. Амплитуду и частоту колебаний платформы универсального В. с. можно плавно изменять в определённом диапазоне, в некоторых случаях автоматическим программным устройством. Наиболее распространены однокомпонентные В. с. с прямолинейными колебаниями платформы, перпендикулярными её поверхности. Нередко В. с. снабжаются устройством для наклона платформы к горизонту от 0 до 90°. Применяют также ударные и ударно-вибрационные стенды, колебания рабочей платформы которых сопровождаются ударами. К основным типам В. с. относятся механические, гидравлические, электродинамические, магнитострикционные (см. Магнитострикция ) и пьезоэлектрические (см. Пьезоэлектричество ). Механические В. с. обычно имеют кулачковый (например, ударные стенды), кривошипно-шатунный (с жёстким или упругим шатуном) или центробежный вибрационный привод. Их частотные диапазоны обычно лежат в интервале от 0 до 300 гц . Грузоподъёмность гидравлических В. с., как правило, от 100 кг до 100 т , частотный диапазон — от 0 до 100 гц , электродинамических В. с. соответственно от 10 до 100 кг и от 5 гц до 10 кгц . Электродинамические В. с. большой грузоподъёмности очень громоздки и энергоёмки, требуют мощного усилителя и системы охлаждения. Магнитострикционные и пьезоэлектрические В. с. работают при частотах до 100 кгц . Они имеют небольшую грузоподъёмность и используются обычно в качестве калибровочных наряду с механическими и электродинамическими.