Большая Советская Энциклопедия (УС) - Страница 17
Описанные типы У. з. ч. применимы для ускорения не только электронов и протонов, но и других заряженных частиц. Электронные ускорители практически без переделок могут быть использованы для ускорения позитронов. Для ускорения тяжёлых частиц используются различные типы протонных ускорителей. Наибольшая энергия ионов достигнута на ускорителе «Бэвалак» (Bevalac, США) типа синхрофазотрона, где в 1974 получены ускоренные ядра вплоть до ядер аргона с энергией 2 Гэв на нуклон. В Дубне разработан проект ускорителя («нуклотрона»), рассчитанного на получение 16 Гэв на нуклон. Как источник тяжёлых ионов применяются также ускорители типа циклотрона и линейные ускорители.
Лит.: Гринберг А. П., Методы ускорения заряженных частиц, М. — Л., 1950, Ускорители, [сб. статей], пер. с англ. и нем., М., 1962; Коломенский А. А., Лебедев А. Н., Теория циклических ускорителей, М., 1962; Брук Г., Циклические ускорители заряженных частиц, пер. с франц., М 1970; Вальднер О. А., Власов А. Д., Шальнов А. В., Линейные ускорители М., 1969; Комар Е. Г., Основы ускорительной техники, М., 1975; Соколов А. А., Тернов И. М., Релятивистский электрон, М., 1974.
Э. Л. Бурштейн.

Рис. 3. Схема расположения магнитов в сильнофокусирующем ускорителе: Д — магниты, дефокусирующие по радиусу (n >> 1), Ф — фокусирующие по радиусу (n << -1); пунктирная кривая — орбита неотклонённой частицы (равновесная орбита), сплошная кривая — орбита отклонённой частицы.

Рис. 2. При «бочкообразной» форме магнитного поля сила F, действующая на отклоненную частицу (1), имеет составляющую Fz , фокусирующую частицу по вертикали; FR — радиальная составляющая F; 2 — полюсные наконечники.

Рис. 6. Схема слабофокусирующего синхротрона или синхрофазотрона: 1 — инжектор; 2 — система ввода; 3 — вакуумная камера; 4 — сектор электромагнита; 5 — прямолинейный промежуток; 6 — ускоряющее устройство. Магнитное поле перпендикулярно плоскости рисунка.

Рис. 9. Схематический разрез бетатрона: 1 — полюсы магнита; 2 — сечение кольцевой вакуумной камеры; 3 — центральный сердечник; 4 — обмотки электромагнита; 5 — ярмо магнита.

Рис. 7. Схематический разрез магнита ускорителя с сильной фокусировкой: 1 — полюсные наконечники, обеспечивающие сильное изменение магнитного поля В по радиусу; 2 — обмотки электромагнита; 3 — сечение вакуумной камеры.

Рис. 12. Схематический разрез волновода с диафрагмами (1). Стрелками показано распределение поля, бегущего вдоль волновода; 2 — ускоряемый сгусток электронов.

Рис. 4. Поле магнитной квадрупольной линзы: N, S — северный и южный полюсы магнита, F — сила действия магнитного поля на частицу, движущуюся перпендикулярно плоскости рисунка (в центре О F = 0).

Рис. 1. К пояснению механизма автофазировки.

Рис. 10. Схема ускорителя Видероэ с пролётными трубками: 1 — пролётные трубки; 2 — источник переменного напряжения; 3 — область действия электрического поля Е.

Рис. 5. Распределение электрического поля в ускоряющем зазоре между электродами А и В; Fx , Fy — продольная и поперечная составляющие силы F, действующей на частицу.

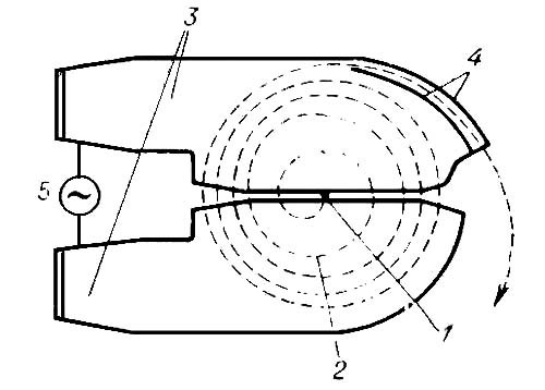
Рис. 8. Схема движения частиц в циклотроне и фазотроне; магнитное поле перпендикулярно плоскости чертежа. 1 — ионный источник; 2 — орбита ускоряемой частицы (спираль); 3 — ускоряющие электроды; 4 — выводное устройство (отклоняющие пластины); 5 — источник ускоряющего поля.

Рис. 11. Схематический разрез резонатора (1) линейного ускорителя с дрейфовыми трубками (2). Вблизи оси электрическое поле Е сосредоточено лишь в зазорах между трубками.
Ускорители на встречных пучках
Ускори'тели на встре'чных пучка'х, ускорители со встречными пучками, установки, в которых осуществляется столкновение встречных пучков заряженных частиц (элементарных частиц и ионов), ускоренные электрическим полем до высоких энергий (см. Ускорители заряженных частиц ). На таких установках исследуются взаимодействия частиц и рождение новых частиц при максимально доступных в лабораторных условиях эффективных энергиях столкновения. Наибольшее распространение получили ускорители со встречными электрон-электронными (е- е- ), электрон-позитронными (е- е + ) и протон-протонными (рр) пучками.
В обычных ускорителях взаимодействие частиц изучается в лабораторной системе отсчёта при столкновениях пучка ускоренных до высокой энергии частиц с частицами неподвижной мишени. При этом вследствие закона сохранения полного импульса соударяющихся частиц большая часть энергии налетающей частицы расходуется на сохранение движения центра масс системы частиц, т. е. на сообщение кинетической энергии частицам – продуктам реакции, и лишь небольшая её часть определяет «полезную», или эффективную, энергию столкновения, т. е. энергию взаимодействия частиц в системе их центра инерции, которая может идти, например, на рождение новых частиц. Из расчёта следует, что при столкновении двух частиц одинаковой массы (m ), одна из которых покоится в лабораторной системе отсчёта, а другая движется с релятивистской (близкой к скорости света с) скоростью, энергия в системе центра инерции
Особенно велико преимущество изучения процессов взаимодействия на встречных пучках для лёгких частиц – электронов и позитронов, для которых E = 0,5 Мэв. Например, для соударяющихся во встречных пучках электронов с энергией в 1 ГэвЕци = 2 Гэв; такая же эффективная энергия столкновения при одном неподвижном электроне потребовала бы энергии налетающего электрона Е = Е2ци /2Е (4000 Гэв. Для встречных пучков протонов (E » 1 Гэв ), например с энергией Е = 70 Гэв (энергия протонов Серпуховского ускорителя 76 Гэв ), Еци = 140 Гэв, тогда как при столкновении с покоящимся протоном эффективная энергия столкновения 140 Гэв была бы достигнута лишь при энергии налетающего протона Е = 10 000 Гэв !