Большая Советская Энциклопедия (КО) - Страница 653
Лит.: Давлет-Юсупов М. Х., Союз «Кошчи» и его роль в укреплении Советской власти в Туркестане (1919—24), Таш., 1956. См. также лит. при статьях о союзных республиках.
Р. Х. Аминова.
Кощунство
Кощу'нство, 1) презрительно-издевательское, оскорбительное, насмешливое отношение к чему-либо уважаемому и почитаемому; глумление над выдающимися научными открытиями, произведениями искусства, благородными поступками, подвигами, моральными нормами, памятью великих людей, героев и т. п. 2) В православной церкви и законодательстве царской России наименование, наряду с богохульством, одного из видов преступлений против религиозной веры.
Коэн Марсель
Коэ'н (Cohen) Марсель (р. 6.2.1884, Париж), французский лингвист. Член Коммунистической партии Франции. Окончил Парижский университет (Сорбонну, 1911). Профессор Школы живых восточных языков (с 1926). Основные труды К. посвящены семито-хамитским языкам («Арабский язык евреев Алжира», 1912; «Семитская глагольная система и выражение времени», 1924; и др.). К. занимается также вопросами социологии языка («К вопросам социологии языка», 1956; «Современная лингвистика и идеализм», 1958), теории и истории письма и культуры французской речи, а также историей французского литературного языка. Вместе с А. Мейе К. был редактором справочного издания «Языки мира» (1924, 2 изд. 1952).
Соч.: Traité de langue amharique, P., 1936; Essai comparatif sur le vocabulaire et la phonétique du chamito-sémitique. P., 1947; Le langage, structure et évolution, P., 1950; Pour une sociologie du langage, P., 1956; La grande invention de l'écriture et son évolution, [v. 1—3], P., 1958; Histoire d'une langue: le français, 3 ed.. P., 1967.
Лит.: М. Cohen. Cinquante années de recherches. Bibl. complète. Rééditions et éditions d'études diverses, P., 1955.
Коэрцитивная сила
Коэрцити'вная си'ла, коэрцитивное поле (от лат. соёrcitio — удерживание), одна из характеристик явления гистерезиса . В магнитном гистерезисе К. с. — это напряжённость Hc магнитного поля, в котором ферромагнитный образец, первоначально намагниченный до насыщения, размагничивается (см. Гистерезис ,рис. 1 ). Различают К. с. Hc (или J HC ) и B HC , когда обращается в нуль соответственно намагниченность J образца или магнитная индукция В в образце.
Измеряют К. с. коэрцитиметрами . Величина К. с. ферромагнетиков меняется в широких пределах от 10-3 до 104э (от 8·10-2 до 8·105а/м ). Для данного магнитного материала К. с. в большой степени зависит от способа приготовления образца и его обработки, а также от внешних условий, например температуры. Магнитные материалы принято делить по величине К. с. на магнитно-мягкие (малое Hc ) и магнитно-жёсткие (большое Hc ) (см. Магнитные материалы ). Значение К. с. определяется факторами, препятствующими перемагничиванию образца. Наличие в образцах примесей, дефектов кристаллической решётки, различного рода неоднородностей затрудняет движение границ магнитных доменов и тем самым повышает Hc .
Особенно высоких значений (103 —104э ) К. с. достигает у однодоменных ферромагнитных частиц (со значит. магнитной анизотропией ). Аналогично К. с. ферромагнетиков рассматривают К. с. сегнетоэлектриков .
Коэрцитиметр
Коэрцити'метр, прибор для измерения коэрцитивной силы ферромагнитных материалов. Наиболее распространены К. для измерения коэрцитивной силы по намагниченности J HC , или HC . Это объясняется простотой методики измерений и, кроме того, для материалов с HC < 500 а/см значения коэрцитивной силы, определяемые по индукции и намагниченности, мало отличаются друг от друга. При измерении HC испытываемый образец сначала намагничивают практически до насыщения в электромагните или в намагничивающей катушке К. Затем через эту катушку с помещенным в неё образцом пропускают постоянный ток, магнитное поле которого размагничивает образец. Ток увеличивают до тех пор, пока намагниченность J образца не уменьшится до нуля, что регистрируется различного рода индикаторами (нулевыми приборами ). По току в катушке К., соответствующему состоянию образца с J = 0, определяют напряжённость размагничивающего поля, т. е. HC . Для этого предварительно устанавливается зависимость напряжённости Н магнитного поля, создаваемого катушкой, от силы протекающего по её обмотке тока. Часто амперметр в цепи намагничивающей катушки имеет шкалу, проградуированную непосредственно в единицах напряжённости поля.
К. отличаются друг от друга в основном способом определения равенства нулю намагниченности образца.
На рис. 1 схематически показано устройство К. с генератором измерительным в качестве нулевого прибора, на рис. 2 — схема К. с выполняющим ту же роль феррозондом . Феррозонды очень чувствительны, поэтому они могут быть расположены вне намагничивающей катушки, что обеспечивает меньшую зависимость показаний прибора от формы образца.
Кроме указанных типов К., распространены К. с датчиками Холла; К. с измерительной катушкой, подключенной к баллистическому гальванометру и сдёргиваемой с образца при определении в нём остаточной намагниченности; вибрационные К., у которых нульиндикатором служит колеблющаяся измерительная катушка, и т. д.
Для измерения коэрцитивной силы образца по индукции (B HC ) его делают частью замкнутой магнитной цепи пермеаметра , электромагнита или т. н. приставного К. (упрощённого пермеаметра, служащего для определения одной точки петли гистерезиса — B HC ). Значение B HC соответствует напряжённости размагничивающего поля, при которой индукция В в образце равна нулю.
Лит.: Кифер И. И., Испытания ферромагнитных материалов, 3 изд., М., 1969; Магнитные измерения, под ред. Е. Т. Чернышева, М., 1969.
И. И. Кифер.

Рис. 1. Коэрцитиметр с измерительным генератором (блок-схема): 1 — намагничивающая катушка; 2 — образец; 3 — катушка измерительного генератора; 4 — магнитоэлектрический гальванометр, присоединённый к щёткам коллектора 5; 6 — вал электродвигателя 7; 8 — силовые линии магнитного поля образца.

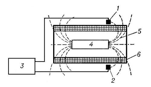
Рис. 2. Феррозондовый коэрцитиметр (блок-схема): 1 и 2 — чувствительные элементы феррозонда, соединённые по разностной схеме; 3 — феррозондовый нулевой прибор; 4 — образец; 5 — силовые линии магнитного поля образца; 6 — намагничивающая катушка.
Коэффициент
Коэффицие'нт [от лат. со (cum) — совместно и efficiens — производящий], числовой множитель при буквенном выражении, известный множитель при той или иной степени неизвестного или постоянный множитель при переменной величине. Так, в одночлене