Большая Советская Энциклопедия (АЭ) - Страница 7
Одной из основных особенностей А. т. больших чисел М (М > 5) является необходимость подогрева воздуха во избежание его конденсации в результате понижения температуры с ростом числа М. В отличие от водяных паров, воздух конденсируется без заметного переохлаждения. Конденсация воздуха существенно изменяет параметры струи, вытекающей из сопла, и делает её практически непригодной для аэродинамического эксперимента. Поэтому А. т. больших чисел М имеют подогреватели воздуха. Температура T, до которой необходимо подогреть воздух, тем больше, чем больше число М в рабочей части А. т. и давление перед соплом p. Например, для предотвращения конденсации воздуха в А. т. при числах М » 10 и p » 5 Мн/м2(50 кгс/см2) необходимо подогревать воздух до абсолютной температуры T » 1000 К.
Развитие техники идёт в направлении дальнейшего увеличения скоростей полёта. Спускаемые космические аппараты «Восток» и «Восход» входят в атмосферу Земли с первой космической скоростью v1кос » 8 км/сек (т. е. М > 20). Космические корабли, возвращающиеся на Землю с Луны и др. планет, будут входить в атмосферу со второй космической скоростью v2кос ³ 11 км/сек (М > 30). При таких скоростях полёта температура газа за ударной волной, возникающей перед летящим телом, превыщает 10000 К, молекулы азота и кислорода диссоциируют (распадаются на атомы), и становится существенной ионизацияатомов. Необходимо исследовать влияние этих процессов на силы, возникающие при обтекании тела, и тепловые потоки, поступающие к его поверхности. Для этого в А. т. необходимо получить не только натурные значения чисел М и Re, но и соответствующие температуры T. Это привело к созданию новых типов А. т., работающих с газом, нагретым до высоких температур, значительно превышающих температуру, необходимую для предотвращения конденсации воздуха при данном числе М. К установкам этой группы относятся ударные трубы, импульсные установки, электродуговые установки и т. п.
Ударная труба (рис. 5, а) представляет собой ступенчатую цилиндрическую трубу, состоящую из двух секций — высокого 1 и низкого 2 давления, разделённых мембраной 3. В секции 1 содержится «толкающий» газ (обычно Не или Н), нагретый до высокой температуры и сжатый до давления p1. Секция низкого давления заполняется рабочим газом (воздухом) при низком давлении p2 Это состояние, предшествующее запуску А. т., соответствует на рис. 5, б времени t. После разрыва мембраны 3 по рабочему газу начинает перемещаться ударная волна 4, которая сжимает его до давления р и повышает температуру. За ударной волной с меньшей скоростью двигается контактная поверхность 5, разделяющая толкающий и рабочий газы (момент времени t1). Давление и температура рабочего газа в объёме между ударной волной и контактной поверхностью постоянны. В дальнейшем ударная волна 4 пройдёт через сопло 6 и рабочую часть А. т. 7 в ёмкость 8, и в рабочей части установится сверхзвуковое течение с давлением p4 (момент времени t2).
Исследование обтекания газом модели 9 начинается в тот момент, когда ударная волна 4 пройдёт сечение, в котором расположена модель, и заканчивается, когда в это сечение придёт контактная поверхность. Поскольку скорость движения ударной волны в трубе 2 больше скорости контактной поверхности, очевидно, что длительность эксперимента в А. т. тем больше, чем больше длина «разгонной» трубы 2. В существующих ударных А. т. эта длина достигает 200—300 м.
Рассмотренный тип ударных А. т. даёт возможность получить температуры около 8000 К при времени работы порядка миллисекунд. Применяя ударные А. т. с несколькими мембранами, удаётся получить температуры до 18000 К.
Электродуговые А. т. Для решения многих задач аэродинамики можно ограничиться меньшими температурами, но требуется значительное время эксперимента, например при исследовании аэродинамического нагрева или теплозащитных покрытий.
В электродуговых А. т. (рис. 6) воздух, подаваемый в форкамеру сопла, подогревается в электрической дуге до температуры ~6000 К. Дуга, образующаяся в кольцевом канале между охлаждаемыми поверхностями центрального электрода 1 и камеры 2, вращается с большой частотой магнитным полем, создаваемым индуктивной катушкой 7 (вращение дугового разряда необходимо для уменьшения эрозии электродов). А. т. этого типа позволяет получить числа М до 20 при длительности эксперимента в несколько сек. Однако давление в форкамере обычно не превышает 10 Мн/м2 (100 кгс/см2).
Большие давления в форкамере ~60 Мн/м2 (600 кгс/см2) и, соответственно, большие значения числа М можно получить в т. н. импульсных А. т., в которых для нагревания газа применяется искровой разряд батареи высоковольтных конденсаторов. температура в форкамере импульсной А. т. ~ 6000 К, время работы — несколько десятков мсек.
Недостатки установок этого типа — загрязнение потока продуктами эрозии электродов и сопла и изменение давления и температуры газа в процессе эксперимента.
Лит.: Пэнкхёрст Р. и Холдер Д., Техника эксперимента в аэродинамических трубах, пер. с англ., М., 1955; Закс Н. А., Основы экспериментальной аэродинамики, 2 изд., М., 1953; Хилтон У. Ф., Аэродинамика больших скоростей, пер. с англ., М., 1955; Современная техника аэродинамических исследований при гиперзвуковых скоростях, под ред. А. М. Крилла, пер. с англ., М., 1965; Исследование гиперзвуковых течений, под ред. Ф. Р. Риддела, пер. с англ., М., 1965.
М. Я. Юделович.

Рис. 2. Схемы рабочей части аэродинамической трубы (а — закрытая, б — открытая, в — открытая рабочая часть с камерой Эйфеля): 1 — модель; 2 — сопло; 3 — диффузор; 4 — струя газа, выходящего из сопла; 5 — камера Эйфеля; 6 — рабочая часть.

Рис. 1. Дозвуковая аэродинамическая труба.

Рис. 4. Две баллонные аэродинамические трубы с повышенным давлением на входе в сопло и с пониженным давлением на выходе из диффузора, создаваемым: а — двухступенчатым эжектором и б — вакуумным газгольдером; 1 — компрессор высокого давления; 2 — осушитель воздуха; 3 — баллоны высокого давления; 4 — дроссельный кран; 5 — ресивер сопла; 6 — сопло; 7 — модель; 8 — диффузор аэродинамической трубы; 9 — эжекторы; 10 — дроссельные краны; 11 — диффузор эжектора; 12 — быстродействующий кран; 13 — вакуумный газгольдер; 14 — вакуумный насос; 15 — подогреватель воздуха; 16 — радиатор.

Рис. 6. Электродуговая аэродинамическая труба: 1 — центральный (грибообразный) электрод, охлаждаемый водой; 2 — стенки камеры, переходящие в сверхзвуковое сопло, охлаждаемые водой; 3 — рабочая часть с высотной камерой; 4 — модель; 5 — диффузор; 6 — дуговой разряд; 7 — индукционная катушка, вращающая дуговой разряд; I — контакты для подведения электрического тока дугового разряда; II — контакты для подведения электрического тока к индукционной катушке.

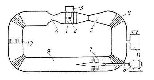
Рис. 3. Сверхзвуковая аэродинамическая труба: 1 — рабочая часть; 2 — модель; 3 — аэродинамические весы; 4 — сопло; 5 — диффузор; 6 — спрямляющие решётки; 7 — компрессор с двигателем ; 9 — обратный канал; 10 — теплообменник; 11 — осушитель воздуха.