Большая Советская Энциклопедия (АБ) - Страница 31
В процессах, где газ хорошо растворяется в абсорбенте, часто применяют А., в которых газ проходит над поверхностью жидкости (турилла) или жидкость распыляется в газе на мелкие капли форсунками, вращающимися дисками или турбинками. А. широко применяют в различных отраслях промышленности.
Лит.: Рамм В. М., Абсорбция газов, М., 1966; Циборовский Я., Основы процессов химической технологии, пер. с польск., Л., 1967; Касаткин А. Г., Основные процессы и аппараты химической технологии, 7 изд., М., 1961.
В.Л. Пебалк.

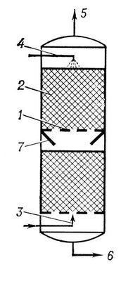
Рис. 2. Тарельчатый абсорбер.

Рис. 1. Насадочный абсорбер.
Абсорбционная микроскопия
Абсорбцио'нная микроскопи'я, метод изучения структуры и химизма клеток животных и растительных организмов с помощью микроскопа по избирательному поглощению света внутриклеточными структурами. Ультрафиолетовые лучи поглощаются циклическими группировками нуклеиновых кислот и других нуклеотидов, белков, некоторых витаминов, стеролов (см. Ультрафиолетовая микроскопия), видимые лучи — пигментами. Освещая микропрепарат лучами узкого участка спектра в зоне поглощения определённого вещества, наблюдают распределение этого вещества в клетке и строение структур, содержащих это вещество. По степени ослабления светового потока, проходящего через структуру, измеряют концентрацию поглощающего свет вещества (см. Цитофотометрия). Возможности А. м. увеличиваются при использовании красителей, специфически связывающихся с разными веществами клеток.
Лит.: Методы цитологического анализа, пер. с англ., М., 1957; Бродский В.Я., Трофика клетки, М., 1966.
В.Я. Бродский.
Абсорбционная холодильная машина
Абсорбцио'нная холоди'льная маши'на, см. Холодильная машина.
Абсорбция
Абсо'рбция (лат. absorptio — поглощение, от absorbeo — поглощаю), поглощение веществ из газовой смеси жидкостями. В технике А. обычно пользуются для извлечения из газовой смеси какого-либо компонента. Поглощение, точнее извлечение из жидкости какого-либо компонента жидкостью ранее также называлось А.; ныне такой процесс именуют экстракцией. При А. абсорбент поглощает всем своим объёмом. Скорость А. зависит от того, насколько концентрация поглощаемого газа в газовой смеси превосходит концентрацию этого компонента над раствором. Если концентрация растворяемого компонента в газовой смеси меньше его концентрации над жидкостью, растворяемый компонент выделяется из раствора (см. Десорбция). А. часто сопровождается химическим взаимодействием поглощаемого вещества с поглотителем (см. Хемосорбция). А. улучшается с повышением давления и понижением температуры.
На А. основаны многие важнейшие промышленные процессы, например производство азотной, соляной и серной кислот (поглощение водой газообразных двуокиси азота, хлористого водорода и серного ангидрида), производство соды (А. углекислого газа), очистка отходящих промышленных газов от вредных примесей (сероводорода, сернистого ангидрида, окиси углерода, углекислого газа и др.), извлечение углеводородных газов и примесей (например, т. н. газового бензина, газов крекинга и пиролиза), а также выделение индивидуальных углеводородов. А. осуществляют на абсорбционных установках, основным аппаратом в которых служит абсорбер.
Лит. см. при ст. Абсорбер.
В. Л. Пебалк.
Абсорбция света
Абсо'рбция све'та, то же, что поглощение света.
Абстенционисты
Абстенциони'сты (от латинского abstentio — воздержание, отказ), бойкотисты, сторонники бойкота парламентских выборов. Это название закрепилось в 1919—20 за частью левых элементов Итальянской социалистической партии, выступавших с резкой критикой парламентской коррупции социалистической партии. Лидером А. был А. Бордига. А. требовали немедленного исключения из партии реформистов. В этом была положительная сторона их деятельности. Однако отказ от участия в парламентских выборах и непонимание значения других форм легальной борьбы рабочего класса отражали сектантские установки А. Тактика их представляла опасность для рабочего движения и была подвергнута глубокой критике В. И. Лениным в работе «Детская болезнь «левизны» в коммунизме» (1920).
Абстиненция
Абстине'нция (лат. abstinentia — воздержание),
1) полное воздержание от употребления спиртных напитков.
2) Половое воздержание.
3) Особое физическое и психическое состояние, появляющееся у наркоманов (алкоголиков, морфинистов и т. п.) после внезапного и полного прекращения употребления привычных наркотиков и различно выражающееся в зависимости от вида наркомании.
Абстрактное искусство
Абстра'ктное иску'сство, абстракционизм, беспредметное искусство, нонфигуративное искусство, течение в искусстве многих, главным образом капиталистических, стран, принципиально отказавшееся от каких-либо признаков изображения реальных предметов в живописи, скульптуре и графике. Программа А. и. полностью порывает с общественными и познавательными задачами художественного творчества, заменяет их выражением неких «очищенных от реальности» духовных сущностей, чисто субъективных эмоций и подсознательных импульсов, является крайним проявлением индивидуалистических субъективистских тенденций буржуазной культуры, идеалистических концепций «искусства для искусства». Практика же А. и. сводится к составлению с помощью отвлечённых элементов художественной формы (цветовое пятно, линия, объём и т. д.) неизобразительных композиций, рационалистически упорядоченных либо предназначенных выразить стихийность чувства и фантазии автора. Понятием «А. и.» объединяются разнородные явления — антигуманистические художественные концепции, иллюзорные устремления к «абсолютной свободе» от действительности и общества, попытки выразить мир личных ощущений художника и чуждые по своему существу программным декларациям А. и. чисто декоративные композиции, равно как и лабораторные поиски новых форм, связанные главным образом с архитектурой и декоративным искусством.
А. и. возникло как анархический вызов общественным вкусам в ходе расслоения ряда течений в искусстве 20 в. — кубизма, экспрессионизма, футуризма и др.; в 1910—13 первые его образцы в живописи создали работавшие в Германии экспрессионисты В. В. Кандинский и П. Клее, парижские «орфисты» — Р. Делоне, испанец Ф. Пикабия, чех Ф. Купка, итальянские футуристы — Дж. Балла, У. Боччони, Дж. Северини, в России — «супрематист» К. С. Малевич, «лучисты» М. Ф. Ларионов и Н. С. Гончарова, в Нидерландах — «неопластицисты» П. Мондриан, Т. ван Дусбюрг, Б. ван дер Лек. Работавшие в Париже украинец А. П. Архипенко, румын К. Брынкуши и др. обратились несколько позже к опытам абстрактной скульптуры. После 1-й мировой войны А. и. питалось порожденными войной нигилистическими настроениями буржуазной интеллигенции (дадаизм — испанец Х. Миро, француз Ж. Арп); одновременно определилось стремление найти неизобразительным формам применение в архитектуре и декоративном искусстве (эксперименты группы Cтuль — в Нидерландах, Баухауз — в Германии), строить их по математическим и инженерным принципам (конструкции В. Е. Татлина, покинувших Россию братьев А. Певзнера и Н. Габо, позже — мобили американца А. Колдера). Большая группа советских художников 1920-х гг., видя несоответствие программ А. и. целям советской культуры, перешла к практической работе в прикладном искусстве и художественном конструировании (Татлин, Л. С. Попова). В годы 2-й мировой войны в США возникла школа «абстрактного экспрессионизма» (живописцы Дж. Поллок, М. Тоби), распространившегося после войны во многих странах (под названием «ташизма», или «бесформенного искусства») и провозгласившего своим методом бессознательность и автоматизм творчества, непредвиденность эффектов. В живописи и графике стала культивироваться изощрённость неожиданных цветовых и фактурных сочетаний (А. Манесье, Ж. Дюбюффе, П. Сулаж во Франции, К. Аппел в Нидерландах, Афро Базальделла в Италии), в скульптуре — парадоксальная причудливость композиции и обработки материалов (С. Липтон в США, Э. Чильида в Испании). В середине 20 в. А. и. стало в буржуазных странах привилегированным и воинствующим направлением, стремящимся к абсолютному господству; оно повлияло и на искусство некоторых социалистических стран (Польша, Югославия, Чехословакия). В 1960-е гг. А. и. эволюционирует в сторону орнаментально-геометрических композиций («оп-арт»), как течение А. и. теряет свои позиции и вытесняется различными по характеру и целям течениями, обращающимися к предмету и изображению.