Большая советская энциклопедия (-- - АБ) - Страница 16
При выводе формулы А. с. в специальной теории относительности рассматривается разница в направлении светового луча в разных инерциальных системах отсчёта. Формула А. с. получается как естественное следствие лоренцовских преобразований и в первом приближении приводит к тем же результатам, что и классическая теория А. с., причём соответствующая поправка к величине годичной А. с. не превосходит 0,0005’’ и по малости не учитывается.
Лит.: Блажко С. Н., Курс сферической астрономии, 2 изд., М., 1954; Куликов К. А., Фундаментальные постоянные астрономии, М., 1956.
К.А.Куликов.

Рис. к ст. Аберрация света.
Абжалилов Халил Галеевич
Абжали'лов Халил Галеевич [17(29).9.1896 — 18.3.1963], татарский актёр, народный артист СССР (1957). Член КПСС с 1944. В 1916 начал сценическую деятельность. Основатель «Восточного театра» (1919, Оренбург). С 1928 работал в татарском Театре им. Ш. Камала (Казань). Искусство А. характеризовалось монументальной обобщенностью, реалистической силой. Играл роли трагедийные и комедийные: Халил («В вороньем гнезде» Ш. Камала), Хужа Насретдин (одноименная пьеса Исанбета), Мисбах («Без ветрил» Тинчурина), Гильманов («Минникамал» Амира), Лир («Король Лир» Шекспира), профессор Полежаев (одноим. пьеса Рахманова) и др. Депутат Верховного Совета Татарской АССР 2—4-го созывов. Награжден 3 орденами.
Лит.: Кумысников Х., Халил Абжалилов, [Казан], 1957.

Х. Г. Абжалилов.

Х. Г. Абжалилов в роли Хужи Насретдина (одноимённая пьеса Исанбета).
Абзац
Абза'ц (нем. Absatz — красная строка, буквально — уступ),
1) отступ в начальной строке печатного или рукописного текста.
2) Часть текста, связанная смысловым единством и выделенная отступом первой строчки.
Абзетцер
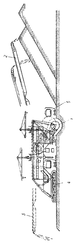
А'бзетцер (нем. Absetzer, от absetzen — отодвигать), многочерпаковый экскаватор для выемки и перемещения пустых пород на отвалах карьеров. А. бывают черпаковые (разгрузочный механизм — горизонтальная черпаковая рама) и черпаковоленточные (рис.). А. применяются для перемещения нескальных пород в районах с мягким климатом. Широко распространены на буроугольных карьерах ГДР и ФРГ. В СССР используются ограниченно и работают сезонно (как правило, при температуре воздуха не ниже — 5°С). См. Экскаватор.
Лит.: Ржевский В. В., Технология, механизация и автоматизация процессов открытых горных разработок, М., 1966.

Схема черпаково-ленточного абзетцера с длиной консоли отвалообразователя 100 м и суточной производительностью 100000 м3 грунта: 1 — заборное (экскавационное) устройство; 2 — консольный ленточный отвалообразователь; 3 — положение отвальной консоли при нижней отсыпке отвала; 4 — черпаковая рама для планировки отвала; 5 — железнодорожный состав с пустой породой (вскрышей).
Абиджан
Абиджа'н (Abidjan), столица Республики Берег Слоновой Кости. 400 тыс. жителей (1966, с пригородами). Расположен на берегу лагуны Эбрие Атлантического океана. Главный морской порт страны, начальный пункт железной дороги А. — Уагадугу (Верхняя Вольта), узел автодорог, аэродром (в 12 км к Ю.). Крупный торговый центр. Промышленность: пищевая (рыбные и ананасные консервы, соки и др.), лёгкая, деревообрабатывающая, металлообрабатывающая; судоверфь. Филиал Дакарского университета. В центре А. — деловые кварталы, парки, дома европейцев и африканской элиты: в пригородах — Трешвиль на Ю. и Аджаме на С. — промышленные районы с беднейшим африканским населением.

Центральная площадь в г. Абиджане.
Абидос
А'бидос (др.-греч., совр. Арабет-эль-Мадфунах), один из старейших городов и религиозных центров древне-египетского государства. По легендам, в А. был убит и погребён бог Осирис. В эпоху Среднего царства А. стал главным центром культа Осириса. В связи с этим распространился обычай хоронить покойников, совершать паломничество и ставить заупокойные надписи именно в А. На месте А. сохранились развалины двух храмов, построенных фараонами Сети I (14 в. до н. э.) и Рамсесом II (14—13 вв. до н. э.) в честь Осириса, а также кенотаф (заупокойное сооружение) Сети I.
Абидуев Бавасан Доржиевич
Абиду'ев Бавасан Доржиевич (10.4.1909 — 8.3.1940), бурятский советский писатель. Член КПСС с 1930. Автор поэмы «Самолёт» (1928), сборник стихов «Сияние солнца» (1931), «Радость» (1938). А. один из создателей бурятской детской литературы: «Сказка о козлёнке Бабана» (1938), «Укротитель тигра» (1938), «Шалай и Шанай» (1938), «Летучая мышь» (1939), «Храбрый кот» (1939) и др.
Соч.: Шэлэгдэмэл зохёолнууд, Улан-Удэ, 1956.
Лит.: Писатели Советской Бурятии, Улан-Удэ, 1959; Ким И. А., Бурятская советская поэзия 20-х годов, Улан-Удэ, 1968.
Абиетиновая кислота
Абиети'новая кислота', C20H30O2, природная смоляная кислота, главный компонент канифоли; tпл 174—175°С; легко растворима в эфире, спирте, бензоле и т. п., нерастворима в воде. Самостоятельно А. к. применяют редко; например, её нитрил известен как мягчитель для некоторых резин и виниловых полимеров.
Абилев Дихан
Аби'лев Дихан (р. 1.10.1907), казахский советский поэт. Окончил Институт журналистики в Алма-Ате. Печататься начал в 1928. Первый сборник стихов «Энергия» (1937) отразил жизнь и борьбу советской молодёжи. Герой поэмы «Шалкыма» (1938), сын бедняка, становится сознательным борцом за новую жизнь. Стихи военного периода вошли в книги «От сердца» (1945) и «Тулга» (1947). Позднее опубликовал роман в стихах «Сердце Алтая» (1953, русский перевод 1954; др. название — «Знамя в горах», 1957) и поэма «Огненные волны» (1956), рисующие исторические события, происходившие в Горном Алтае в период Гражданской войны и становления социалистической экономики. Награжден 2 орденами, а также медалями.
Соч.: Qлендер мен поэмалары, Алматы, 1958; Акын арманы, Алматы, 1965; Тандамалы шырармалары, Алматы, 1967; в рус. пер.— Огненные волны, А.-А., 1957; Радуга, М., 1966.
Лит.: Казак ¶дебiетiнiн тарихы, т. 3, kiт. 2, Алматы. 1967.
Абилин
А'билин (Abilene), город на юге США, в штате Техас. 98 тыс. жителей (с пригородной зоной 128 тыс., 1968). Центр важного сельскохозяйственного района. В промышленности 5 тыс. занятых (1968); производство продуктов питания (главным образом хлопкового масла), кормов (жмыхи). Университет.
Абинск
Аби'нск, город (до 1963 посёлок Абинский), центр Абинского района Краснодарского края РСФСР. Железнодорожная станция (Абинская) в 75 км к Ю.-З. от Краснодара. 23 тыс. жителей (1968). Заводы: винодельческий, консервный, молочный. Лесомебельный комбинат, кирпичный завод.
Абиогенез
Абиогене'з (от греческого а — отрицат. частица, bíos — жизнь и génesis — происхождение), теория возникновения живых существ из веществ неорганической природы. До середины 19 в. под А. понималось самопроизвольное зарождение, т. е. внезапное возникновение из неживых материалов сложноорганизованных живых существ. Так, ещё в 17 в. верили в самозарождение червей, рыб, лягушек и даже мышей из росы, ила, грязи. Однако итальянский учёный Ф. Реди в 1668 показал, что личинки мух в гниющем мясе появляются только из отложенных мухами яиц. В 18 в. итальянский учёный Л. Спалланцани установил, что в прокипяченных бульонах микроорганизмы не развиваются. Окончательно это доказал в 1861 французский учёный Л. Пастер, опыты которого не отрицают, однако, возможности А. в прежние геологические эпохи. Против биогенеза, т. е. теории «вечности жизни», выступил Ф. Энгельс, считавший, что жизнь — это особая форма движения материи, возникающая на определенных этапах её развития. В настоящее время большинство учёных считает, что возникновение жизни — длительный процесс, происходивший на Земле в отдалённые геологические эпохи, когда условия (температура, химический состав газовой, жидкой и твёрдой оболочек Земли, режим излучения и др.) сильно отличались от современных. Одна из распространённых теорий А. принадлежит советскому учёному А. И. Опарину. См. также Жизнь и литературу к этой статье.