Автомобильные газовые топливные системы - Страница 6
В обычных условиях работы расходный и заправочный вентили находятся в открытом положении. Их закрывают при постановке автомобиля на длительную стоянку, в случае утечки газа, а также при неисправностях, техническом обслуживании и ремонте газовой аппаратуры.
В случае нагрева баллона свыше 45 °C открывается предохранительный клапан (1), чтобы понизить давление газа. Контрольная стрелка (7) по шкале (8) указывает количество газа в баллоне. Указатель уровня топлива может выводиться на переключатель вида топлива в салон автомобиля. Стрелка приводится в действие магнитом, вмонтированным в мультиклапан (9). Она вместе со шкалой защищена прозрачной крышкой (6). Максимально допустимый объем заправляемого газа предварительно устанавливается винтами (12).
Оригинальные конструктивные решения блока запорно-контрольной и предохранительной арматуры, повышающие его надежность, применила научно-производственная фирма «САГА».

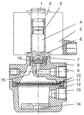
Рис. 5. Блок запорно-контрольной и предохранительной арматуры «САГА-6»: 1 – поплавок; 2 – кулачок; 3 – трубка; 4 – предохранительный клапан; 5 – дренажный штуцер; 6 – дренажный вентиль; 7 – шток с магнитом; 8 – датчик уровня газа; 9 – расходно-заправочный вентиль; 10 – корпус блока арматуры; 11 – заправочный штуцер; 12 – выходной штуцер; 13 – фланец газового баллона; 14 – шток рабочего клапана; 15 – трубопровод; 16 – корпус рабочего и ограничительного клапанов; 17 – шарик клапана.
Баллон оборудован унифицированной расходно-наполнительной и контрольно-предохранительной арматурой (рис. 5), которая включает в себя следующие элементы:
– заправочно-расходный блок с одним вентилем (9);
– датчик (8) уровня газа в баллоне;
– автоматическое устройство, ограничивающее наполнение баллона до 80 % его объема. Оно снабжено поплавком (1), штоком (14) рабочего клапана, кулачком (2). Запорный элемент устройства, находящийся в корпусе (16) рабочего и ограничительного клапанов, обеспечивает в закрытом состоянии скорость наполнения не выше 1 л/мин;
– устройство, позволяющее стравливать (выпускать) из баллона паровую фазу газа. Конец трубки (3) находится на уровне 80 % объема баллона. Газ выходит через дренажный штуцер (5) при открытии дренажного вентиля (6);
– предохранительный клапан (4), настроенный на давление 2,5 МПа и установленный в зоне, где часть топлива находится в газообразном состоянии;
– рабочий (запорный) и ограничительный клапаны в корпусе (16). Первый предназначен для прекращения заправки газом при достижении 80 % объема баллона, второй – для ограничения потока газа, проходящего через выходное или входное отверстия мультиклапана. Ограничительный клапан прекращает подачу газа из баллона, если его расход превышает максимальную величину (при обрыве магистрального трубопровода), которая определяется величиной перепада давлений не более 0,1 МПа.
Блок (10) арматуры выполнен с защитным газонепроницаемым вентилируемым кожухом. Он крепится на фланце (13) газового баллона.
Принципиальная особенность блока арматуры состоит в том, что, благодаря наличию в нем дренажного вентиля (6), он позволяет производить дозаправку баллона сжиженным газом при пониженном давлении заправки на заправочных станциях, не имеющих компрессора. Для этого необходимо снять колпак с вентиляционного кожуха, надеть на дренажный штуцер (5) шланг и вывести его за борт автомобиля. Затем следует открыть дренажный (6) и расходно-заправочный (9) вентили и начать заправку баллона газом.
ВЫНОСНОЕ ЗАПРАВОЧНОЕ УСТРОЙСТВО (рис. 6), предназначенное для заправки ГСН, крепится на кронштейне (7) гайкой (8) под задним бампером легкового автомобиля. Оно подсоединяется к заправочному трубопроводу через штуцер (10). Заправочный пистолет газовой колонки присоединяется к корпусу (3) с уплотняющей резиновой прокладкой (2). Газ, поступающий под давлением, открывает клапан (6) и заполняет газовый баллон. После окончания заправки клапан герметично закрывается.

Рис. 6. Выносное заправочное устройство: 1 – пробка; 2 – прокладка резиновая; 3 – корпус; 4 – седло клапана; 5 – клапан; 6 – пружина; 7 – кронштейн; 8 – гайка; 9 – кольцо уплотнительное; 10 – штуцер выходной.
ГАЗОПРОВОД И СОЕДИНИТЕЛЬНЫЕ ЭЛЕМЕНТЫ. Газопровод проходи под полом автомобиля вдали от выхлопных труб. От соприкосновения с деталями кузова он защищен хлорвиниловыми или резиновыми трубками. Трубопроводы закрепляют на кузове автомобиля специальными скобами при помощи саморезов с интервалом не более 800 мм.
Газопровод высокого давления на всем протяжении от баллона до электромагнитного клапана газа и от него до редуктора-испарителя выполнен из меди или из нержавеющей стали с заводской развальцовкой (рис. 7). Если газопровод изготовлен из стали, то его присоединение к узлам аппаратуры осуществляется при помощи упорной накидной гайки. Такое соединение допускает многократную разборку, но при затяжке необходимо избегать чрезмерных усилий во избежание отрыва донышка накидной гайки.

Рис. 7. Трубопроводы из нержавеющей стали.
На концах трубопровода предусматривают компенсационные кольца. Трубку изгибают с образованием кольца диаметром 50–80 мм, что предохраняет трубопровод от поломки под действием вибрации.
Герметичность газопровода высокого давления (рис. 8) обеспечивает ниппельное соединение типа конусная муфта. Такое соединение включает в себя трубопровод (3), конусную муфту (1), упорную гайку (2) и присоединяемую деталь (штуцер). Герметичность достигается за счет конусной муфты (1), изготавливаемой из латуни. Такое соединение допускает многократную разборку с заменой конусной муфты новой. Муфта должна плотно сидеть на трубке на расстоянии 2–3 мм от ее торца.

Рис. 8. Беспрокладочные соединения трубопроводов с помощью конусной муфты: а – конусная муфта; б, в – соединение трубопровода; 1 – конусная муфта (ниппель); 2 – гайка; 3 – трубка; 4 – присоединяемая деталь (штуцер).
В трубопроводах низкого давления для соединения газового редуктора со смесителем используют резиновые шланги из бензомаслостойкой резины. Шланговые соединения на штуцерах крепятся винтовыми хомутами типа «Норма».
КЛАПАНЫ БЕНЗИНОВЫЕ И ГАЗОВЫЕ (рис. 9, 10, 11) устанавливают с целью исполнения команд, которые управляют подачей бензина или газа в системах питания автомобилей, оборудованных газобаллонной аппаратурой. В отдельных случаях клапаны конструктивно объединяют с фильтрами, которые очищают поступающее в систему топливо.

Рис. 9. Электромагнитные газовые клапаны. Внешний вид.

Рис. 10. Электромагнитный газовый клапан: 1 – направляющая втулка; 2, 6 – стопорное кольцо; 3 – пружина; 4 – якорь; 5 – катушка; 7 – уплотнитель; 8 – корпус; 9 – входной канал; 10 – металлическая обойма с фильтром; 11 – резиновое кольцо; 12 – отстойник; 13 – выходной канал; 14 – постоянный кольцевой магнит; 15 – кольцевая полость; 16 – уплотнитель.

Рис. 11. Электромагнитные бензиновые клапаны: а – с ручкой; б – с нижним вентилем; в – с боковым вентилем.
Электромагнитный газовый клапан служит для открытия канала подачи газа в редуктор и его перекрытия при работе на бензине (управляется дистанционно из салона автомобиля посредством переключателя «Газ» – «Бензин»). Фильтры не требуют регулярного обслуживания: достаточно промывки или замены. В некоторых конструкциях очищать фильтры следует каждые 30 000 км пробега автомобиля.