82-мм миномет 2Б14-1. Техническое описание и инструкция по эксплуатации - Страница 4

Изменения к рис. 9.

I

II
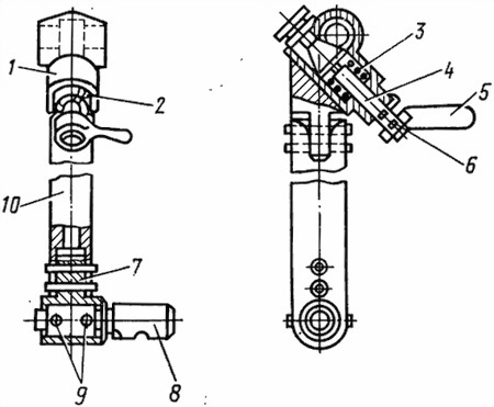
Рис. 10. Предохранитель:
1 — корпус со втулкой 2Б14-1.35.2 Сп; 2 — гайка 2Б14-1.35.6; 3 — разрезное кольцо 2Б14-1.35.7; 4 — пружинный шплинт 13/52-МП-832; 5 — колпачок 10/52-МП-832; 6 — шплинт 2×16 ГОСТ 397-79; 7 — гайка 7/52-МП-832; 8 — пружина 2Б14-1.35.15; 9 — ось 15/52-МП-832; 10 — втулка 2/52-МП-832; 11 — шайба 4/52-МП-832; 12 — лопатка 2Б14-1.35.16; 13 — рычаг 2Б14-1.35.13; 14 — элерон 2Б14-1.35.14; А — опорная площадка; Б — поверхность; Г — выступ
Втулка 10 с шайбой 11 предохраняет пружину 8 от действия пороховых газов. На буртике втулки 10 имеется паз, в который входит конец пружины 8. Ось 9 представляет собой цилиндрический валик с лысками. Концы оси имеют резьбу для гаек 7 и отверстие под шплинты 4 или 6. На правом конце оси имеется шлиц под пружину.
До заряжания миномета части предохранителя находятся в положении «Открыто», при этом лопатка 12 располагается в окне корпуса почти параллельно оси канала трубы, рычаг 13 лежит на площадке А, конец рычага выходит внутрь канала трубы. В момент заряжания мина, опускаясь в канал, своим корпусом утапливает конец рычага и отводит его с осью 9 влево, рычаг переходит с опорной площадки А на выступ Г. Под действием пружины 8 ось 9 вместе с рычагом 13 и лопаткой 12 поворачивается в положение «Закрыто». Лопатка частично перекрывает канал трубы и тем самым исключает возможность заряжания миномета второй миной.
При выстреле пороховые газы прорываются через кольцевой зазор между поверхностью канала трубы и центрующим утолщением мины, опережают последнюю и, действуя на лопатку, поворачивают ее вместе с осью и рычагом, перемещающиеся на поверхности выступа Г. После прекращения действия пороховых газов на лопатку 12 рычаг соскакивает с выступа Г, лопатка скользит по наклонной поверхности В левой бобышки корпуса 1 и перемещается под действием пружины вместе с шайбой, осью и рычагом вправо в исходное положение «Открыто».
Изделие МПМ-44М предназначено для наведения миномета в цель. Оно состоит из визира и механизма наведения.
Основные технические данные изделия МПМ-44М, его конструкция, сведения о работе с ним при стрельбе изложены в Техническом описании и инструкции по эксплуатации АЛЗ.812.044-01 ТО, которое поставляется с каждым изделием. Для обеспечения взаимного визирования минометов при построении параллельного веера и для наводки миномета в случаях, когда необходимо поднять линию визирования изделия МПМ-44М, применяется переходная стойка.
Переходная стойка (рис. 11) состоит из стойки 10, к концам которой прикреплены втулка 7 и держатель 1. Во втулке 7 с помощью штифтов 9 закреплен палец 8 с выемкой и штифтом для крепления и фиксирования стойки на кронштейне вертлюга. В держателе 1 смонтировано устройство для крепления изделия МПМ-44М, состояние из штока 4 с пружиной 3, штифта 2 и рукоятки 5, закрепленной на штоке 4 штифтом 6.

Рис. 11. Стойка:
1 — держатель 2Б14-1.20.1; 2 — штифт 5×20 ОСТ 3-2234-80; 3 — пружина 2Б14.03.11; 4 — шток 2Б14.03.10; 5 — рукоятка 7061–0003 ГОСТ 3055-69; 6 — штифт 4×16 ОСТ 3-2234-80; 7 — втулка 2Б14-1.20.3; 8 — палец 2Б14-1.20.4; 9 — штифт 5×25 ОСТ 3-2234-80; 10 — стойка 2Б14-1.20.2
Для обеспечения наводки миномета в условиях пониженной видимости (ночью, в тумане и т. п.), а также при отсутствии естественных удаленных точек наводки, используется орудийный коллиматор К-1. Работа миномета с коллиматором К-1 изложена в Техническом описании изделия МПМ-44М.
Прибор «Луч-ПМ2М» предназначен для освещения изделия МПМ-44М, коллиматора К-1, рабочих мест командира и снарядного. Правила обращения с ним изложены в Техническом описании прибора «Луч-ПМ2М».
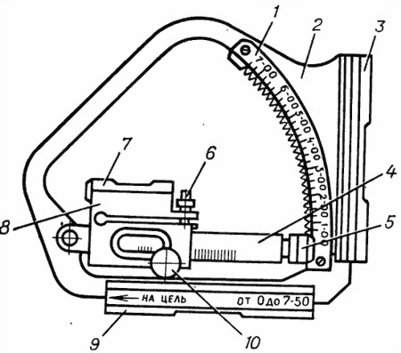
Квадрант (рис. 12) предназначен для проверки основных установок изделия МПМ-44М.
Квадрант состоит из рамки 2 с взаимно перпендикулярными опорными площадками и зубчатым сектором 1, направляющей дуги 4 и движка 8 с уровнем 7. Квадрант устанавливается на трубу опорными площадками в зависимости от угла возвышения от 0 до 7-50 или от 7-50 до 15–00. Зубчатый сектор служит для установки направляющей дуги 4 под заданным углом к опорным площадкам. Отчеты со шкал зубчатого сектора 1 снимаются с помощью рисок-указателей на стопоре 5 дуги.
На направляющей дуге 4 расположен движок 8 с уровнем 7, который перемещается вдоль дуги с помощью маховичка 10. На движке также имеется регулировочная втулка и винт, с помощью которых регулируется уровень и риски для снятия отсчетов со шкал направляющей дуги.

Рис. 12. Квадрант К-1:
1 — зубчатый сектор; 2 — рамка; 3 и 9 опорные площадки; 4 — направляющая дуга; 5 — стопор; 6 — регулировочный винт; 7 — уровень; 8 — движок, 10 — маховичок
Для определения отсчета угла, установленного на квадранте, складывают отсчеты, снятые со шкал зубчатого сектора и направляющей дуги. Чтобы придать определенный угол возвышения миномету, устанавливают величину этого угла на квадранте, ставят квадрант на поверхность трубы и, вращая рукоятку подъемного механизма, выводят пузырек уровня квадранта на середину.
Для измерения угла возвышения, приданного миномету, ставят квадрант соответствующий опорной площадкой на поверхность трубы, затем передвигают направляющую дугу 4 с движком 8, установленным на нуль, до появления перемещения пузырька уровня из одного конца ампулы в другой, а потом с помощью маховичка перемещают движок до выхода пузырька уровня на середину. После этого считывают по шкалам квадранта отсчет, который является искомым углом возвышения.
При выстреле вследствие отдачи, труба с хомутом и корпусами амортизатора перемещается назад, а двунога с поворотным механизмом и штоками амортизаторов в силу инерции остается на месте. Пружины амортизаторов при этом, сжимаясь, смягчают удар по двуноге. После выстрела пружины, разжимаясь, подтягивают двуногу назад, а труба под действием упругого сопротивления грунта и опорной плиты перемещается вперед, после чего изделие занимает исходное положение.
4. ЗАПАСНЫЕ ЧАСТИ, ИНСТРУМЕНТ И ПРИНАДЛЕЖНОСТИ
Для обеспечения нормальной эксплуатации миномета в войсках и поддержания его в постоянной боевой готовности путем проведения контрольного осмотра, ежедневного технического обслуживания и Технического обслуживания № 1, устранения отказов и неисправностей силами расчета каждый миномет снабжается одиночным комплектом ЗИП. Одиночный комплект ЗИП должен постоянно находиться при миномете, укомплектованным согласно Ведомости 2Б14-1.00 ЗИ.