40-мм ручной противопехотный гранатомет 6Г30 - Страница 9
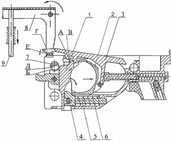
Рисунок А.9 — Механизм спусковой
1 — курок с ударником; 2 — спуск с тягой; 3 — рукоятка; 4 — корпус механизма; 5 — ось курка; 6 — винт рукоятки; 7 — толкатель; 8 — гнеток; 9 — пружина спуска; 10 — пружина боевая; А — выступ; Б — паз; В — зуб; Г— паз.

Рисунок А.9а — Схема работы механизма спускового
1 — курок с ударником; 2 — спуск; 3 — тяга; 4 — ось курка; 5 — гнеток; 6 — пружина боевая; 7 — переводчик; 8 — разобщитель; 9 — стержень; А — выступ; Б — выступ; В — зуб; Г — паз; Д — паз; Е — отгиб.

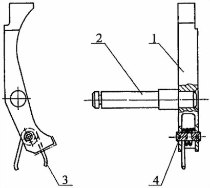
Рисунок А.10 — Крючок штыря
1 — крючок; 2 — втулка крючка; А — отверстие.

Рисунок А.11 — Шептало блока
1 — шептало; 2 — ось шептала; 3 — пружина шептала; 4 — штифт

Рисунок А.12 — Втулка запорная
1 — втулка запорная; 2 — фиксатор втулки; А — выступы сухарные; Б — выемка; В — проточка; Г — паз; Д — отгиб; Е — плечи.

Рисунок А.13 — Разобщитель с осью
1 — разобщитель; 2 — ось разобщителя; А — плечо; Б — плечо; В — отгиб.

Рисунок А.14 — Узел фиксации
1 — кольцо; 2 — фиксатор; 3 — пружина фиксатора; 4 — ось фиксатора; А — зуб; Б — выступ

Рисунок А.15 — Сумка для переноски гранатомета
1 — ремень 6Ш5; 2 — сумка 6Ш86.

Рисунок А.16 — Сумка для выстрелов 6Ш48М

Рисунок А.17 — Расположение сумки на гранатометчике

Рисунок А.18 — Ремень для ношения стрелкового оружия

Рисунок А.19 — Одиночный комплект ЗИП
1 — бойки; 2 — толкатели; 3 — шайбы стопорные; 4 — банник; 5 — отвертка; 6 — стержень; 7 — масленка; 8 — выколотка; 9 — фиксаторы втулки; 10 — чеки; 11 — кольцо-съемник

Рисунок А.20 — Отделение узла фиксации от блока ствольного
1 — кольцо-съемник; 2 — кольцо; 3 — опора кольца; 4 — винт опоры кольца; 5 — ручка винта; 6 — кольцо-съемник с узлом фиксации.

Рисунок А.21 — Гранатомет с откинутой крышкой

Рисунок А.22 — Заряжание гранатомета

Рисунок А.23 — Положение для стрельбы на дистанцию 100–200 м, "стоя с плеча"

Рисунок А.24 — Положение для стрельбы на дистанцию 100–200 м, "с колена с плеча"

Рисунок А.25 — Положение для стрельбы на дистанцию 100–200 м, "лежа с упора"

Рисунок А.26 — Положение для стрельбы на дистанцию 100–200 м, "лежа с руки"

Рисунок А.27 — Положение для стрельбы на дистанцию 200–400 м, "стоя из под руки"

Рисунок А.28 — Положение для стрельбы на дистанцию 200–400 м, "с колена из под руки"

Рисунок А.29–40 мм ручной противопехотный гранатомет 6Г30, неполная разборка
1 — блок ствольной; 2 — узел фиксации; 3 — бойки; 4 — толкатели; 5 — втулка запорная, 6 — основание со штангой, крышкой с рукояткой, прикладом с затыльником и механизмом спусковым.

Рисунок А.30–40 мм ручной противопехотный гранатомет 6Г30, полная разборка
1 — блок ствольный; 2 — приклад с затыльником; 3 — корпус механизма; 4 — рукоятка; 5 — разобщитель; 6 — пружина спуска; 7 — толкатель; 8 — гнеток; 9 — пружина боевая; 10 — спуск с тягой; 11 — курок с ударником; 12 — ось курка; 13 — переводчик; 14 — ось корпуса; 15 — выбрасыватель; 16 — пружина выбрасывателя; 17 — ось штанги; 18 — чека; 19 — шайбы стопорные; 20 — рычаг шептала; 21 — стержень; 22 — шептало блока; 23 — узел фиксации; 24 — бойки; 25 — толкатели; 26 — втулка запорная; 27 — основание со штангой и крышкой с рукояткой.

Рисунок А.31 — Пристрелочная мишень