120-мм миномет обр. 1938 г. Руководство службы - Страница 16
— включить стопор.
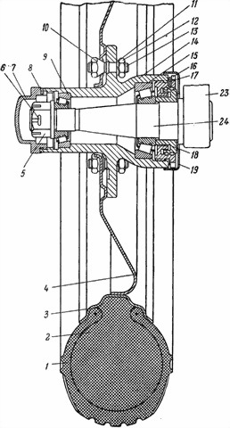
Механизм подрессоривания
Механизм подрессоривания предназначен для смягчения действия толчков колес на раму при транспортировке хода.
Ход имеет два подрессоренных колеса. Подрессоривание каждого колеса смонтировано на кронштейнах 16 рамы хода (рис. 45).
Подрессоривание устроено так, что в каждом кронштейне рамы хода имеется поперечное сквозное отверстие, в которое запрессованы две втулки 25 и 26. Эти втулки служат подшипниками для шипа 27.
Колесо с рамой хода соединяется кривошипом, который состоит из планки 23, полуоси 24 и шипа 27. Полуось 24 и шип 27 вставлены в отверстия планки 23 и приварены к ней. На полуось 24 надевается колесо, а шип 27 вставляется в отверстие кронштейна, в котором от продольного перемещения удерживается шайбой 21 и корончатой гайкой 20, навинченной на нарезной конец шипа. От самоотвинчивания гайка 20 удерживается шплинтом 19.
Для смазывания трущихся поверхностей в шипе просверлены отверстия в и б, а в торец шипа ввинчена масленка 22. Через отверстия в и б смазка из масленки поступает на трущиеся поверхности.
На шлицы шипа, имеющиеся на его средней части, насажен один конец рычага 4, который помещается внутри кронштейна 16; другой конец рычага шарнирно соединен с тягой 7. На тягу 7, проходящую через отверстие в верхней полке кронштейна, надета пружина 8.

I

II
Рис. 45. Механизм подрессоривания хода:
1 — буфер (1-99); 2 — винт (А51063-7); 3 — обойма буфера (1-98); 4 — рычаг (1-92); 5 — винт (А51066-135); 6 — ось (1-94); 7 — тяга (1-93); 8 — пружина (1-102); 9 — гайка (А51011-35); 10 — шплинт (А51040-29); 11 — направляющая шайба (1-103); 12 — шаровая шайба (1-104); 13 — кожух (Сб1-18); 14 — шайба (1-101); 15 — кольцо (1-18); 16 — кронштейн (1-16); 17 — запор (Сб1-19); 18 — крышка (1-112); 19 — шплинт (А51040-37); 20 — гайка (1-79); 21 — шайба (1-123); 22 — масленка (А72276-24); 28 — планка (1-81); 24 — полуось (1-80); 25 — втулки (1-19); 26 — втулка (1-20); 27 — шип (1-79); 28 — прокладка (1-95); 29 — шайба (1-96); 30 — винт (1-79); а — плоскость рычага для упора в буфер; б и в — отверстия для смазки
Между пружиной и гайкой 9 на тягу надеты шайбы — направляющая 11 и шаровая 12. Под пружиной имеется шайба 14.
Пружина поджата корончатой гайкой 9, навинченной на тягу 7. От самоотвинчивания гайка 9 удерживается шплинтом 10. От боковых перемещений пружина удерживается кольцом 15, приваренным к кронштейну 16, и выступом на шайбе 11. От загрязнения пружина предохраняется кожухом 13, прикрепленным к кронштейну тремя винтами 5, которые стопорятся проволокой, проходящей через отверстия в головках винтов.
Для смягчения ударов головки тяги 7 о кронштейн 16 между ними поставлена кожаная прокладка 28, которая предохраняется от разбивания шайбой 29, прикрепленной к полке кронштейна винтами 30.
Чтобы пружина не сжималась до соприкосновения витков, поворот рычага 4 ограничивается резиновым буфером 1, который помещается в обойме 3, приваренной к кронштейну 16.
В обойме буфер удерживается винтом 2. Для предохранения от загрязнения снизу механизм подрессоривания закрыт крышкой 18, один конец которой шарнирно соединен с кронштейном петлей, а другой — при помощи запора 17.
На полуось 24 кривошипа (рис. 46) надета тарелка 19 и напрессована втулка 18; они предохраняют ступицу колеса от попадания в нее пыли и влаги.
Действие механизма подрессоривания
Сила тяжести хода и уложенного на него миномета через ось, кронштейн, кривошип, рычаг и тягу передается на пружину 8 (см. рис. 45), при этом пружина несколько сжимается.
При движении хода толчки, воспринимаемые полуосью, заставляют кривошип и шип поворачиваться по направлению движения часовой стрелки. Вместе с шипом поворачивается рычаг, который тянет за собой тягу, сжимающую пружину.
Пружина смягчает действие толчков на кронштейн, а следовательно, на раму хода и на миномет.

Рис. 46. Колесо:
1 — резиновая покрышка; 2 — губчатый каучук; 3 — обод; 4 — диск; 5 — гайка с буртиком (1-34); 8 — шплинт (А51040-37); 7 — колпак (2–5); 8 — стопорное кольцо (2–6); 9 — роликоподшипник (2–2); 10 — гайка с конусом (2-12); 11 — пружинная шайба (А51027-6); 12 — гайка (А51010-6); 13 — шпилька (2–8); 14 — ступица (2–1); 15 — роликоподшипник (2–3); 16 — круглая гайка (2–4); 17 — стопорное кольцо (2–7); 18 — втулка (1-83); 19 — тарелка (1-82); 23 — планка (1-81); 24 — полуось (1-80)
Разборка и сборка механизма подрессоривания
Разборка
Механизм подрессоривания разбирать при замене неисправных деталей, а также при периодической чистке и смазывании.
Разборку и сборку механизма подрессоривания можно производить, не снимая колесо с полуоси.
Для разборки механизма подрессоривания необходимо:
— поставить ось хода на подставки (можно использовать домкрат автотягача) и, вывесив колеса, снять их с полуосей 24 (см. рис. 45) для облегчения и удобства разборки.
Для удобства работы при разборке механизма подрессоривания снять с хода ящик орудийного 3ИП, расшплинтовать гайки и свинтить их ключом Сб4-2 с болтов;
— расстопорить и вывинтить винты 5, снять кожух 13;
— расшплинтовать и свинтить гайку 9 с тяги 7, снять шаровую шайбу 12 и направляющую шайбу 11, пружину 8 и шайбу 14. При свинчивании гайки 9 следует заметить ее положение для того, чтобы при сборке установить ее в первоначальное положение.
При полной разборке механизма подрессоривания, кроме указанного, следует:
— разомкнуть запор 17 и открыть крышку 18;
— расшплинтовать и свинтить гайку 20 с шипа 27, снять шайбу 21 и отделить кривошип от кронштейна 16; если усилием рук не удается вынуть шип 27 из кронштейна, то следует наложить на нарезной конец шипа деревянную накладку и ударами молотка по ней сдвинуть шип с места, затем вынуть его руками; при этом нужно заметить положение рычага 4 на шипе 27;
— вынуть рычаг 4 вместе с тягой 7 из кронштейна;
— вывинтить винты 30, снять шайбу 29 и кожаную прокладку 28 (если их требуется заменить); без надобности шайбу 29 и прокладку 28 не отделять.
Если необходимо, заменить изношенный буфер 1, вывинтить винт 2, вынуть изношенный буфер, поставить новый и закрепить его тем же винтом.
После чистки и смазывания механизма или замены неисправных деталей необходимо через масленку ввести в канал шипа 27 такое количество смазки, чтобы она вышла на поверхность шипа через отверстие б. После этого протереть и смазать втулки 25 и 26 кронштейна.