108 минут, изменившие мир - Страница 8
Уже в то время, когда ракета «А-3» находилась на стадии проектирования (лето 1936 года), Вернер фон Браун и Вальтер Ридель задумали построить ракету, которая в дальнейшем стала известна как «А-4». Она должна была доставить боевую часть весом в 1000 кг на расстояние в 260 км. По этим данным можно спроектировать большое количество совершенно разных ракет, но выбор габаритов определился элементарным соображением: требовалось доставить новое оружие вплотную к линии фронта, а следовательно, максимально допустимые габариты диктовались шириной туннелей и кривизной закруглений железнодорожной колеи. Для такой ракеты требовался новый мощный двигатель, и за его разработку взялся талантливый конструктор Вальтер Тиль. Он не только сумел улучшить конструкцию, предложенную Риделем, но и добился полного и равномерного сгорания топлива, использовав специальные центробежные форсунки.

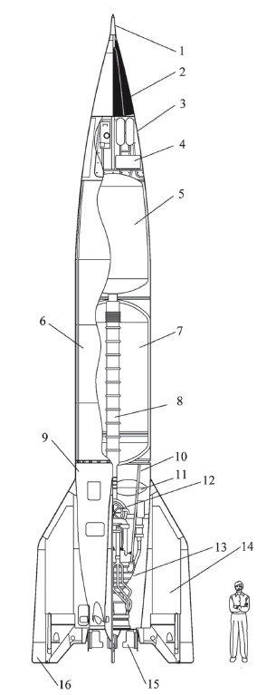
Схема баллистической ракеты «А-4^-2» (рисунок А. Шлядинского): 1 – наконечник с головным взрывателем; 2 – боевая часть; 3 – приборный отсек; 4 – приборы системы управления; 5 – бак горючего; 6 – топливный отсек; 7 – бак окислителя; 8 – тоннель трубопровода горючего; 9 – хвостовой отсек; 10 – рама ракетного двигателя; 11 – бак перекиси водорода; 12 – турбонасосный агрегат; 13 – камера сгорания и сопло; 14 – стабилизаторы; 15 – газовые рули; 16 – воздушные рули
В двигателе «А-4» были применены и другие технологические новшества: пленочное охлаждение, сварные стенки камеры сгорания.
Ракета «А-4» имела общую длину 14,3 м и стартовый вес 12,7 т и состояла из четырех отсеков. Носовая часть представляла собой боевую головку массой 1 т. Ниже находился приборный отсек, в котором наряду с аппаратурой помещались стальные цилиндры со сжатым азотом, используемым для повышения давления (вытеснения) в баке с горючим. Ниже приборного располагался топливный отсек – самая объемистая и тяжелая часть ракеты. Бак с этиловым спиртом располагался в верхней части этого отсека. Из него через центр бака с кислородом проходил трубопровод, подававший горючее в камеру сгорания. Самой важной новинкой в «А-4» по сравнению с другими ракетами было наличие турбонасосного агрегата для подачи компонентов топлива к форсункам двигателя.

Принцип работы двигателя «Овен» ракеты «А-4»
В 1940 году ракетный центр Пенемюнде вдруг оказался на «голодном пайке»: начавшаяся война жадно поглощала ресурсы, и финансирование резко снизилось. Но все же к лету 1942 года ракетчикам удалось выпустить опытные образцы «А-4».
Первый экспериментальный запуск новой большой ракеты состоялся 13 июня 1942 года в присутствии министра вооружений Альберта Шпеера и фельдмаршала Эрхарда Мильха. Зрелище было столь эффектным, что и через двадцать пять лет Шпеер вспоминал о нем с благоговением: «В пусковую секунду, сначала как бы нехотя, а затем с нарастающим рокотом рвущего оковы гиганта, ракета медленно отделилась от основания, на какую-то долю секунды, казалось, замерла на огненном столбе, чтобы затем с протяжным воем скрыться в низких облаках. Лицо Вернера фон Брауна сияло от счастья. Я же был просто потрясен этим техническим чудом – опровержением на моих глазах привычного закона тяготения: без всякой механической тяги вертикально в небо вознеслись тринадцать тонн груза!..»
Однако столь эффектный взлет завершился провалом – двигатель ракеты отработал 36 секунд, после чего она рухнула на землю в 1,3 км от старта. Второй запуск состоялся только через два месяца, ракета поднялась на 11 км, но в полете разрушилась головная часть.
Успех сопутствовал лишь третьей ракете «А-4» – ясным днем 3 октября 1942 года она преодолела расстояние в 190 км. Радости конструкторов не было предела, однако следующие запуски вновь принесли разочарование. Большая ракета еще требовала доводки.
Семнадцатого февраля 1943 года работники Пенемюнде запустили «А-4» вертикально вверх, чтобы узнать ее «потолок». Ракета достигла высоты 192 км, преодолев таким образом условную границу космоса. На корпусе этой ракеты техники нарисовали голую красотку, сидящую на лунном серпе, – в память о фантастическом фильме Фрица Ланга «Женщина на Луне».
Немецкие ракетчики оставались энтузиастами освоения Вселенной, они часто обсуждали возможность создания искусственных спутников Земли и пилотируемых космических кораблей. Вернер фон Браун налаживал контакты с метеорологами и астрономами, чтобы начать научные исследования с помощью ракет. Однако эта деятельность была запрещена на высшем уровне – ракетчиков чуть не обвинили в государственной измене и саботаже. После «профилактического» ареста Вернера фон Брауна сотрудники Пенемюнде занимались исключительно военными аспектами применения ракет…

Старт ракеты «А-4» на полигоне Пенемюнде
Еще весной 1942 года английская агентура в Германии получила информацию, что Пенемюнде является важнейшим военным объектом. Информация требовала проверки, и командование стало посылать разведывательные самолеты в этот район Балтики, однако, чтобы не выдать немцам своих намерений, англичане фотографировали все побережье – от Киля до Ростока. Через некоторое время летчики сообщили, что немцы вполне примирились с частыми полетами над этим районом, а однажды один из разведчиков вернулся с фотоснимком, на котором было изображено нечто похожее на небольшой самолет на наклонной пусковой установке[43].

Разрушения на улицах Лондона, причиненные ракетами «V-2»
Вечером 17 августа 1943 года немцы узнали о концентрации крупных сил английской бомбардировочной авиации над Балтийским морем, но сделать уже ничего не успели. Ночью Пенемюнде подверглось налету более 300 тяжелых бомбардировщиков, сбросивших огромное количество фугасных и зажигательных бомб. Целями бомбардировки были испытательные стенды, производственные цеха и поселок на острове Узедом. Человеческие потери составили 735 человек. Среди них был и главный «двигателист» Вальтер Тиль.
Однако разрушение ракетного центра уже не могло остановить Адольфа Гитлера, который увидел в «А-4» оружие, способное поставить Англию на колени и вывести ее из войны.
Вернувшись однажды из ставки, рейхсминистр Геббельс опубликовал в «Фёлькишер Беобахтер» следующее зловещее заявление: «Фюрер и я, склонившись над крупномасштабной картой Лондона, отметили квадраты с наиболее стоящими целями. В Лондоне на узком пространстве живет вдвое больше людей, чем в Берлине. Я знаю, что это значит. В Лондоне вот уже три с половиной года не было воздушных тревог. Представьте, какое это будет ужасное пробуждение!..»

Мальчик-жертва «V-2», Антверпен, 1944 год
«Война механизмов» (Robot Blitz) началась ранним утром 13 июня 1944 года. В первой волне атаки на Лондон использовались самолеты-снаряды «V-1», созданные по заказу ВВС[44]. Когда английские военные научились бороться с ними, в ход пошли ракеты «А-4», названные в целях пропаганды «V-2» (от нем. Vergeltung – возмездие).

Немецкие ракетчики сдаются в плен: слева – Вальтер Дорнбергер, с загипсованной рукой – Вернер фон Браун (© NASA)
Ракетные атаки продолжались с 8 сентября 1944 года по 23 марта 1945 года. За этот период времени по целям в Англии и на континенте было запущено свыше 4000 «V-2». По официальным данным, на территорию Англии упало 1054 баллистические ракеты. Погибло 2754 человека, в основном гражданское население. Ракетчики Пенемюнде так и не сумели добиться точности в наведении ракет, а большое рассеивание (от 10 до 20 км!) свело наносимый ущерб к минимуму. Поставить Англию на колени массированным применением ракетного оружия не удалось.