107-мм горно-вьючный полковой миномет обр. 1938 г. (107 ГВПМ-38) Руководство службы. - Страница 20
От вращения во время перевозки стяжки 26 удерживаются специальным стопорным приспособлением, имеющим следующее устройство:
На передний рым 25 надевается стопорная втулка 34, внутри которой помещается пружина. Пружина, упираясь с одной стороны в круговой выступ рыма, а с другой — во внутренний фланец стопорной втулки 34, прижимает стопорную втулку 34 торцовым выступом в переднюю прорезь д стяжки 26 и скрепляет, таким образом, стяжку со стопорной втулкой; от вращения стопорная втулка удерживается штифтом 36, ввинченным в передний рым; головка штифта находится в Г-образном пазу ж стопорной втулки.
При оттягивании стопорной втулки вперед и при малом ее повороте головка штифта входит в малую ветвь паза Г-образной формы и выключает стопорное приспособление; после выключения стопора стяжку 26 можно вращать.
Снятие стрелы механической тяги с передка. Оттянуть вперед стопорные втулки 34 и повернуть их так, чтобы штифт 36 вошел в малую ветвь Г-образного паза ж стопорной втулки.
Вращая стяжки 26, ослабить оттяжки. Повернуть засовы 33 ручками параллельно трубе, приподнимая поочереди засовы, вынуть серьги 32 из кронштейнов 20 и 21. Снять стяжки с крюков 6 кронштейна 5. Вынуть шплинт из засова и засов из дышловой трубы и трубы стрелы. Вынуть стрелу.
Постановка стрелы механической тяги на орудийный передок. Выдернуть из засова шплинт и вынуть из дышловой трубы рамы засов.
Вставить в дышловую трубу до упора стрелу механической тяги и немного поворачивать ее в стороны до тех пор, пока ловитель 3 трубы не войдет в свое гнездо в дышловой трубе, это будет характеризоваться тем, что стрела перестанет поворачиваться, а отверстия под засов в дышловой трубе и стреле совпадут, тогда в дышловую трубу и трубу стрелы вставить засов и в него вставить шплинт.
Концевым звеном 24 зацепить оттяжки за крюки б кронштейна 5.
Повернуть засовы 33 ручками параллельно трубе и, приподнимая их, вложить в проушины кронштейнов 20 и 21 серьги 32; опустить вниз засовы и повернусь их ручками перпендикулярно к трубе.
Примечание. Если же длина оттяжек окажется недостаточной, то отстопорить стяжки и, вращая их, увеличить длину.
Вращая одновременно стяжки, равномерно и туго натянуть оттяжки.
Застопорить стяжки: повернув стопорные втулки 34 так, чтобы штифты 36 встали против продольных пазов стопорных втулок. отпустить стопорные втулки, для того чтобы их торцовые выступы вошли под действием пружин в прорези д стяжек, если же выступы не войдут, то надо несколько повернуть в нужную сторону стопорные втулки или стяжки и совместить выступы с прорезями.
Разборка стопорного приспособления оттяжек стрелы механической тяги (рис. 55).
Разборка производится для смены деталей приспособления или чистки его. Для разборки стопорного приспособления необходимо сделать следующее:
Выбить штифт 28, выключить стопор стяжки, для чего оттянуть стопорную втулку 34 вперед и повернуть ее в сторону так, чтобы штифт 36 вошел в малую ветвь паза стопорной втулки.
Зажав гайку 27, вывинтить из нее передний рым 25 с частями стопорного приспособления; вынуть из стяжки гайку 27, шайбу 29 и передний рым 25.
Повернуть стопорную втулку 34 так, чтобы штифт 36 вошел в сквозной паз стопорной втулки.
Снять с переднего рыма стопорную втулку 34 и пружину 35.
Сборка стопорного приспособления оттяжек стрелы механической тяги.
Надеть на передний рым 25 пружину и стопорную втулку 34, штифт 36 переднего рыма должен войти в продольный паз стопорной втулки. Прижать стопорную втулку к ушку рыма и повернуть ее так, чтобы штифт 36 вошел в малую ветвь паза стопорной втулки.
Вставить в стяжку 26 шайбу 29 и гайку 27.
Вставить в отверстие стяжки передний рым с собранным на нем стопорным приспособлением и, придерживая гайку 27, ввинчивать в нее рым, пока не совпадут отверстия под штифт 28 в гайке и рыме. Вставить штифт 28. Выключить стопорное приспособление, при этом торцовый выступ стопорной втулки должен войти в прорезь д стяжки.
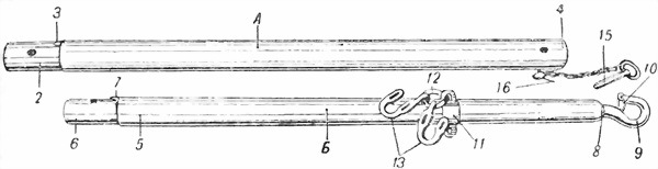
Дышло (рис. 56 и 57) состоит из двух частей: корневой А и уносной Б (рис. 56).
Корневая часть А дышла. В заднюю часть цилиндрической трубы вварен конец 2, к фланцу которого приварен ловитель 3; концом 2 корневая часть вставляется в трубку 1, которая связывает дышло с передком.

Рис. 56. Дышло (сб. 04):
А — корневая часть дышла (сб. 04-1); Б — уносная часть дышла (сб. 04-3); 2 — конец (04-2); 3 — ловитель (04–15); 4 — втулки (04-3); 5 — коническая труба уносной части дышла (04-5); 6 — конец конической трубы (04-7); 7 — ловитель уносной часть дышла (04–15): 8 — гайка (04-6); 9 — уносный крюк (04-8); 10 — кольцо (04-9); 11 — обойма (04–10; 04–11); 12 — кольцо (04–13); 13 — крюк нашильный (04–12); 15 — засов (сб. 04-4); 16 — шплинт засова (04–18).
При постановке корневой части ловитель 3 попадает в гнездо на торце трубы 1 (рис. 55), благодаря чему совпадают отверстия под засов в корневой части дышла и трубе 1.
В переднюю часть трубы вварена втулка 4, имеющая на торце гнездо для ловителя уносной части дышла. В трубе 1 и втулке 4 имеются отверстия для засова, соединяющего корневую часть дышла с уносной.

Рис. 57. Дышло (общий вид):
7 — ловитель уносной части дышла (04–15); 15 — засов (сб.04-4); 16 — шплинт засова (04–18).
Уносная часть Б дышла. В заднюю часть конической трубы 5 вварен конец 6, к фланцу которого приварен ловитель 7. В переднюю часть трубы вварена гайка 8, в которую ввинчен и приварен уносный крюк 9 с кольцом 10, соединяющий дышло с уносной вагой. Назначение кольца — удерживать вагу на крюке.
Несколько сзади уносного крюка и обойме 11 прикреплены при помощи кольца 12 два нашильных крюка 13.
Концы обоймы, представляющие собой проушину, служат для присоединения к дышлу подстановки.
Соединение корневой части дышла с уносной (рис. 57). Уносная часть дышла вставляется в переднюю часть корневой части, при этом ловитель 7 входит в гнездо на торце втулки корневой части.
В отверстия корневой и уносной частей вставляется засов 15, который закрепляется шплинтом 16.
Корневая вага (рис. 58) представляет собой изогнутую трубу 1. В торцы трубы вварены заглушки 2, на концы трубы надеты и приварены обоймы 3. Через отверстия обоймы и трубы вставлены и приварены крюки 4 для вальков коренных лошадей. Вальки удерживается на крюках при помощи колец 5, вставленных в крюки.
Для соединения ваги с рамой передка ближе к концам ваги приварены две обоймы 6, соединенные при помощи звеньев 7 с серьгами 8. В серьгах имеются отверстия под засов.

Рис. 58. Корневая вага:
1 — труба ваги (05-1); 2 — заглушки (05-8); 3 — обойма (05-2); 4 — крюк (05-6); 5 — кольцо (05-7); 6 — обойма (05-5); 7 — звено (05-4); 8 — серьга (05–03); 9 — обоймы средние (05-9); 10 — кольцо (05-7); 11 — цепь (05–10); 12 — кольцо (05–11).