107-мм горно-вьючный полковой миномет обр. 1938 г. (107 ГВПМ-38) Руководство службы. - Страница 16
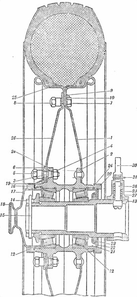
Диски соединены друг с другом болтами 7 с гайками 8.
Чтобы болты или гайки не могли отвинтиться во время возки, под каждые два болта подложены стопорные планки 9 с захватами, а под каждые две гайки — стопорные планки 10, чередующиеся со стопорными планками 11 с ушками (рис. 47).
Для уменьшения тягового усилия каждое колесо снабжено двумя роликоподшипниками 12, которые вставлены перед ступицей и за нею. Задний роликоподшипник укреплен между задней внутренней заточкой ступицы и заточкой втулки 13 колеса, а передний роликоподшипник — между передней внутренней заточкой ступицы и концевой гайкой 14. Навинченная на втулку 13 гайка 14, кроме того, удерживает втулку в колесе; от отвинчивания концевая гайка 14 предохраняется шплинтом 15.
Ступица прикрывается колпаком, который состоит из венчика 16, чашки 17 и катушки 18. Для того чтобы колпак не отвертывался при возке, под одну из гаек 5 шпильки 3 подложена одним концом изогнутая стопорная накладка 19; другим концом накладка входит в один из прямоугольных вырезов венчика 16 колпака.
Корневой конец колеса прикрыт венчиком 20, внутри которого собран сальник, состоящий из: кожуха 21, крышки 22 кожуха, уплотняющего кольца 23.
Назначение сальника — не выпускать смазку из ступицы колеса и предохранять ступицу от грязи и пыли.
Для этой же цели между венчиками 16 и 20 проложены прокладки 24 из прессшпана.
От отвинчивания венчик 20 предохраняется стопорной планкой 32, удерживаемой винтом 33 (рис. 47).

Рис. 46. Колесо (разрез):
1 — задний диск, 2 — ступица; 2а — концевая часть ступицы; 3 — шпилька; 4 и 5 — гайка (12–30); 6 — усиливающее кольцо (12–24); 7 — болт (12–29); 8 — гайка (12–30); 9 — стопорные планки с захватом (12–26); 10 — стопорная планка (12–27); 11 — стопорная планка с ушком (12–28); 12 — роликоподшипник (12–19); 13 — втулка колеса (сб. 12-5); 14 — концевая гайка (12–21); 15 — шплинт (12–22); 16 — венчик; 17 — чашка; 18 — катушка; 19 — стопорная накладка (12–31); 20 — венчик; 21 — кожух (сб. 12-4); 22 — крышка кожуха; 23 — уплотняющее кольцо (12–18); 24 — прокладки из прессшпана; 25 — флиппер (12–25); 26 — передний диск (12–23); 27 — обойма стопора; 28 — стопор (12–14); 29 — пружина стопора (12–15); 30 — наконечник стопора (12–16); 31 — шплинт (12–17).
Флиппер 25 проложен для того, чтобы при сборке дисков колеса губчатая резина не зажималась между дисками.
Колесо удерживается на конце оси при помощи стопорного приспособления, собранного в обойме 27. Стопорное приспособление состоит из стопора 28, пружины 29 и наконечника стопора 30, ввинченного в стопор и закрепленного шплинтом 31. В собранном виде стопор под действием пружины всегда входит во внутреннюю полость втулки.
Обойма 27 приварена к втулке.
Надевание колеса. Стопор поднимается за наконечник вверх, и колесо надевается так, чтобы отверстие под стопор на конце оси встало против стопора. После этого стопор отпускается.
Снимание колеса. Стопор поднимается за наконечник вверх, и колесо снимается.
Разборка и сборка колеса
Разборка ступичного устройства (рис. 46 и 47). Ступичное устройство разбирается только в необходимых случаях (для чистки сильно загрязненных роликоподшипников).
Для разборки необходимо выполнить следующее:
1. Снять колесо с конца оси.
2. Отвинтить гайку 5 и снять накладку 19.
3. Отвинтить колпак и вынуть шплинт 15.
4. Отвинтить концевую гайку 14.
о. Легко ударяя деревянным молотком по выходному концу втулки 13, выбить втулку и вынуть выходной роликоподшипник.
6. Отвинтить винт 33.
7. Снять стопорную планку 32.
8. Отвинтить венчик 20 с собранным в нем сальником.
9. Вынуть корневой роликоподшипник.
Сборка колеса после чистки ступичного устройства.
1. Надеть на втулку 13 венчик 20 с собранными в нем сальником и исправной прессшпаповой прокладкой 24.
2. Вложить в корневую часть ступицы роликоподшипник, наклоном роликов вперед.
3. Вставать втулку в роликоподшипник и рукой ввинтить немного венчик 20.
4. Придерживая втулку, вставать в выходной конец ступицы другой роликоподшипник, наклоном роликов к корневому концу ступицы.
5. Навинтить концевую гайку 14, после подтягивания гайки 14 колесо должно свободно вращаться вокруг втулки; при этом не должно быть большого продольного люфта колеса.
6. Вставить шплинт 15 и развести его концы.
7. Навернуть колпак, предварительно убедившись в том, что прокладка 24 из прессшпана исправна и что она находится в выточке венчика колпака; при обнаружении неисправности прокладки 24 заменить ее.
8. Надеть на конец шпильки 3 накладку 19, для чего один конец завести под гайку 5, а другой конец — в один из прямоугольных вырезов венчика колпака.
9. Навернуть доотказа гайку 5.
10. Ввинтить доотказа венчик 20, поставить стопорную планку 32 и прикрепить ее винтом 33.
Разборка колеса для замены покрышки с губчатой резиной ГК производится в том случае, если обнаруживается разрушение губчатой резины, вследствие чего покрышка оседает по всей поверхности или местами.
Для разборки колеса (рис. 46 и 47) необходимо выполнить следующее:
Свинтить шесть гаек 5 со шпилек, крепящих передний диск к ступице; снять накладку 19 и усиливающее кольцо 6, свинтить гайки 8 с болтов, крепящих диски друг к другу, в следующем порядке: свинтить две гайки, соединенные планкой; две соседние гайки, соединение другой планкой, пропустить и свинтить две следующие гайки. Таким образом, надо свинтить шесть гаек, а шесть оставить несвинченными.
Вынуть освобожденные от гаек болты и снять планки. Вместо вынутых коротких болтов поставить длинные вспомогательные болты и навинтить на них гайки, плотно притянув их к диску. Свинтить остальные шесть гаек с коротких болтов, вынуть болты и снять планки. Свинчивая поочередно гайки с длинных болтов на 1–2 оборота, отделить диски, вынуть болты и снять покрышку с губчатой резиной и флиппером 25.
Сборка колеса для замены покрышки с губчатой резиной ГК.
На борт одного из дисков набить покрышку с губчатой резиной ГК и флиппером 25. Приложить к покрышке другой диск так, чтобы отверстия обоих дисков совпали.
Длинные вспомогательные болты пропустить через шесть отверстий дисков (как указано в разделе «Разборка колеса») и равномерно поджимать их гайками до тех пор, пока верхние части дисков не соединятся плотно друг с другом. Надеть на шпильки 3 усиливающее кольцо 6, на одну из шпилек надеть накладку 19 и навинтить шесть гаек 5. Подложив под головки каждых двух соседних болтов 7 стопорные планки 9 с захватами, вставить болты в отверстия со стороны корневого диска. На хвосты болтов 7 надеть стопорные планки 11 с ушками и навинтить гайки 8.
Отвинтить гайки с длинных болтов, снять эти болты и вместо них поставить болты 7, подложив под их головки стопорные планки 9 с захватами. На хвосты болтов надеть планки 10 и навинтить гайки 8.
Разборка стопора колеса. Разборка стопора колеса (рис. 47) производится для замены пружины или чистки стопорного приспособления.