107-мм горно-вьючный полковой миномет обр. 1938 г. (107 ГВПМ-38) Руководство службы. - Страница 12

а

б
Рис. 30. Опорная плита (сб. 5):
а — общий вид сверху; б — общий вид снизу; 146 и 147 — ребра. (5–6, 5–7, 5–8); Ц — центральный сошник; Б — боковой сошник; Г — гнездо для шаровой пяты.
К верхней стороне основания плиты приварено четыре ребра 150, при помощи которых опорная плита укладывается на конский вьюк.
Для производства выстрела при помощи длинного спускового шнура имеются два крючка 151 (правый и левый), за которые и заводится шнур.
Глава V
МИНОМЕТНЫЙ ПРИЦЕЛ МП-82-УС[2]
Минометный прицел МП-82-УС (рис. 31) обеспечивает ведение огня из миномета по видимым целям (прямая наводка) и по невидимым целям (непрямая наводка).
Прицел состоит из следующих частей: а) коллиматора О, б) механизма горизонтальных углов (угломера) Г и в) механизма углов прицеливания (собственно прицела П).

Рис. 31. Прицел МП-82 (общий вид слева):
3 — корпус коллиматора; 6 — кронштейн коллиматора; 24 — рычаг (отводка); 28 — ручка червяка угломера; 30 — поверочный уровень; 33 — боковой уровень; 35 — корпус прицела; 51 — указатель (индекс); У — указатель барабана прицела; Ш — грубая шкала углов прицеливания; О — коллиматор; Г — угломер: П — механизм углов прицеливания.

Рис. 32. Прицел МП-82 (общий вид справа):
6 — кронштейн коллиматора; 9 — гайка оси; 10 — указатель (индекс); 11 — шкала грубой наводки; 12 — корпус угломера; 24 — рычаг (отводка); 28 — ручка; 35 — корпус прицела; 40 — ручка червяка; 70 — поперечный уровень; 77 — ось; К — посадочный клин; С — скошенная часть посадочного клина.
Коллиматор расположен на вращающейся крышке угломерного механизма. В корпусе угломерного механизма, внизу, имеется круговая выточка, которой корпус насажен на круговой фланец кронштейна прицела. Круговая выточка на корпусе угломера и фланец на кронштейне корпуса прицела плотно подогнаны друг к другу и надежно скреплены винтами.
Таким образом, коллиматор, угломерный механизм и прицел представляют собой одно целое. Коллиматор и угломерный механизм, вместе взятые, представляют собой упрощенную панораму, которая служит для наводки миномета в цель. Линия 30–00 на панораме определяет направление оптической оси прицела. Если при этом на всех остальных шкалах имеются нулевые установки, то оптическая ось прицела представляет собою нулевую линию прицеливания.
Собственно прицел служит для придания оси канала ствола требуемых углов прицеливания.
Наружные части коллиматора и угломера показаны на рис. 31, 32 и 33:
а) Наружные части коллиматора: корпус коллиматора 3; ось корпуса коллиматора 77; кронштейн коллиматора 6; гайка оси 9.
На корпусе коллиматора (рис. 31) сбоку выгравировано:
МП-82-УС
№…, марка завода,
год изготовления…
На корпусе коллиматора нанесена белая стрелка для направления коллиматора на точку наводки.
б) Наружные части угломера: корпус угломера 12; указатель (индекс) 10 для отсчета по шкале грубой наводки; шкала грубой наводки угломера 11; ручка червяка 28 (рис. 33) с точной шкалой (барабан) угломера, 27 и с рычагом 24 (отводкой), на котором нанесен указатель для отсчета по шкале точной наводки; поперечный уровень 30 (рис. 31); боковой уровень 33; шайба усиления Шб (рис. 33) на прицелах МП-82-УС.
Грубая шкала угломера разбита на 60 равных делений; каждое деление равняется — 100 тысячным. Нумерация делений дана через одно деление (2, 4, 6, 10 и т. д. до 68); деления 0 и 60 обозначены точками. Угломер допускает работы с прицелом в пределах 360°, т. е. в пределах 60 делений. Точная шкала угломера нанесена в тысячных и имеет 100 делений. Каждое десятое деление шкалы обозначено соответствующей цифрой: от 0 до 90. Один полный оборот точной шкалы угломера соответствует одному делению грубой шкалы, т. е. 1-00.

Рис. 33. Прицел МП-82 (общий вид спереди):
2 — крышка; 24 — рычаг (отводка) 27 — точная шкала угломера; 28 — ручка; К — посадочный клин; Шб — шайба.
в) Наружные части собственно прицела: корпус 35; ручка 40 червяка с точной шкалой углов прицеливания; грубая шкала углов прицеливания Ш.
Грубая шкала углов прицеливания Ш разбита на 10 делений, занумерованных следующим образом: 0, 10, 9, 8, 7, 6, 5, 4, 3, 2. Каждое деление равняется 100 тысячным. Прицел допускает производить отсчет углов прицеливания от 45 до 85° (установка 10–00 соответствует углу прицеливания 45°).
Точная шкала прицела нанесена в тысячных и имеет 100 делений. Каждое десятое деление обозначено соответствующей цифрой: от 0 до 90. Один полный оборот точной шкалы углов прицеливания соответствует одному делению грубой шкалы, т. е. 1-00.
Для отсчета по грубой шкале на кронштейне прицела укреплен указатель 51. На правой стороне корпуса прицела имеется посадочный клин К (хвостовик прицела). Клин К имеет прорезь, в которую входит гайка с ползунком винта 67 (рис. 25) механизма крепления прицела.
При соответствующем наклоне ключа, имеющего прорезь, ползунок, двигаясь, затягивает клин в гнездо или, наоборот, выжимает его (в зависимости от вращения зажимного винта 67), чем обеспечивается надежное крепление прицела или освобождение его при снятии.
При стрельбе необходимо следить за тем, чтобы зажимной винт 67 был зажат доотказа, для чего необходимо проверять поджатие его после каждых 3–4 выстрелов.
Устройство коллиматора
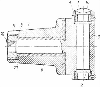
Коллиматор (рис. 34) служит для визирования в точку наводки. Состоит он из объектива, склеенного из двух линз 1 и 1а. В фокусе объектива установлена плоско-параллельная пластинка 2 со световой щелью. Световая щель представляет собою прорезь в слое серебра, покрывающем плоскость пластинки со стороны объектива шириной 0,05 мм.
Объектив завальцован в оправу 4, а пластинка 2 закреплена в корпусе 3 коллиматора.
Корпус коллиматора укреплен на горизонтальной оси 77 (рис. 32), на которой коллиматор имеет возможность вращаться в вертикальной плоскости. При визировании наводчик, берясь рукой за корпус коллиматора, поворачивает его на требуемый угол (вверх или вниз), в зависимости от положения точки наводки. Ось помещена во втулке 7, запрессованной в верхней, конусообразной, части кронштейна 6. Для устранения самопроизвольного поворота коллиматора на конец оси надета пружинная шайба 8, служащая в качестве тормоза. Пружинная шайба поджата гайкой 9, застопоренной на оси винтом 76.

Рис. 34. Коллиматор: